复印机的电子测量主要是采用万用表对其各部位的执行元件进行测量,并检测出该元件的工作情况好与坏为后续的维修做出正确的判断。而代码测量主要是采用复印机自身所带的软件程序对复印机控制和指挥系统进行检测,正确判定复印机某一部位或某一元件的故障而做理论依据。
电子测试方法
该方法主要用万用表电阻1kΩ挡来测量某些元件或线路的通断情况,用电压直流挡来测量光阻断器的通断和时序电压变化情况,用电压交流挡来测量交流电源的情况。
定影部位测试主要是当复印机数显屏上出现E000、E001、E004故障代码时进行的测试,拆除定影器后用万用表1kΩ挡测试,将两表笔插入定影灯插头内看是否导通,若“通”,说明定影灯完好,再用两表笔分别接到热动开关两端,若“通”,说明热动开关也是好的。再用万用表10kΩ挡来测热敏电阻,将两表笔插入热敏电阻的插头,这时万用表针是不动的,用手握着热敏电阻的表面,使热敏电阻的表面温度发生变化,若表针有微动,这说明热敏电阻是好的,若表针一直不动,说明热敏电阻已损坏。若经过测试,有损坏的元件应更换。若上述三元件都未损坏,这就是控制系统的问题,可用主板上的维护开关(S1)来解除上述的故障。
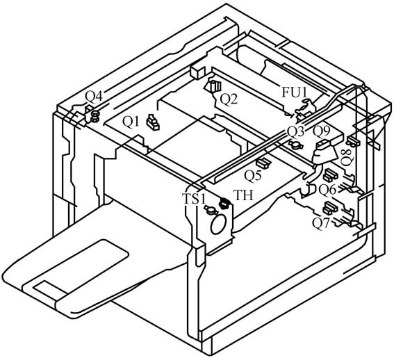
这类机器有8个光阻断器(其位置见图1)和1个出纸探测开关可用万用表测试。(1)透镜初始位量Q1光阻断器的检测,万用表调到直流10V挡(+)表笔接到主板的J311-6端,负表笔接J311-5端,在待机状态下用纸插入光阻断器“凹”型槽内盖住Q1时,表针应指示5V。若抽出纸,这时表针指示为0V,这说明Q1正常。若表针指示有其它的变化说明Q1异常应更换。(2)空白挡板初始位置Q2的检测,还是用直流10V挡,正表笔接J302-2,负表笔接J302-1,拆下Q2要使接线不断开,在待机状态下,用纸插入Q2“凹”型槽内,表针指示约5V,抽出纸表针指示0V,说明Q2正常。若表针有其他的变化,说明Q2异常。(3)预校准探纸Q3的检测,还是用直流10V挡,打开机器的前门和右侧门,放下输纸底板,由右侧门沿进纸方向把纸放到校准辊的位置,用正表笔接J306-6端,负表笔接J306-5端,在待机状态下,表针指示约5V,将纸取出后表针指示0V,说明Q3正常。若表针指示有其它的变化,说明Q3异常。(4)扫描初始位置Q4的检测,用万用表直流10V挡,正表笔接J313-3,负表笔接J313-4,在待机状态下用手移动扫描架,当扫描架在初始位置时,表针指示约5V。当扫描架不在初始位置时,表针指示0V,说明Q4正常。若有其它的指示,均说明Q4异常。(5)分离探测Q5的检测,用万用表直流10V挡,将正表笔接在J309-8,负表笔接在J309-7,打开前门,释放输纸底板,用手指拨动遮光杆。当遮光杆下移时,表针指示为0V,当遮光杆上移时,表针指示为5V,说明Q5正常。若表针有其他指示,说明Q5异常。(6)上纸匣探纸Q6的检测,用万用表直流10V挡,将正表笔接到J318-2端,负表笔接到J318-1端,取出上纸匣,在待机状态下,用手拨动遮光杆。当遮光杆上移时,表针指示为5V,当遮光杆下移时,表针指示为0V,说明Q6正常,有其他指示,则说明Q6异常。(7)下纸匣探纸Q7的检测,用万用表直流10V挡,正表笔接J318-5端,负表笔接J318-4端,取出下纸匣,在待机状态下,用手拨动遮光杆。当遮光杆上移时,表针指示为5V。当遮光杆下移时,表针指示为0V,说明Q7正常。若有其他指示,Q7为异常。(8)手送纸传感器Q8的测试,用万用表直流10V挡,正表笔接J318-8端,负表笔接J318-7端,在待机状态下,打开手送纸机构的顶部,用手指移动左侧的遮光杆。当遮光杆下移时,表针指示为5V,当遮光杆上移时,表针指示为0V,说明Q8正常,若有其他指示,则均为异常。(9)出纸探测S8开关的检测。
用万用表直流10V挡,正表笔接J313-7,负表笔接J313-6,打开机器前门,在待机状态下,开闭出纸左侧门,当出纸门打开时,磁力杆将移开传感器,这时表针指示为5V,出纸门闭合,磁力杆的磁铁与传感器接触上,这时表针指示约为0V。
拔下复印机的电源,用万用表1kΩ挡,检测直流电源板上的FU201保险管是否导通,若“通”,拔下直流电源板上J202和J203插头,插上电源并打开机器,用万用表直流30V挡,测量表1所示的电压是否正常。若正常,说明直流控制板异常或损坏,若异常,说明直流电源板损坏。
4.无交流电源
先用万用表交流250V挡测J201-1和J201-2是否有额定电压220V,若“有”,再用万用表1kΩ挡测电闸两端是否导通。若“不通”,按一下电闸再测一次,看是否导通,若仍不通,说明电闸已损坏。若电闸导通这说明电源线或线路滤波器已损坏,再检测门开关S1,用万用表笔分别接到门开关的两端,关门表针指示0Ω,开门表针指示为无穷大。若“是”,说明门开关正常。
5.对位辊不转
检测对位电磁铁CL3,把万用表调到1kΩ挡,拔下直流控制板的J303插头,两表笔分别接到J303-9和J303-10端看阻值是否约为120Ω,若“不是”,更换CL3,若“是”,再将J303插到直流控制板上,用万用表直流30V挡,把正表笔接到J303-9,负表笔接到J303-10,按“复印” 键,电压指示是否从0V变到24V,若“不是”,即直流控制板损坏,若“是”,就是其他机械问题。
6.扫描架不能向前后移动
把万用表调到直流10V挡,正表笔接J308-2端,负表笔接J308-6,按“复印”键,表针变化是否0V到5V,再把正表笔接J308-7端,负表笔接J308-6端,检测扫描架返回时,表针指示约为5V,其余时刻为0V。若“不是”,说明直流控制板损坏。若“是”,说明扫描驱动电机损坏,再用万用表直流30V挡测J402-5(+)和J402-4(-)之间电压是否约为24V。若“不是”,说明直流电未能加上,若“是”,说明直流扫描电机(PM2)损坏。
7.计数器不工作
关闭复印机主电源开关,拔下直流控制板上的J323,把万用表调到1kΩ挡,在配线侧把表笔分别与J323-1和J323-2相连,表针是否摆动。若“不是”,更换计数器,若“是”,再把J323插回直流控制板。打开复印机主电源开关,把万用表调到直流 30V挡,正表笔接J323-2,负表笔接J323-1端,按“复印”键,观察电压是否由0V变为24V,然后再变为0V。若“不是”,说明直流控制板损坏,若“是”,即为计数器损坏。
8.预曝光灯不亮
把万用表调到1kΩ挡,拔下J307插头在配线侧把表笔分别接到J307-5和J307-6端,表针指示是否为十几欧姆。若“不是”,说明预曝光灯损坏,若“是”,说明直流控制板损坏。
9.透镜不移动
先用上述方法检测透镜初始位置传感器Q1是否正常,若“正常”,再用万用表直流30V挡,负表笔接J301-2(接地)正表笔接表2列出的端子,看其各端子的电压是否正确。若不正确,说明直流控制板损坏,若正确,说明透镜驱动电机损坏。
10.拾纸失灵
用万用表直流30V挡,分别对上纸盒搓纸电磁铁CL1、拾纸电磁线圈SL1、下纸盒搓纸电磁铁CL2、拾纸电磁线圈SL2进行检测,观察电压变化是否正常,见表3。若正常,说明电磁铁或电磁钱圈有损坏,单独测试各电磁铁和电磁线圈的线圈阻抗即可确定某一个电磁铁或电磁线圈损坏。若不正常说明直流控制板损坏。
11.无色粉指示
检测色粉传感器Q9,将万用表调到直流10V挡,把正表笔接J306-2端,负表笔接J306-1端,并确保显影器中无墨粉,测试电压是否为0V。若“不是”,说明传感器损坏,若“是”,说明直流控制板异常。
12.扫描灯不亮
先检测热熔丝管(或热保险管),用万用表1kΩ挡,打开稿台玻璃,拉出扫描灯架,拆下扫描灯上的盖板,两表笔分别接到热熔丝管两端,观察是否导通。若通,说明热熔丝管正常。将两表笔接到扫描灯两端看是否导通,若表针摆动,说明扫描灯也正常。打开后盖,拔下电源插头,断开继电器输入、输出端的接线柱,把表笔接到继电器的端头上,看表针是否摆动。若表针摆动,说明继电器RL1正常,最后拔下灯控板上的J602插头,将表笔分别插入J602-1和J602-3两端,观察表针是否摆动。若不摆动,说明扫描电缆已断。若摆动,说明扫描电缆正常。把万用表调到直流30V挡,正表笔接J303-8端,负表笔接J303-7端,打开主电源开关时,观察是否有24V电压。若有,说明直流控制板损坏,再用正表笔接J303-2端,负表笔接J302-3端,按“复印”键。当扫描灯亮时,电压是否由0V变为24V,若“不是”,说明直流控制板损坏,若“是”,那么是灯调节板损坏。
代码测量
主要是采用复印机自身所带的软件程序来检测某一部位和某一元件工作状况,或是用来检测复印机内的一些电压参数和显示功能。
1.维护状态的检测
首先要让复印机进入维护状态,先打开复印机主电源,待预热灯变为绿色,取下出纸口后下侧的调试盖板,按一下直流控制板上的维护开关S1(见图2),在数显屏上显示[0],这时就进入维护状态。按“SORT/GROUP”键(即“分离/分组”键),扫描架前移进AE(自动曝光)测量点,扫描灯亮,此时,AE传感器输出电压显示在控制面板上的数显屏上。数显屏上显示的数是AE传感器实际输出电压的10倍,例如:显示[20]实际传感器输出电压为2V。
2.进行[1]状态的检测
先让复印机进入维护状态,用数字键输入[1],按“SORT/GROUP”键,数显屏显示出AE斜度的读入电压数值,也可以用VR2来调整AE斜度的读入电压(见图2)。其数显屏所显示的数值,是实际AE斜度的读入电压的10倍,例如:显示[25]实际是2.5 V。
3.进行[2]状态的检测
用这一状态来检测复印机使用的交流电机会因频率的波动使转速产生波动,结果使图像扩大或缩小。先进入复印机维护状态,用数字键输入[2],按“SORT/GROUP”键,在控制面板上的数显屏上显示电源频率数据。它显示出只是一个误差值,一般以加、减、小于1的数出现,同时它是以60Hz为基准。如: 显示[-0.5],实际频率为60+[-0.5]=59.5 Hz,如: 显示[+0.5],实际频率为60+[+0.5]=60.5Hz。
4.进行[3]状态的检测
这一检测主要是检查预曝光是否点亮和主电机的运转情况。进入复印机维护状态,用数字键输入[3],按“SORT/GROUP”键,这时预曝光灯点亮同时主电机运转,检查预曝光灯点亮是否正常,主电机运转是否正常。要退出检测只要再按一次维护开关S1或直接关闭主电源开关。
5.进行[4]状态的检测
这一检测主要是测试控制面板上所有显示灯和标识灯是否正常。进入复印机维护状态,数字键输入[4],按“SORT/GROUP”键,这时控制面板上的所有显示灯和标识灯点亮,若有不亮的说明该灯已损坏,这和该功能是否正常无关,只是不能正确标识该功能而已。这种状态一般在复印机没有任何故障代码出现,而且机器不工作状态下使用,检查是否有些功能显示不正常,而造成机器不工作。例如:卡纸灯坏,不显示卡纸信号,但机器又很正常而又不工作,这时可用该状态检测一下控制面板的显示。若卡纸灯不亮说明卡纸灯已坏,这时只要检查机器的几个卡纸部位,把被卡的纸取出,机器就会正常。
6.进行[5]、[6]、[7]状态的检测
这三种检测都是文稿规格辨识的输出电压显示,它们分别为文稿规格辨识0、1、2。进入复印机维护状态,用数字键分别输入5或6或7,按下“SORT/GROUP”键,打开复印机盖板时,数显屏上显示40或更低,关闭盖板显示18或更高,这些状态均为错误状态,应更换相应的文稿辨识传感器。其传感器的输出电压要换算,例如:显示18实际输出电压为1.8V。
自诊断码
复印机微处理器配备一个检查自身状态的机构。复印机工作时微处理器进行必要的监测,若发生错误时,便在控制面板的数显屏上显示错误代码。如出现E000,主要是“E”和“000”交替闪烁。
1.出现“E000”
表明故障范围:(1)定影器上辊的热敏电阻(TH1)接触不良或开路;(2)加热灯(H1)开路;(3)热动开关(TS1)开路;(4)定影控制器(SSR)出现故障;(5)直流控制板出现故障。
2.出现“E001”
表明故障范围:(1)热敏电阻(TH1)短路;(2)定影控制器(SSR)出现故障;(3)直流控制板出现故障。
3.出现“E004”
表明故障范围:(1)定影控制器(SSR)出现故障;(2)直流控制板出现故障;(3)定影加热灯烧坏;(4)热动开关(TSI)开路。
4.出现“E030”
表明故障范围:(1)计数器(CNT1)开路;(2)直流控制板有故障。
5.出现“E202”
表明故障范围:(1)扫描架电机(M2)出现故障;(2)扫描架原位传感器(Q4)出现故障;(3)直流控制板出现故障。
6.出现“E210”
表明故障范围:(1)透镜原位传感器(Q1)出现故障;(2)透镜电机(M3)出现故障;(3)间隔挡光板原位传感器(Q2)出现故障;(4)间隔挡光板驱动线路出现故障;(5)直流控制板出现故障。
7.出现“E221”
表明故障范围:(1)灯调节器(即曝光灯控板)出现故障;(2)直流控制板出现故障。
8.出现“E400”
表明故障范围:(1)输稿器(ADF)控制板出现故障;(2)输稿器电源出现故障;(3)输稿器传感器出现故障(4)直流控制板出现故障。
9.出现“E500”
表明故障范围:(1)分页控制板出现故障;(2)直流控制板出现故障。能够掌握这些电子测试和代码测试技术,就可以很顺利地排除该机型的故障。
文/王志坚


