多功能组件MC14578
MC14578是一种多功能组件。它是在一个器件中集成了一个高输入阻抗电压比较器、电压跟随器及四个增强型MOSFET,其结构框图如图1所示。

这些MOSFET可由用户根据需要由外部连线组成开漏输出或推挽输出电路。在Rbias端()必须接一个3.9MΩ±10%的电阻到VDD(①脚)以提供内部电路的偏置电压。
该器件工作电压3.5~14V;工作温度范围-30℃~ +70℃;比较器输入电流±1pA;静态电流10μA;各管脚有静电保护;16管脚DIP封装。
该器件主要应用于烟雾检测系统、液位或温度传感器及一氧化碳传感器等传感器接口电路、电池低电压检测电路;阈值电压检测电路及脉冲形成器电路等。
查询网址:www.motorola.com
单节锂离子电池充电器bq24012
bq24012是专为节省空间的便携式电子产品设计的锂离子电池充电器。该充电器主要特点为:小尺寸3mm×3mmMLP(QFN)封装;外围元件少、电路简单,可节省空间;内部集成了功率MOSFET及电流传感器,充电电流最大可达1A;反向漏电流保护以防止电池回流;内部集成了电流调节器及电压调节器;电压精度可达±0.5%以保证电池的充电精度;有最小电流及定时器来控制终止充电;带有安全定时器及预充处理;充电过程可由LED显示;有电池装入及取出检测;内部有短路保护。
典型应用电路如图2所示。CE为片选端(低电平有效),PG为电源良好信号输出端(低电平有效),START1及START2输出与电池充电有关的信号(CE、PG、START1、START2与系统接口来控制充电器)。充电器可用6V插头式电源供电,RSET设定恒流充电的电流。

该充电器应用于峰窝电话、PDA、MP3播放器、数码相机及网络设备等。
查询网址:www.ti.com
降压式DC/DC变换器LTC3405
LTC3405是一种工作频率为1.5MHz、输出电流可达300mA的同步整流型DC/DC变换器。该变换器主要特点:转换效率高,可达96%;静态电流仅20μA;在输入电压VIN=3V时输出电流可达300mA;输入电压范围2.5~5.5V,输出电压可由用户设定;由于采用同步整流技术,外部无需肖特基二极管;工作压差低,占空比可达100%;基准电压低,仅0.8V;有关闭控制,在关闭状态时耗电小于1μA;输出电压精度±2%;电流型控制,其负载调整率及线性调整率极好;有过热保护;采用低剖面(高度仅1mm)6管脚SOT封装;工作温度范围-40℃~+85℃。
该变换器适用于1节锂离子供电的场合,主要适用于蜂窝电话、PDA、数码相机、MP3播放机及便携式仪器等。
典型应用电路如图3所示。输入电压由1节锂离子电池供给,输出电压3.3V。输出电压VOUT与外接电阻R1、R2有关:VOUT=0.8V(1+R1/R2),如图3中R1=887k、R2=280k时,VOUT=3.3V。

查询网址:www.linear.com
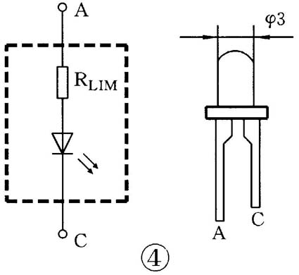
内部有限流电阻的LED
飞兆公司最近开发出内部有限流电阻的LED,其工作电压有5V及12V两种(MR5X60的工作电压为5V;MR5X61工作电压为12V)。该LED外形尺寸为3(外形与一般LED相同)。
查询网址:www.fairchildsemi.com
编者注:以上几种元器件的详细资料见本期配刊光盘中的“本期元器件资料”文件夹。

