本刊2002年12期43页刊登了《渔竿天线的制作》文章后,笔者收到许多读者询问详细安装和调整渔竿天线的方法,现将渔竿天线的安装与调整介绍如下。
在城市中,天线接收信号时容易受到各种干扰,比如寻呼台等干扰源信号大部分属于垂直极化波。所以经试验,笔者的渔竿天线选择水平安装。
一、制作安装架
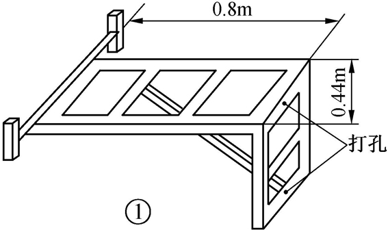
安装架的材料可选角铁或口字钢,样式及尺寸见图1,上面可覆盖一个钢丝编的垫子(小商品市场有售,最好不用铁板,风阻大,容易发出异响)。垫子用绑线固定在铁架上。用冲击钻打透阳台外壁,把铁架用长螺栓固定在阳台外面,上面还可放0.7m或2m波段车载吸盘天线,天线安装的示意图见图2。


二、天线调整
进行天线调整时,首先需要接一台频率可连续调整的发射机。接上驻波表,调到小功率(20W以下),用CW长音、AM或FM方式发射(不能用USB或SLB发射,因为接收机在单边带状态下无信号是没有功率输出的),在7.050MHz左右观察驻波,若驻波大于1.5,可上下调整频率,看在哪点频率驻波最小。若高于7.050MHz很多时达到最小,说明天线加感线圈电感小了,可加绕几圈。若低于7.050MHz很多时达到最小,说明天线加感线圈电感大了,可把天线加感线圈减几圈,使天线在7.050~7.100MHz时驻波小于1.5即可。
调整接地端PC管上的线圈圈数可调整驻波,也可尝试接地。
天线调整好后,最好套上热缩管固定,以免冬夏天气热胀冷缩,影响天线状态!
(王泽民)