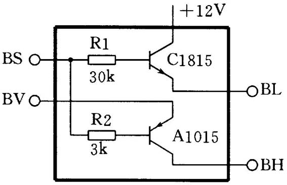
河南 卜令华:如何更换长虹CJ37A彩电的高频头,使之能够接收闭路电视中的增补频道节目?
长虹CJ37A彩电采用的高频头型号为TNV77709F2-2,与国产TDQ-2型高频头属于同一类型,用TDQ-2型增补头就可以直接取代TNV77709F2-2,但是TDQ-2型增补头不易买到,故只有用TDQ-3型增补高频头。如TDQ-38等来代换,不过,这得通过如下图所示的转换器来实现,该转换器上的BL、BH端接TDQ-3B上的BL和BH脚,BS和BV端及TDQ-3B上的其它各引脚则与底板上的对应端相连即可。

@
广东 陈备元:一台二手笔记本电脑中电源部分的场效应管K2777损坏,不知其主要参数,恳请贵刊介绍可代换的管子型号。
场效应管K2777是N沟道大功率场效应管,其漏极和源极极限耐压V\(_{DS}\)=60V、漏极极限电流I\(_{DM}\)=45A、漏极最大耗散功率P\(_{DM}\)=131W,它可以用性能参数差不多的MTP60N06或IXTH50N10等直接代换。@
北京 刘洋:一台康柏(COMPAQ)474彩显开关电源中的一型号为KA3882的集成电路损坏,请告知其各引脚功能,能否用易得的电路直接代换?
KA3882是脉宽调制开关稳压电源电路,其①误差信号放大输出、②反馈电压输入、③电流检测、④外接振荡定时电路、⑤地、⑥推动输出、⑦电源VCC、⑧5V基准电压输出。KA3882内部电路和外形结构及各引脚功能均和极易得的KA3842、CS3842和UC3842完全一样,它们可以互换使用。@
浙江 龙松:一台NEC的PC-KM173彩显损坏,经检查发现其行管C5047击穿,请问C5047主要参数值和直接代换的管子型号。
C5047即2SC5047,其BV\(_{CBO}\)=1600V、I\(_{CM}\)=25A、P\(_{CM}\)=250W,可以用2SC5570(BV\(_{CBO}\)=1700V、I\(_{CM}\)=28A、P\(_{CM}\)=220W)等直接代换。@
广东 李延启:一台进口有源音箱中的功放电路LS888-2损坏,市场上很难买到它,请贵刊介绍其各引脚功能,能否找到代用的功放电路?
功放集成电路LS888-2的①输入A负、②输入A正、③地、④输出A、⑤电源负、⑥输出B、⑦电源正、⑧输入B正、⑨输入B负。其内部电路和引脚功能均与TDA1521相同,所以可以用易得的功放电路TDA1521直接代换。@
山西 桂亚福:一台ORION 彩电中的电源厚膜电路(IC501)DEC2010A损坏,一直无法买到该IC而不能修复,请贵刊告知其各引脚功能及代用品?
ORION(欧丽安)彩电中的DEC2010A的①电压输入、②电压输出、③地、④反馈输入,它可以用目前市场上仍然很容易买到的电源厚膜电路STR450、 STR451、 STR452、 STR454、 STR455等直接代换。@
上海 陈计胜:一台进口彩色显示器中的行输出管C5143击穿损坏,无法找到其主要参数,请问可用什么样的管子代换?
C5143的主要参数BV\(_{CBO}\)=1700V、I\(_{CM}\)=10A、P\(_{CM}\)=50W、下降时间tf=0.2μs,内置阻尼二极管,它可以用2SC5521Z或2SD5296等直接代换。@
河南 陈达先:一台进口电子设备电路板上的三极管A1242损坏,烦请贵刊刊出其主要参数和代用三极管的型号。
A1242即为2SA1242,它是PNP型三极管,其BV\(_{CBO}\)=35V、I\(_{CM}\)=5A、P\(_{CM}\)=1W、特征频率f\(_{T}\)= 170MHz,可以用容易买到的2SA1012或者2SB1134等直接代换。@
浙江 高勇:一台玩具遥控汽车中的三极管 S8550 C-042、 S8550 C-043、 S8550 C-045损坏,请问以上三极管的参数以及如何代换。
S8550 C-042、 S8550 C-043、 S8550 C-045实际上均是PNP型的S8550,后缀C-042代表不同批次的同一产品。其BV\(_{CBO}\)=40V、I\(_{CM}\)=1.5A、P\(_{CM}\)=1W,它可以用2SB649、2SB892、2SA1273等直接代换。@
上海 欧阳健:请问HD-14066BP是什么样的集成电路?能否用常用的电路直接代换?
HD-14066BP为双向模拟电子开关,其① S1(开关1)输入/输出、② SW1输入/输出、③ S2输入/输出、④ S2输入/输出、⑤ S2控制、⑥ S3控制、⑦ 地、⑧ S3输入/输出、⑨ S3输入/输出、⑨⑩ S4输入/输出、输入/输出、控制、控制、压VCC。HD-14066BP可以用易得的CD4066、TC4066、HEF4066等直接代换。@
山东 左良:一台厦华S2987D彩电开关电源中的电源调整管BUZ91在维修中不慎损坏,请告知其主要参数,能否用其它三极管代换?
BUZ91是N沟道大功率场效应管,其漏极和源极极限耐压V\(_{DS}\)=600V、漏极极限电流I\(_{DM}\)=8A、漏极最大耗散功率P\(_{DM}\)=150W。它可以用易得到的K1120、K1358、K1512、MTH8N90、MTW8N80等场效应管直接代换。@
四川 吴星伟:一台长虹G29E6彩电开关电源中的光耦HS817在取下检测时,不慎把其一引脚折断而无法使用,请介绍可直接代用的光耦型号。
HS817只是一只普通的4脚光耦,其①发光二极管正极、②发光二极管负极、③光敏管发射极、④光敏管集电极。它可以用很容易买到的光耦PC810、PC817、PC817B、PC817C等直接代换。@
吉林 何利文:一台进口电子设备中有一只型号为02Z24的二极管损坏,能否用常用的二极管来直接代换?
02Z24不是普通的开关二极管,而是稳压值为24V/0.25W的稳压二极管,故不能用普通的二极管来代换,只能用2CW65或者2CW115等稳压二极管直接代换。