石英钟价格低廉,它除了计时外,还可用作其他自控装置。本文介绍的实用电路都经本人实验,线路简单,一装就成,可使初学者在实验中得到乐趣,并可获得举一反三的启发。
图1为本文介绍的各个实验制作的主电路图。图中IC为石英闹钟机芯集成电路,“+”、“-”为供电电源端。OUT为IC驱动步进电机的两个输出端中的某一个,可从机芯内一个大线圈的某一焊点处引出。A I为定闹控制端,S1为原定闹开关,拨在“ON”处时在定闹时间一到将使其闭合,将A I接电池负极,定闹输出端Ao便会输出定闹信号。S2为将IC至S1印板处割开后新增加的开关,平时闭合,S3平时断开。BL为石英闹钟上的电磁讯响器,制作时将其原接电源(GB2)正极处断开,再将其接在新增加的一节1.5V电池正极上。X为新增加的三芯插座。其余元件按图搭焊即可。

下面介绍利用图1线路所能实现的各种新的使用功能。
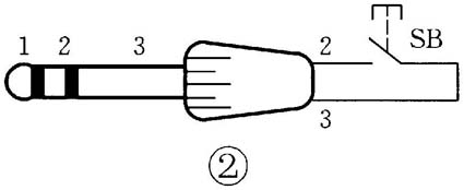
1. 声光门铃:将图2插头插入图1插座X内,按下S3会使原电磁讯响器发出响亮的定闹声,VD也随之闪动发光。BL也可用扬声器代替。

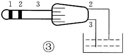
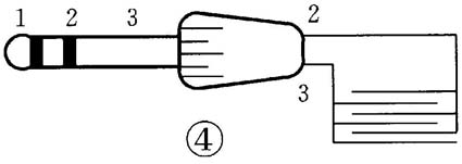
2. 水位、湿度报警:将图3插头插入图1三芯插座X内,因水是导电的,届时只要水位上升到使图3中的2、3点短路即可发出声光定闹。将图4插入X中则可实现湿度或下雨报警。


3. 磁控报警:将图5插入图1的X中,干簧管受磁铁吸合便会发出声光定闹。图6中,干簧管吸合时会使图1的A I端为高电平而不起作用。断开时则使A I经10kΩ电阻接入电源负极,发出声光定闹,与图5效果相反。

4. 温度报警:如图7所示,当温度上升时会使热敏电阻阻值下降,使图1线路发出声光定闹。如将图8中插头插入图1的X中则会在温度下降时使热敏电阻阻值上升,发出声光定闹,与上例相反。调节RP可改变温度上升或下降的声光定闹点。
5. 光照报警:图9中采用光敏电阻作传感器件,调节RP可使图1线路在光照暗到某一程度时声光定闹,可作学生看书写字时使用,以保护视力。图10插入图1的X中,调RP可使光照亮到某一点时声光定闹,可作天亮起床提醒器。
6. 断线报警:图11中,平时线未断时将IC的定闹控制端A I置为高电平而不报警。一旦线断,A I端则经10kΩ电阻接电源负极而输出定闹信号,达到断线时声光报警目的,本实验可用于防盗等方面。

7. 延时关断:将图12的插头插入图1的X中并将开关S2断开,调原石英钟定闹针使S1正好闭合,将图12的2、3点闭合,负载接通供电工作。经40~80分钟后会自动断开,视不同石英钟机芯差异而定。该例可作电器延时关断。

8. 定时催眠:年老者常有失眠现象,可将图1中S1置于“ON”,S2断开,使IC不作声光定闹,S3闭合。使用时调石英钟的定闹针使S1正好闭合,同上例一样。此时IC的某一个输出端OUT会输出每2s一个低电平脉冲,脉宽为31.25ms,在驱动步进电机的同时,还使VT1、VT2导通,使BL和VD发出每2s一次的声光“滴滴”催眠声,效果很好,也很节能。40~80min后会自动停止,与上例延时关断相同。
以上使用各功能时原S1均置于“ON”处,不使用时则拨在“OFF”处。原定闹功能及计时功能不受影响。
(戴树鸿)