摄影爱好者在室内进行静物或人像摄影创作时,摄影灯光的布置是个重要的环节,除了大功率摄影灯外,利用同步闪光灯是投资少、节约能源的选择。下面介绍两种同步闪光灯的制作和原理。
一、用电池供电的同步闪光灯
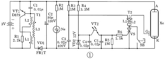
图1是利用电池供电的同步闪光灯电原理图。这种同步闪光灯可以全部自制,也可以改装已有的用电池供电的闪光灯。其工作原理是:用两节五号电池供电,在振荡管VT1与振荡变压器T1及R1构成的振荡器中,产生10kHz左右的高频振荡,升压后的振荡电压经VD1整流后,给储能电容C2充电。当电压升高至300V时,氖灯Ne发光,表示C2充电已满,可以触发闪光,但闪光管内的高压氙气在闪光管Xe的阳极A和阴极K之间加上300V左右的直流电压时是不会发出闪光的,只有在阴极K和靠近阴极的闪光管玻璃管外表的触发极G之间加上10kV左右的直流高压,使管内气体电离,才能触发闪光。

当电压升高至300V时,氖灯Ne已发光,C3经R3充电达300V。这时如按动按钮开关SB,C3上电量经触发线圈T2的初级线圈L1放电,同时经L2将电压升高到10kV左右,加在触发极G上,闪光灯被触发闪光。
一般照相机有内藏闪光灯,或在热靴上外接闪光灯,能与照相机的快门同步,但要再加多只闪光灯,就需要有同步装置,在照相器材商店一般有同步装置出售,但有时接口不一定合用。自己动手则从原理到使用都能顺利解决。
同步闪光灯指的是,当按动照相机快门时,照相机的内藏闪光灯或外接闪光灯发出闪光,利用这“闪光”同时去触发其他一只或多只闪光灯发出的闪光,这种光触发几乎没有延迟,故称之同步闪光灯。
在图1中同步装置由下列元件组成:R4和VD2提供光电三极管VT2和单向晶闸管VS所需稳定电压,C3和C4能防止干扰光线误触发,当触发闪光到来时,光电三极管VT2触发导通,为单向晶闸管VS提供触发电压,单向晶闸管就在光触发作用下导通,这与按动按钮开关SB的作用是相同的,闪光管同步闪光。
只要将任一闪光灯放在某一闪光灯闪光所及的地方,闪光灯就会被触发闪光,可呈链式反应,这在具体应用中极为实用。
用电池供电的闪光灯一般是不能使用可充电池的,因为可充电池的内阻很小,要烧毁振荡三极管。如要使用可充电池,可在电池电路中串联2.2Ω~5.1Ω的电阻,以防止烧毁振荡三极管。
二、用交流电的同步闪光灯
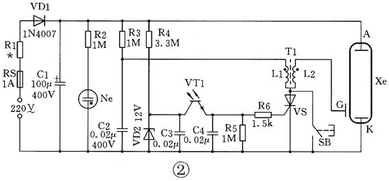
图2是用交流电直接供电的同步闪光灯电原理图,后半部分与图1完全相同,由于不用升压,振荡管VT1与振荡变压器T1就取消了,储能电容器C1的电量直接由220V交流市电经二极管VD1半波整流后提供,R1是限流电阻,也是闪光管Xe的保护电阻,它的大小还关系着二次闪光间隔时间的长短。下面分别作些说明:

1. 限流电阻:
由于C1为高压大容量电解电容器,R1限制了C1充电电流的最大值,也保护了整流二极管VD1。
2. 保护电阻:
当输入交流电压有效值为220V时,电容器C1充电电压将达到其最大值311V,闪光管在该电压时不导通发光,内阻极大;但一旦高压触发,气体导通闪光时,内阻极小,C1上电量几乎放光,普通照相机用电池供电的闪光灯,第一次闪光以后,如果再次闪光,需等储能电容器充满电,要等上6~8s时间,这时闪光管早已冷却截止,但用交流电供电的闪光灯,储能电容器很快就充满电,如尚未等到闪光管截止,电容器已充满电,甚至直接由R1提供闪光管发光电流,普通闪光管将会过热烧毁,所以R1不能太小。
3. 二次闪光时间间隔调节:
R1阻值小,时间间隔也小;R1阻值大,时间间隔就大。一般R1在200Ω~800Ω之间选择,功率在5W~10W之间。在实用中可用额定电压220V、功率为10W~40W的白炽灯代替,因其冷态电阻在600Ω~130Ω之间,根据电学公式计算,正常发光时电阻在1210Ω~4840Ω之间,完全能起到限流、保护和调节二次闪光时间间隔的作用,选择功率为10W的白炽灯时,二次闪光时间间隔约为6s;选择功率为40W的白炽灯时,二次闪光时间间隔约为3s。
三、制作须知
1. 电池供电的同步闪光灯:
振荡管要选电流在0.5A以上、耐压30V以上、放大倍数在200以上的中功率管,振荡变压器因工作频率为10kHz左右,铁芯为E型铁氧体,L1、L2和L3的参考匝数为12、24、1250。触发线圈的L1、L2参考匝数为20、600,次级线圈L2要分三段绕制,照相机内藏闪光灯的闪光管长20mm~30mm,储能主电容器的大小与闪光管、闪光指数有关,可根据需要和可能选用。光电三极管可选用红外遥控装置中的红外接收管代用,因氙灯闪光有较强的近红外线辐射,红外接收管可避免环境杂散光线的干扰。高压整流管VD1工作在高频振荡状态,不宜选用常用整流管,如1N4007之类,宜选用开关电源用快速恢复二极管,耐压1000V以上。触发电路中的C3,因待机时的电压超过300V,故不能采用普通电容,应采用耐压400V的CBB电容。单向晶闸管选用常见的1A、耐压400V以上的即可。
2. 交流供电的同步闪光灯:
制作过程虽然简单,但因直接使用220V交流市电,初学者和缺乏经验者不宜试制。有电子和电子基础的爱好者在试制过程中做通电试验时,也不能用手接触任何元器件,待市电两根电线都切断电源后,方可接触元器件,由于储能电容器可能充有电,应先行放电,才能用手操作,但即使使用短路放电方式放电,放电声音也很响,建议储能电容器经220V白炽灯放电较为适宜。
交流供电的同步闪光灯的制作,与电池供电的同步闪光灯后半部相同,因考虑到交流市电电压的波动性,储能电容器的耐压应为400V。
R1用额定电压220V、功率为10W~40W的白炽灯代替的说明,前面已有介绍,储能电容器C1充电时,白炽灯会发光,亮度应逐渐减弱到不能觉察,如亮度不减,可能C1有漏电或短路现象,不宜采用。白炽灯由亮到暗,说明储能电容器C1电已充满,等待触发闪光。
(姜立中)