摩托罗拉手机的型号多种多样,但它们的电路有很多相似之处(摩托罗拉T2688、2988、T191手机除外,它们不是真正的摩托罗拉产品)。本文主要对摩托罗拉GSM手机的各种电路的共同点做一说明,使大家能把握到对摩托罗拉的各型手机以及摩托罗拉新推出的手机电路结构的脉络。
摩托罗拉手机电源电路特点
差不多所有的摩托罗拉GSM手机的电源管理模块在电路中的编号都是U900。
摩托罗拉的电源管理模块是一个复合电路,它不仅提供开关机逻辑控制、各种稳压输出、复位信号等,还提供接收与发射的音频通道。从V998手机开始,以后生产的摩托罗拉GSM手机电源管理模块还提供SIM卡接口电路等。以电源管理模块U900为基础,形成了摩托罗拉手机独特的电源电路系统。
一、开机触发信号线路
摩托罗拉GSM手机的开机信号线路有以下特点:
1. 摩托罗拉GSM手机都是低电平触发开机,即电源开关键的一端是接地的,另一端连接到电源模块的开机触发端口。
2. 摩托罗拉GSM手机的开机信号线有两个:一个是电源开关键被按下时产生的低电平开机触发信号,经一个电阻(有的机型还要经内联插座)到电源模块的开机触发端口;另一个开机信号是从手机底部的系统连接器产生的,当旅行充电器被连接到手机时,底部接口的⑨脚产生一个开机信号,经一个二极管连接到电源开关的开机信号线上。如图1所示。

二、升压电路
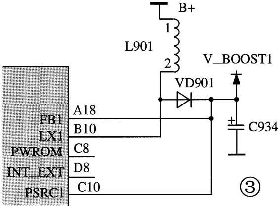
从摩托罗拉GSM328手机开始,以后的摩托罗拉GSM手机电源电路中都有一个升压电路。这个升压电路都是由1个储能电感L901(或L900),1个二极管CR901、1个大的电解电容和U900内的部分电路构成。图2是CD928的升压电路,CD928及以前的电路都基本如此。图3是V8808手机的升压电路,从V998开始,L2000、6188、2288等BGA封装的手机基本如此。这些升压电路输出的电压都是5.6V。对于开机来说,这是一个关键点,若手机无5.6V电源,则手机肯定无逻辑电源输出,手机不开机。升压电感若损坏,手机会表现出一些特殊的现象:升压电感开路,则按开机键后,手机大约有9mA左右的电流不变化:升压电感短路,则按开机键后,手机大约有110mA左右的电流不变化。


三、稳压输出
摩托罗拉GSM手机的电源模块U900都会提供一个2.75V的逻辑电源给逻辑电路供电。从V998开始,以后的U900电路同时还会提供一个1.8V的逻辑电源给中央处理器供电。若这个逻辑电源不正常,逻辑电路就不能正常工作,手机不开机。
从前面提到的逻辑电路方框图中我们还可以看到,两种不同的U900还会提供一些其他的电源。不过我们却不能在BGA封装的U900模块引脚上测量电压,只能在其外围元件上进行检测。
四、射频电源
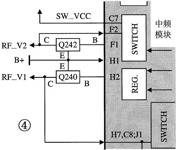
除摩托罗拉82系列及以前的手机外,从87系列手机开始,不论射频电路中的中频模块是扁平封装的还是BGA封装的,在复合中频模块电路中,都会有两个2.75V的电压调节器。它们在中频模块的控制下,将供电电子开关输出的电源B+转换得到两个2.75V的电源。一个给中频模块中的射频电路供电;一个给频率合成系统供电。
若这两个电压调节器不能正常提供2.75V电源,手机就会出现如下故障:一个是手机无接收,手机的工作电流在80mA左右维持不变;二是会导致手机的基准频率时钟电路工作不正常,引起手机不开机。所以,手机出现不开机的故障时应多注意中频模块旁的2.75V电压调节器。图4和图5表示出了扁平封装的中频模块与BGA封装的中频模块旁的两个电压调节器的方框图。可以看出它们是没有什么区别的。

在早期的单频手机中,低噪声放大器和混频器的工作电源都是直接取自中频模块电路的2.75V电源。在双频手机中,低噪声放大器和混频器的工作电源则是间接来自中频模块的2.75V电源(由一些电子器件组成开关电路——频段切换控制电路来控制射频电源的去向,手机的频段切换也由此完成)。
五、开机流程
从87系列手机开始,以后的摩托罗拉GSM手机的开机流程基本一样,只是一些元件的编号不同。这些手机的开机流程大致如下:
● 电源开关键被按下并保持足够的时间,产生一个低电平触发脉冲信号;
● 开机触发信号经电阻(或经电阻、内联)到U900的开机触发端口;
● U900的升压电路开始工作,产生5.6V的升压电源,给U900内的电压调节器供电;
● U900输出2.75V的逻辑电源(从V998开始,有一个2.75V的逻辑电源和一个1.8V的逻辑电源),给逻辑电路供电;
● U900输出复位信号,使逻辑电路和LCD复位;
● 中频模块电路中的电压调节器输出2.75V的电压(MDM-ANA-VCC或RF-V1)给基准频率时钟电路供电;
● 基准频率时钟电路开始工作,经中频模块处理后,输出一个13MHz的逻辑时钟信号给逻辑电路(从V998后的手机开始,中央处理器还提供一个13MHz的信号到U900电路);
● 逻辑电路(中央处理器)通过通信总线访问软件,若得到软件支持,输出一个开机维持信号(WATCHDOG,看门狗信号)到U900,使U900保持电源输出,完成开机。
六、SIM卡电路
大多数GSM手机的SIM卡电路基本相同,只是在具体电路上有些变化而已。早期的摩托罗拉手机的SIM卡接口电路由一个被称为“BIC”的模块提供,这个模块的编号通常为U703。
从V998手机开始,SIM卡接口电路被集成在U900模块内。SIM卡接口电路通常包含SIM卡时钟信号线、SIM卡复位信号线、SIM卡数据信号线、SIM卡电源线。
摩托罗拉手机的SIM卡接口电路可用摩托罗拉的测试指令来启动,这个指令是“38#”(参见摩托罗拉测试指令使用技巧)。启动SIM卡接口电路,可以检查SIM卡的信号。SIM卡的时钟是一个3.25MHz的信号,数据信号则需用示波器检测,它是一个矩形波信号。
七、实时时钟电路
实时时钟电路产生一个32.768kHz的信号,用以给逻辑电路提供睡眠时钟信号。同时给系统计时器提供时钟。
V998以前的摩托罗拉手机电路中的32.768电路是由中央处理器和一个32.768kHz的晶体构成,而V998及以后的摩托罗拉手机中的32.768kHz电路是由U900和一个晶体构成。
安泰信手机维修研究中心