夏、秋季节闷热的傍晚,生活在都市的人们常会心烦不安,若能在闭上眼睛后听到阵阵蟋蟀鸣叫声,顿时会使人有一种回归乡间田园的感觉,从而创造出心静意和的境界。下面介绍的电子仿真“蟋蟀”,可满足你这一奢望!
一、工作原理
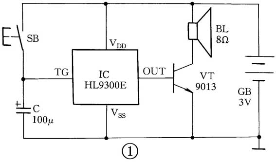
这种仿真“蟋蟀”的电路如图1所示。它主要采用了模拟蟋蟀鸣叫声专用集成电路芯片IC,所产生的鸣叫声可以达到以假乱真的地步。

当按下轻触开关SB时,电容器C充上3V电压,IC的触发端TG获得高电平信号,IC内部电路受触发工作,输出端OUT反复输出内储的模拟蟋蟀鸣叫声电信号,经晶体三极管VT功率放大后,推动扬声器BL发出“唧唧—唧唧唧……”声。人手离开SB按键后,C贮存电荷继续向IC提供微小的触发电流,使IC继续工作;当C两端的电压降低到1/2V\(_{DD}\)时,IC停止工作,BL即自动停止发声。
BL每次延时发声的时间长短,主要由C和IC的触发端输入电阻大小决定。按图选择C的容量,“蟋蟀”每次鸣叫的时间不小于40\(_{s}\)。
二、元器件选择
IC选用HL9300E型模拟蟋蟀鸣叫声专用集成电路。它采用黑胶封装形式制作在尺寸为20mm×10mm的小印制板上(俗称软包封装)。VT选用9013或3DG12、3DX201型硅NPN晶体三极管,要求β>100。
C用CD11-10V型电解电容器。BL用27×9mm或29×9mm、8Ω、0.1W超薄微型动圈式扬声器,以减小体积、方便安装。SB用14mm×14mm小型轻触式按键开关,亦可用磷铜片自行弯制。GB用两节5号干电池串联而成,电压3V。因整机静态时耗电小于 1μA,故不必加装电源开关。
三、制作与使用
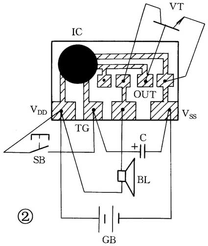
整个电路按照图2所示。以IC为基板进行焊接,无须另外再设计制作电路板。焊接时应注意电烙铁外壳必须良好接地,以免交流感应电压击穿IC内部CMOS集成电路!

焊接好的电路装入一体积合适的塑料小盒内,盒面板开孔伸出SB按键帽,并为扬声器BL开出释音孔。电路盒上面还可粘贴上一张蟋蟀图片(或者用刀刻出蟋蟀图形,并在刀缝内涂上颜色),以起到装饰美化作用。
使用时,按动一下SB按键,“蟋蟀”便会发出阵阵鸣叫声。如果电路在使用时产生自激振荡,可通过在IC的电源端跨接一只22~47μF的电解电容器(正极接V\(_{DD}\)、负极接V\(_{SS}\))。如嫌每次鸣叫的时间太短(或太长),可通过适当增大(或减小)C的容量来加以调整,直到满意为止。
(张晓东)