在人们的日常生活中,使用着多种多样的家用电器,如电冰箱、洗衣机、电风扇、微波炉、食品加工机等,它们都是直接由220V市电作为电源。这些电器的金属外壳平时是不带电的,但是在使用中由于导体绝缘破损、严重受潮或其他原因,外壳有可能带电并出现危险的对地电压,人体一旦触及,就会发生触电事故。为了保障人身安全,供电系统采取了可靠的保安措施,应用最为普遍的就是保护接地和保护接零。
什么是保护接地
图1是三相电源中性点不接地系统的示意图。虽然供电线路与大地没有直接相连,但线路导线与大地之间却存在着电容效应,这个等效电容叫作分布电容。供电线路越长,分布电容越大,对工频(50Hz)产生的容抗越小。由图可见,当电器发生漏电时,电流将通过人体、大地、分布电容构成回路,造成人身触电事故。

若将电器的金属外壳通过接地导线和接地体与大地进行可靠连接(图2),在发生触电时,人体电阻R\(_{r}\)将与接地电阻R\(_{d}\)并联,人体电阻在较低时约为1000Ω,而合格的接地装置的接地电阻应低于4Ω,显然R\(_{r}\)>R\(_{d}\),漏电电流的绝大部分将从接地电阻上分流而过,通过人体的电流会远远小于安全电流值,从而保障了人身安全。这种保安措施,称为保护接地。

保护接零是怎么回事
目前,在大多数三相四线制供电系统中,三相电源(发电机、配电变压器)的中性点都是通过接地导线和接地体与大地进行了可靠的连接。此时,电气设备的金属外壳并不直接接地,而是连接在零线上,如图3所示。这种保安措施,称为保护接零。

由图可见,当电器发生漏电时,相线通过漏电的金属外壳与零线相通构成回路。由于这一回路的电阻很小,漏电电流很大,会使接在相线上的保险丝FU熔断或引起自动开关跳闸,及时切断故障设备的电源,保护了人身安全。
保护接零要注意些什么
在保护接零系统中,一旦零线断开,不但不能起到触电保安作用,而且在三相负载不平衡时,还会引起各相电压不相等:有的低于220V,使负载不能正常工作;有的高于220V,会将这一相所接的电器烧毁,造成“群爆”事故。为此,在供电系统中采取了多点重复接地措施(图4)。在正常情况下,重复接地电阻R\(_{c}\)与中性点接地电阻R\(_{o}\)并联,使接零系统的电阻减小,进一步提高了保护能力;在零线断开时,故障电流又会通过重复接地电阻R\(_{c}\)构成回路,使保险丝及时熔断,起到漏电保护作用。

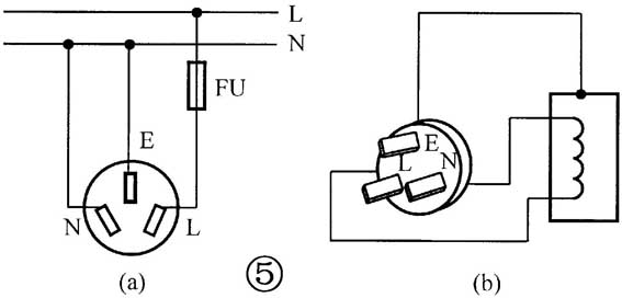
采用保护接零的家用电器,需要注意以下几点:(1)零线上不允许装设开关和保险丝;(2)在同一低压配电系统中,保护接零与保护接地不能混用;(3)用户自己接装单相三孔插座时,应按图5(a)进行接线,即:面对插座,左边应接工作零线N,右边接相线L,上边是保护零线E,保护零线必须单独接在零线干线上,绝不允许在插座内将保护零线E与工作零线N短接;(4)安装电器的单相三极插头时,必须使用三芯软线,将电器的金属外壳接在插头的上部E端,相线接L端,工作零线接在N端,如图5(b)所示。

(向群)