(例5) 故障现象:
一台群星SF-918C型数字式调幅、调频立体声收音、自动返带磁带放音高级汽车音响,AM波段收音及收音频率显示正常,FM波段收音也无问题,但其收到电台的显示频率时有时无,有频率显示时,显示的频率与接收的电台频率基本一致。
检修思路:
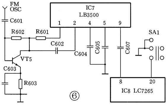
本例由于AM波段收音时显示正常,由此可以判定AM与FM显示部分的公共电路是正常的,故障可能发生在FM本振信号传输通路及显示系统的AM/FM显示转换电路上,应从这两部分电路入手进行检查。相关电路如图6所示,故障可能是这部分电路中有元件接触不良或特性变劣引起的。

检查方法:
1.判断故障的大概部位。
首先将AM/FM波段开关SA1置于FM接收状态,用万用表测量SA1开关触点接触良好。通电开机后,在故障出现时,测LC7265集成块为高电平,基本正常。由此说明,故障与AM/FM波段显示转换开关SA1无关。
2.检查FM本振信号传输通路。
(1) 在故障出现时,用一只100pF的电容分别并接在C601、C602、C607两端,故障依然存在。说明故障与这几只电容也无关。
(2) 测量VT5管的各极电压并与表5中所列的正常值进行对比,基本相同,说明故障与该管也无关。

(3) 测量数字分频集成电路LB3500各脚电压,发现其①脚(供电电压输入端)电压与正常值基本相符(LB3500各引脚功能及实测数据如表6所列),接地线也无问题,但其它几只引脚电压均或多或少地与正常值有差别,尤其是LB3500的④、⑤脚相差较多。

(4) 关机,检查LB3500④、⑤脚外接的电容C604、C605均未损坏,测这两引脚的对地电阻并与表6所列的正常值进行对比,相差较多,故初步判断该集成电路已经损坏。将一只同规格的新集成电路焊上后,故障排除。
小结:
LB3500是一种锁相环电子调谐的预分频电路,分频比为8。其作用是将FM调谐接收电路产生的本振频率转换为CMOS电路的工作频率范围。该集成电路的输出、输入端均具有缓冲级,并备有选通端以控制分频工作。当机器工作于FM波段时,A6组件③脚输出的调频本振信号→C601→VT5管基极→C602→LB3500分频→LC7265内进行计数→显示屏显示出接收电台的频率。
由于LB3500内部有软损坏现象,致使FM本振信号在此处时通时断,从而导致了上述故障。
(例6) 故障现象:
一台HT-920型数字式调幅、调频立体声收音、自动循环放音高级汽车音响,收音功能正常,数字频率显示也无问题;用磁带放音时,左声道放出的声音基本正常,右声道放出的声音轻且伴有少量的噪声。
检修思路:
据该机用户称:此机曾请人检修过,原来放音时两声道放音均无声,经修复后使用不久就出现上述故障。
HT-920型汽车音响由五块集成电路为主构成。其中:IC101(TA8127)集成电路用来完成AM、FM波段收音功能;IC201(TA7325)用来完成双声道磁带放音均衡放大功能;IC401(BA5406)集成电路用来完成对收音或放音信号的功率放大,以推动扬声器发声;IC501(LB3500)为数字分频集成电路;IC502(LC7267)为数字频率显示驱动集成电路。与本例故障检修相关电路如图7所示。从图7中可看出,放音左、右声道信号均由IC201集成电路进行处理后加至CD插座转换触点引出端,然后去音量平衡、音调控制、音量控制和功率放大电路。由此可见,右声道放音轻有噪声,故障出在R声道放音磁头→电阻R215与C288之间的电路中。检修时,首先排除磁头产生故障的可能性,然后再检查R磁头均衡放大电路。
检修方法:
1.判断故障的大概部位。
首先对磁头进行反复清洗后试机,故障依然存在,观察磁头磨损不是十分严重。由此初步判断,故障可能与磁头无关,进一步应检查R声道放音前置均衡放大电路。
2.检查R声道放音前置均衡放大电路。
检修该电路时,发现原放音均衡放大集成电路TA7325P已被更换为D7325P(TA7325P与D7325P两集成电路的外形及引脚功能完全相同,可以互换使用)。仔细检查各焊点无错焊、虚脱焊现象。
检测D7325P集成电路的各脚电压基本正常(原集成电路TA7325P各引脚功能及实测数据如表7所列)。检查其外围电路中与R声道放音有关的电路元件,未发现有损坏现象。估计可能是所更换的集成电路D7325P本身质量差引起的。
3.故障处理
重换一块正品TA7325P集成电路,放音两声道声音均恢复正常,故障排除。
小结:
造成此机放音故障的根本原因是原来所更换的集成块D7325P本身性能不良又损坏引起的。
现在市场上元器件的质量良莠不齐,价格也高低不等,购买时应注意。
该机C283、C284为磁头放音信号耦合电容,磁头放音信号经这两只电容耦合后送至放音均衡放大集成电路TA7325P的①、⑧脚,经该IC放大、对从磁带上拾取的信号进行低频补偿,使高、中、低音进行均衡以后从③、⑥脚输出,经耦合电容C287、C288及R289、R215电阻后送至功率放大电路。其中耦合电容C284、C283、C287、C288出现异常时,有时也会引起上述故障,对此也不容忽视。
(例7) 故障现象:一台SS-103HP型数字式调幅、调频立体声收音、自动循环放音高级汽车音响,收音正常;用磁带放音时,一个声道正常,另一个声道有噪声,声音层次不清晰,高音明显不足。
检修思路:
这种故障发生的部位主要在磁头与放音均衡放大集成电路IC801组成的电路中。图8为这部分电路原理图。从现象上看,有一个声道放音正常,故磁头磨损或太脏的可能性基本上可以排除。该机均衡放大器由IC801(KIA6225P)为主构成,若该IC外围补偿网络中的电容C801、C802容量值变大时,就会使高频成分明显衰减,由此就会导致上述故障。检修时,可从磁头声道转换开关处入手查起。
检修方法:
检查电容C801、C802。结果发现,当用一只1000pF的电容并接在C802两端时,故障消失。拆下C802电容进行检查,结果发现其容量变小几乎无容量。更换C802后,故障排除。
小结:C802是并接在磁头上与磁头线圈电感组成LC谐振回路的高频补偿电容。该谐振回路的谐振频率是设计好的,且左、右声道相同。当C802容量变小后,就会使谐振频率发生变化→高频分量将得不到提升→重放的声音高频特性变差,从而导致了这一声道放音异常。
(例8) 故障现象:
一台SS-103HP型数字式调幅、调频立体声收音、自动循环放音高级汽车音响,收音功能基本正常,数字频率显示也无问题;但用磁带放音时,放出的声音中夹杂着“喀喀”断续的杂音。
检修思路:
从故障现象分析,估计电路本身基本没有大的问题,重点应放在电路以外的部分,可先由各功能开关接触是否正常入手查起。
检修方法:
1.判断故障的大概部位
(1) 首先检查各开关,接触良好,磁头接线及屏蔽均连接牢靠,无虚焊和松脱现象,机心也无异常。
(2) 怀疑故障是电机引起的,断开电机电源(可焊下电机的任一引脚),然后插入磁带将机器置于放音状态,用手快速连续转动飞轮让其放音,“喀喀”声不再出现。由此说明,故障是由电机本身造成的。
2.故障处理方法
为了搞清该电机为什么会引起这种故障,将电机拆开来进行观察,结果发现其碳刷与集流环之间有很多黑色碳粉灰尘,集流环变成了黑色,而其它都正常。估计故障就是由这些碳粒粉尘造成的。
用无水酒精(含量95%以上)棉球清洗掉黑色粉尘后,再按与拆卸相反的顺序将电机重新安装好,通电运转正常,“喀喀”声也没有再出现,机器放音正常,故障排除。
小结:
新机使用时该机不曾出现这种“喀喀”声,是因为碳刷未磨损,没有碳粒产生。但使用一段时间后,就开始出现轻微的干扰声,使用的时间越长,碳粒产生越多,干扰就越厉害。干扰的实质是:由于碳粒粉尘在碳刷与集流环间隙中产生火花放电造成的。清除了粉尘,就消除了放电火花,从而也就消除了产生“喀喀”声的干扰源。
(孙余凯 吕颖生)