电脑CPU的小型散热风扇损坏后,通常是更换一只新的,损坏的则丢弃不顾,但对喜欢探究一切的爱好者来说,是一个学习实践的机会。
拆开风扇电机时,要注意勿将金属塑料件弄断,先查看风扇的两个平面,将有不干胶粘贴纸的一面揭开后,可见到转轴为塑片卡簧固定,外围为金属圆管,用力将此圆管顶出后,风扇与底座即脱离,贴有元件的印制板即暴露出来,在印制板上一般有两只三极管,两片电阻,绕在铁芯上的两个线圈绕组,一只霍尔开关集成电路,有的还有电容和二极管,其典型电路如图1、2所示。


风扇电机的旋转原理为:
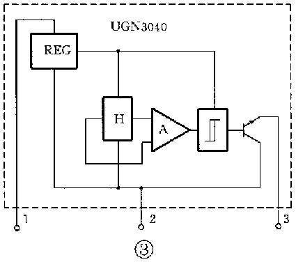
一体化风扇叶片内框安装有软性四极磁环,这部分是转动部分,印制板、绕有两组线圈的铁芯为固定部分,所以可以认为该电机属旋转磁极式电机。利用直流12V、0.05A或0.09A电流驱动绕组,其过程是个动态过程,电流换向的控制由三端霍尔开关集成电路IC担任,其内部框图如图3所示,其1端接12V电源正极,2端接地,3端为集电极开路输出,所以图1、2中R2不可少。当IC表面有某磁环极的磁场通过时,霍尔电路工作,霍尔电流经放大、整形驱动开路集电极3端,使其呈低电平,VT2截止,VT1导通,L1中有电流流过,铁芯有磁性;当磁环和叶片转过一定位置后,IC上磁场极性改变,IC的3端为高电平,VT2导通,VT1截止,L2中有电流流过,铁芯产生相反的磁极,外磁环在不断变换极性的铁芯产生的磁力作用下,不断旋转,当它到达动态平衡时,风扇就会维持一定转速旋转。
了解CPU风扇原理后,对于风扇故障的解决也就相应容易些了。下面笔者向大家介绍CPU风扇常见故障的3种维修情况:
1.积尘:
电脑在尘土较多的环境中使用,CPU散热槽中和风扇叶片周围常积聚较多的尘土,相隔一定时间应拆开用毛刷清除,以保证风流畅通,减轻风扇负载。
2.发声振动:
CPU风扇的机械结构简单,转轴又处于高速旋转状态,一旦转轴与轴承间润滑不足,会增大磨损,使轴与轴承间间隙增大,造成抖动发声,有时甚至比开关电源的风扇声响更大,在发声初期应立即打开不干胶贴纸,在风扇轴孔处加少许润滑油,可减轻发声,若轴孔间隙不太大,则可继续使用,否则,风扇会抖动剧烈而不宜继续使用,但可供修理时作配件。
3.不转:
CPU风扇不转会造成CPU散热不良而迅速发烫,以至电脑发生故障,出现此情况后,使用者多半是立即更换风扇。其实也可进行应急修理。根据上述原理介绍,风扇电路元件量少,故障较易判断检查,以图1为例:先测量两线圈L1、L2是否开路,在风扇受过外力撞击后,线圈在焊接点根部易断,可仔细用细漆包线焊接;其次检查霍尔开关电路IC,有些风扇无保护二极管VD1,当电源反接时会烧坏IC,过高的电压冲击也会损坏IC,而三极管损坏机会则较少。判断IC的好坏可用万用表测试:万用表低压直流电压挡测IC3脚的对地电压,用手缓慢转动叶片时,若3脚电压会在0V到0.7V之间作周期性变化,则属正常,如无变化,则IC已损坏,可用市售的UGN3040代换(见图3)。要注意更换元件的尺寸大小,务必使IC埋入印制板凹槽中,使霍尔元件的平面更靠近磁环,必要时可用刀将印制板凹槽开大些。两线圈接头应接在厚焊接点上,如接反了会造成风扇反转,并使转速减小,所以请大家要注意风扇叶片座上标明的风扇转动方向及风向箭头。

(姜立中)