编者按:
表面贴装技术(SMT——Surface Mount Technology)和贴片式元器件(SMD/SMC)的使用日益广泛,为此本刊从这一期开始较系统地介绍常用片状元器件的基本常识、性能和使用注意事项,供广大设计开发人员、维修人员和无线电爱好者参考。具体安排如下:
第7期:贴片式电阻器
第8期:贴片式电容器
第9期:贴片式电感器
第10期:贴片式二极管
第11期:贴片式三极管和场效应管
第12期:贴片式电源IC
欢迎您对此系列文章提出建议和要求,同时也欢迎有SMT生产和SMD使用经验的技术人员踊跃投稿。
征稿范围如下:
1. 用SMD替代传统穿孔式元器件进行电路设计和产品开发时应注意的问题。
2. 如何选用SMD。
3. 传统元器件与SMD之间的代换方法和资料。
4. 其他实用经验和相关资料。
来稿请将文字、插图和表格分开,字数2000字以内。L
贴片式电阻器是贴片式元器件中应用最广的元件之一。常用的电阻器有矩形片状电阻器、跨接线电阻器、微调电位器(半可变电阻器)、多圈电位器、取样电阻器(限流电阻或电流检测电阻)及热敏电阻器。本文将介绍这些元件的基本参数、结构及应用中注意事项。
一、矩形片状电阻器
矩形片状电阻器(以下简称片状电阻)的型号并未统一,生产厂家各不相同,但型号中的参数(如尺寸、允差、温度系数、包装方式)基本上是一样的。在应用时应了解它的参数,在购买或订货时有用。这些参数也是片状电阻的基本知识。
片状电阻的参数有:尺寸代码、额定功率、最大工作电压、额定工作温度、标称电阻值、允差、温度系数及包装形式。
按照日本工业标准(JIS),片状电阻尺寸分成7个标准,如表1所示。尺寸代码由4个数字组成,有两种表示方法:英制及公制,目前常用的是英制代码。以0805为例来说明:08表示0.08英寸(长度尺寸);05表示0.05英寸(宽度尺寸)。其对应的公制代码为2012,即长度为2.0mm,宽度为1.2mm。为对不同代码的尺寸有一个大小的概念,表1画出了实际尺寸大小。在目前应用中,0603、0805用得最多,1206用得渐少,而0402用得渐多,1206以上的用得极少。
有些生产工厂用英制尺寸代码的后两位数来表示,如03、05、06分别表示0603、0805及1206尺寸代码。
不同尺寸的片状电阻的额定功率与最大工作电压及额定工作温度如表2所示。
一般的片状电阻的允差有4级:F、G、J、K,其允差分别为±1%、±2%、±5%及±10%。其中F级及G级为精密电阻,J级及K级为普通电阻。
一般厚膜型精密电阻的温度系数为25ppm/℃~±100ppm/℃,而普通电阻为±200ppm/℃~±250ppm/℃。
不同精度等级、不同尺寸大小的电阻值范围不同(不同工厂也不相同)。一般从1Ω~10MΩ,小尺寸的电阻范围小一些,如100Ω~2MΩ。±5%精度的各阻值按E24标准标注电阻阻值。E24标准如表3所示。各种电阻按表的标准值乘以倍因子,如0.01、0.1、100等。
允差为±5%(J级)的电阻采用IEC(国际电工委员会)代号表示,如表4所示。
片状电阻包装有两种:散装(一般用聚乙烯塑料袋装,每袋1000只);纸带卷装(适合SMT设备装配,每型5000只)。
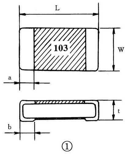
片状电阻以陶瓷(氧化铝)为基体,沉积一层电阻层,外层为保护层,两端做成供焊接的电极,如图1所示。按其电阻层来分可以分为厚膜电阻及薄膜电阻。厚膜电阻采用金属玻璃釉电阻浆料经烧结而成;薄膜电阻用真空镀膜工艺制成。其各部分的尺寸及允差如表5所示(不同工厂生产的电阻,尺寸上略有差别)。可以根据表5的有关尺寸来设计印制板上的焊盘尺寸。
二、片状跨接线电阻器
片状跨接线电阻器也称为零阻值电阻,专门用于作跨接线用(便于用SMT设备装配)。它的尺寸及代码与矩形片状电阻器相同。其特点是允许通过的电流大:0603为1A,0805以上为2A。另外,该电阻的电阻值并不为零,一般在30mΩ左右,最大值为50mΩ。
三、片状微调电位器
片状微调电位器也称为片状半可变电阻器,是一种常用的调整元件。在电路中用于频率、放大器增益的调整或确定分压比或基准电压的调整等。这里介绍两种典型产品,如图2、图3及图4所示。图2是两种碳膜敞开型,而图3、图4是两种金属膜封闭型。图3与图4的差别仅仅是引脚的结构不同:图3的引脚向外,图4的引脚向里。图2~图4的输出特性都是线性的,两种不同结构特性如表6所示。它们的阻值基数是1、2、5。如常用的阻值是10kΩ、20kΩ、50kΩ及100kΩ等(阻值范围一般为100Ω~2MΩ)。
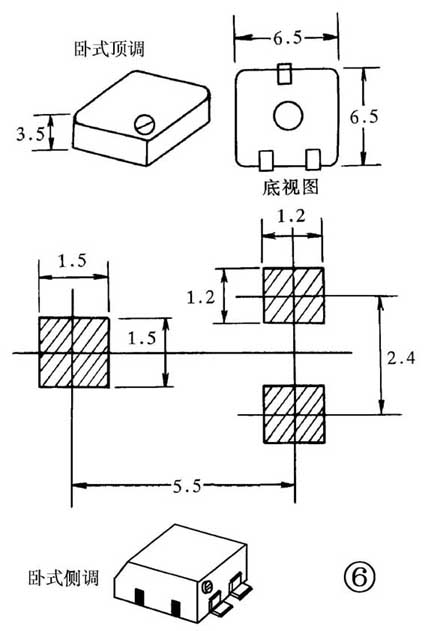
四、片状多圈电位器
这里介绍两种典型的多圈电位器:立式及卧式,分别如图5及图6所示(立式及卧式顶调的焊盘尺寸也在图中示出)。它的标准电阻基数与微调电位器相同,但常用的为100Ω~1MΩ。其主要参数有:电阻值的允差为±10%;最小电阻值为1%或2.0Ω(取大值);接触电阻为1%或3Ω(取大值);绝缘电阻为100MΩ;耐压为600V;立式及卧式侧调的调节范围为11圈,而卧式顶调的为2.5圈;额定功率为0.25W(85℃);温度系数为±100ppm/℃。
五、片状取样电阻器
片状取样电阻也称为电流检测电阻或限流电阻。它是一种小阻值大功率电阻,它串接在电路中(如接在功率三极管的发射极与地之间,以测其电阻的压降值间接来检测电流的大小。它常用于电池充电器、电流检测放大器(或电流检测器)、过流保护器等。例如,图7是一种电流检测放大器电路(仅画出主要部分),图8是电池充电器电路。其中R\(_{S}\)为取样电阻,起到电流检测及控制作用。
为了检测到较大电流,并且使电阻上的损耗较小,取样电阻的功率较大(1.5~2W),电阻值较小(0.005Ω~0.05Ω)
这里介绍一种2W的取样电阻,其尺寸为6.5(长)×3.2(宽)×0.5(厚)mm,如图9所示。常用的阻值有0.01Ω、0.015Ω、0.02Ω、0.025Ω及0.05Ω。电阻阻值的允差为0.5%~1%,温度系数(0~60℃)为25~30ppm/℃。
六、片状NTC热敏电阻器
片状NTC热敏电阻与通孔式热敏电阻一样用于温度补偿、温度测量及控制。例如,充电器中检测电池的温度以防止电流过大、温度过高而造成爆炸。在运算放大器反馈电路中串入热敏电阻,可补偿传感器受温度影响造成的温度误差,如图10及图11所示。

片状NTC热敏电阻与片状电阻一样有尺寸代码、阻值、允差、功率及工作温度范围,但它还有温度特性的B常数(或称B值。在我国此常数也称为K值)。片状NTC热敏电阻的标称电阻值是25℃时的电阻值;常用的尺寸有0805、2012及3216(但尺寸小的热容量小,反应较灵敏),阻值范围有470Ω~150kΩ;允差为±10%;B常数范围为(3000~5000)K,B常数的允差为±3%。例如,尺寸代码为0805的NTC热敏电阻;25℃时为10kΩ,其阻值允差为±10%;B常数3650K,允差为±3%〔B=ln(R\(_{T1}\)/R\(_{T2}\))/(1/T1-1/T2)〕;T1=25℃,T2=85℃,T1、T2用绝对温度(K来表示)。R\(_{T1}\)为25℃时的阻值,R\(_{T2}\)为85℃时的阻值);功率为1/10W(25℃);工作温度范围-25℃~+85℃。
B值计算举例:某NTC热敏电阻在25℃时阻值为5kΩ,在85℃时为0.69kΩ,则B值为:
B=ln(5/0.69)/(1/298.15-1/358.15)
=3525(K)
只要测量出25℃时的阻值及85℃时的阻值,就可计算出B值。
七、应用指南
1. 片状电阻的阻值可以采用0402最小尺寸的电阻以求得印制板最小尺寸,但要注意电阻之间的距离要满足图12的要求(或根据SMT设备的拾放头的要求)来确定。
2. 0402或0603一类的电阻功率较小,若流过电阻的电流稍大,或阻值较大,应采用I2R来核算,一般计算出来的I2R值应小于1/2额定功率为好。
3. 小尺寸的电阻(0805以下)其顶面无阻值代号,在生产时要注意。
4. 跨接电阻的电阻值并非为零(有几十mΩ),所以它不能用于地线之间的跨接,以免造成不必要的干扰。
5. 一般器材公司备有的片状电阻的精度为±5%(通用电阻),若电路上要求精度±1%或±2%的精密电阻时往往需要订货供应。所以设计时若无必要,尽量不采用精密电阻。
6. 电阻的焊盘尺寸不要过大,以避免焊锡过多而造成冷却时收缩应力过大(有时会造成电阻断裂)。
7. 微调电位器的引脚有向里或向外两种,在设计印制板时,其焊盘的尺寸应有兼容性。因为在供货时有时有引脚向里的品种,有时仅有引脚向外的品种,若设计焊盘尺寸时有兼容性,就不会因无货而暂停生产。
8. 敞开型半可变电阻器不适合波峰焊,而封闭型半可变电阻器可用于波峰焊。另外,敞开型半可变电阻器是没有旋转停挡的。当转过规定角度后,滑臂脱离电阻层,就没有输出了,这一点要特别注意。其次,封闭型是金属膜电阻层,其温度稳定性比碳膜电阻层(敞开式)要好得多。
9. 手机用的电池组中往往串接热敏电阻以防止过充、过放。这种热敏电阻是正温度特性的(PTC),过充或过放时温度过高,造成PTC热敏电阻阻值大增而达到保护目的,不能用NTC热敏电阻代替,它会损坏电池的。
10. 目前市场上供应的片状电阻是以厚膜电阻为主的。从性能上来讲,片状薄膜电阻的性能要比厚膜性能好:其精度可达F、G级;温度系数也可达到±25~100ppm/℃;高频特性也较好。需要片状薄膜电阻是要专门订货的。
11. 片状电阻器的额定功率指的是70℃时能承受的电功率,当环境温度超过70℃时,需要降功率使用。
12.常用的贴片电阻功率都比较小而大功率电阻一方面体积大,同时货源也难求,必要时可以采取双片并联的方法,两片电阻叠加焊接,这样不增加面积,而功率可提高一倍,不过要注意并联的两只电阻分别应为原阻值的一倍,最好是同一规格。
13.在设计产品时,有时需要用到一些“非系列”的阻值,或高精度的电阻,而市场上往往不容易买到,一般可选用以下方式来迁就解决:
(1)采用双电阻并联形式,用大于原阻值电阻,逐一测量分类,取并联电阻符合的两只,并联使用。
(2)市场上往往可以找到一些精密型电阻,它的精度可准确达四位数,如:19.62k 0.5%。另一种是1%精度的电阻,标称是:20k1%。
当你所需要的电阻值小于上述时,利用上述精密电阻,再选用一只互联电阻,来满足要求。
14.取样电阻在通信机上经常用于功率发射级过流保护,一来因功放管价值昂贵,再者受天线回路的影响比较大,当外接天线断开时,功效管电流猛升,极容易烧坏,采用取样电阻,可取出电压降作为控制。
15.NTC负温热敏电阻在防盗报警系统,被用于红外探测器的温度补偿电路,当气温上升时,红外传感器的灵敏度下降,探测距离相应下降,但由于负温热敏电阻作为反馈电阻,温度上升时阻值减小,导致放大器增益提升,从而达到补偿的目的。







