河南 郭丰强:我在制作本刊2000年第11期第39页声光、触摸三控灯时,不知道电源变压器次级电压是多少?VT型号是什么?另外CD4069用HD14069能代替吗?它的各引脚是什么作用?

我查看了你所说的文章,电源变压器确实没标明次级电压数值,但我仍从后边接的是7805三端稳压器可以分析出电源变压器次级电压在9V左右。因三端稳压器实际应用中输入电压减去输出电压在2.5V~3V为宜,所以接7805的输入电压可在8V左右,取标称系列则可用9V的变压器。变压器的功率在10W左右。文章中VT的型号可用9013或8050等较大功率的NPN型三极管。文章中的CD4069是CMOS六反相器集成电路,可用HD14069代替,管脚排列见附图。
@
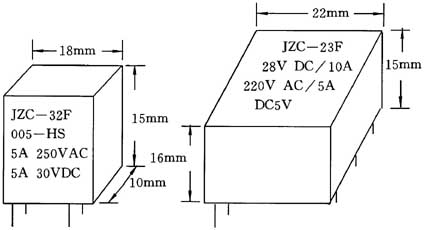
山东 刘增平:在《无线电》2000年第1期“初学者信箱”中谈到小型继电器的接点电流大多为1A,耐压最高也不超过30V。请问“趣味实验室”套件(详见1999年第8期第37页)中的5V继电器与文中所说的继电器结构尺寸相似,能否用它控制电压为220V的负载?

继电器触点的耐压是使用继电器时经常遇到的问题,尤其是想控制220V负载的,应当选择触点耐压大于或等于220V的继电器,有很多继电器表面上标明了触点电压值,但没有标明耐压值,这时应当向售货员询问该继电器的触点参数或查找相关资料,不能随便使用一种继电器去控制220V的电器,因继电器触点间距、介质材料都和耐压有关,如超过额定值触点就会被烧坏,或将介质材料击穿,甚至出现设备漏电现象。你说的5V继电器不宜去控制220V的负载。附图介绍了两种适合220V负载使用的继电器供选择。
@
无论哪个线绕电阻坏了,市场上都购不到同型号的,只能用标称系列电阻串、并联的方法代用,如果是阻值较小的线绕电阻,可用直径0.1mm以下的漆包线绕制代用。
选购一只比较好的万用表,首先要看它的挡位设置,一般有交流电流挡的万用表都是比较好的万用表,另外就是要看万用表的性能参数,常用的几个参数含义如下:“ ”表示防外磁场的能力,方框中的数字越小,受外磁场影响引起的误差越小。较好的万用表应不大于三级。“-2.5”表示直流电流和电压挡的准确度是满偏度量程的±2.5%。较好的万用表应小于或等于2.5(这个数值越小越好)。“~4.0”表示交流电压挡的准确度是满度量程的±4.0%。较好的万用表应小于或等于4.0(这个数值越小越好)。“20000Ω/V”、“4000Ω/V”分别表示直流电压挡和交流电压挡的灵敏度,这两个数值越大越好。较好的万用表应大于或等于上列各数值。
另外在选购万用表时还要看万用表的表针平衡情况,好的万用表,在水平和垂直放置时表针在刻度线左边的静止放置应相差不多。再有就是要看表针动态的情况,即表针走针时要缓慢、平稳,每次表针向右走过去后回来停在左边的位置都应该一样。如果有条件的话还应当找一些标准电阻和比较准确的交直流可调电压源,用万用表测量一下,看表针在刻度线指示的数值是否和标准值相同,每挡都和标准值相同就是较好的万用表。例如MF14型万用表就是性能比较好的万用表。@
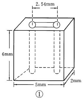
“跳线”实际上就是一个两孔的短路插座,如图1所示,依靠它在插针上的不同位置,改变电路的结构。它的作用相当于一个单刀双掷开关,与开关的区别主要是开关用于经常要切换的电路中(如电源开关),而跳线则用在不需经常切换的电路中。跳线的优点就是体积小、价钱便宜、不容易被误移动。
@
我们可以举一个最简单的例子,如图2所示,这是一个用跳线来切换扬声器BL1和BL2发声的电路,当跳线插在1、2两根插针上时,BL1发声;当跳线插在2、3插针上时,BL2发声。
插针和跳线都有成品出售。@
山西 郝文:指针式万用表什么时候应更换电池?
指针式万用表的电阻挡是靠表内电池供电的。比较简易的万用表只有一组(或一个)电池,好一点的万用表有两组电池。只有一组电池的万用表,当把电阻挡拨在最佳挡位(一般是R×1挡,也有R×10等标志的)时,将两根表笔短路(金属指针碰在一起),调节欧姆调零旋钮,如果表针指不到欧姆刻度线的0位(表盘右边),则应更换电池。
如果表内有两个电池(一个是积层电池,一个是干电池),判断积层电池该不该换,应把万用表选挡开关拨在最高电阻挡(一般为R×10k),操作方法与上述一组电池的万用表相同。

