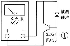
1.硅堆极性的判别
判别硅堆极性的方法见图1。将万用表欧姆挡置于R×10k挡位,选用一只β≥50的小功率硅三极管3DG6,将高压硅堆接在三极管的集电极和基极之间,万用表的红表笔接三极管的发射极e,黑表笔接三极管的集电极c。如果万用表指针指在满刻度的1/4左右,对换表笔后指针指向无穷大,则第一次测量时,黑表笔所接的硅堆一端为正极,另一端为负极。这种方法也可以用来判断硅堆的好坏,如果两次测得的阻值均较大或均较小,说明被测硅堆已损坏。

2.硅堆整流性能的判别
将万用表置于直流250V挡,按图2将硅堆与万用表串联,然后将它接入220V市电电源上(注意安全)。因为硅堆具有整流作用,此时万用表测得的是整流后脉动直流电压的平均值。该电压反映了高压硅堆的整流性能。附表列出了几种常用硅堆的正常电压值。如果实测结果与表中所列相差较大,说明被测硅堆质量有问题,应予更换。


(倪耀成)