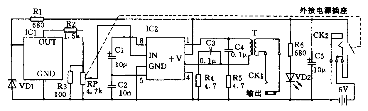
一、电路构成
便携式速效治疗仪整机电路主要分为“音频信号发生器”、“功率放大器”及“升压输出电路”3个部分,电路如附图所示。

下面就各部分电路的组成及元器件的使用进行简要分析。
1.音频信号发生器
该电路是由集成电路IC1、稳压二极管VD1及电阻R1组成。VD1与R1组成稳压电路为IC1提供2V直流电压;IC1在接通电源后即可输出幅度为1V的音频脉冲信号(频率为500~2000Hz)。
2.功率放大器
该电路是由功放集成电路IC2、电阻R2~R5、开关电位器RP、电解电容C1和涤纶电容C2组成。R2、R3与RP的作用是调节放大器的输入信号电平;C1、C2是去耦及负反馈电容。C3、C4和R4、R5的作用是改善输出波形。
3.升压电路
该电路由升压变压器T组成。此外,C5是电源去耦电容,R6和发光二极管VD2组成电源指示电路。CK1是Φ3.5的输出插座。CK2是外接电源插座。
二、工作原理
当整机装入电池,打开电源开关后,音频信号发生器输出500~2000Hz的音频脉冲信号,经电平调节后送到功率放大器,经功放推动及升压电路升压后输出。输出的音频脉冲信号通过治疗触头(内部装有由稀土钕铁硼制成的具有高强磁力的磁片)作用到人体的不同穴位上,即可达到防病、治病的功效。输出电平由开关电位器调节,并由旋钮上的刻度表示。
三、技术指标
●输出波形:音频脉冲波
●输出频率:500~2000Hz
●输出电压:0~50Vp-p
●负载电阻:500Ω
●输出功率:700mW
●磁感应强度:0.1~0.3T
●电源:DC6V(5号电池4节)并备有外接电源插座
●耗电功率:约l.2W
●工作温度:5℃~40℃
●工作湿度: ≤80%
●外形尺寸:150mm(W)×68mm(H)×25mm(D)
四、治疗触头
便携式速效治疗仪的手持式治疗触头Φ3.5插头、触头柄、电极片、磁片和软电线5部分组成。触头与速效治疗仪间的连接采用Φ3.5插头,在应用中,插头与软电线是经机械压接后注塑成形的。触头柄采用橡胶材料注塑,表面光滑,无毛刺,手感舒适。
电极片采用厚度为0.3mm的不锈钢薄板一次冲压成形。由于触头在使用中需包裹纱布后沾水,应保证与触头间的配合,防止水从电极片与触头柄间渗入内部,锈蚀引线和磁片。
磁片采用钕铁硼稀土永磁材料,其尺寸直径为6.5mm、厚度为5mm,磁片应镀铬以增加防腐蚀能力。磁感应强度为0.1~0.3T。
触头的引线部分是特制的螺旋软电线,为了增加引线的抗拉强度和抗折能力,在引线内导体合线时,加入纱线。
在触头组装时,首先应将螺旋软电线穿入触头柄中,并在距端头约4cm处打一个结,防止由于在使用中的拉扯造成断线。
将螺旋线的导体焊在电极片的侧边后,将磁片用胶粘在电极上。首先应注意的是,一定要先焊后粘,防止因加热引起磁片退磁;其次是应注意磁片的极性,保证触头表面的磁场一个为S极,另一个为N极,并在电极片的中间位置。
组装完后应进行检查,检查的内容为通断性和磁感应强度。通断检查可用万用表欧姆挡测量香蕉插头与电极片之间的电阻;磁感应强度测量应使用毫特斯拉计,将霍尔探头紧贴在触头电极片表面取最大值。(科峰)