中学物理课“电场”教学中,常用“验电器”检验物体是否带电,并判断所带的是正电荷还是负电荷。由于常规“验电器”很容易受温度和湿度的影响,效果较差。我在长期的教学实践中自制了“验电器”,已试制过三代产品。第一代用电子管,第二代用半导体三极管制作的“验电器”均不理想。第三代采用场效应管等元件制作的“验电器”,无论是冬天、夏天、晴天、雨天使用效果都很好。
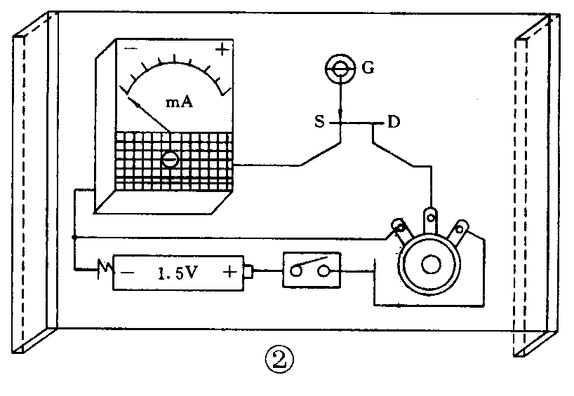
“电子验电器”的电路图见附图。

场效应管无外加电场时,漏极D与源极S之间的电阻值接近一个定值数(10kΩ)。将场效应管的D、S两极与灵敏电流计、可变电阻RP、电源组成一个闭合回路。闭合电源开关S后,在电源电压作用下,漏极D与源极S间形成漏极电流I\(_{D}\),适当调节RP,使ID=l/2I\(_{g}\),(Ig为灵敏电流计的满偏电流),指针将停在满刻度的中间位置。然后将带电体靠近场效应管的栅极G,不需接触。若带电体带负电荷,在它的周围空间形成的电场使场效应管的栅极G立即发生静电感应,形成负电荷的电场,因而导致场效应管漏极D与源极S之间的电阻值增大,漏极电流I\(_{D}\)减小,灵敏电流计指针便向左偏转一个角度,因此,必须记住,指针向左偏,被检验物体带负电。若带电体带正电荷,在它的周围空间形成的电场使场效应管的栅极G立即发生静电感应,形成正电荷的电场,因而导致场效应管漏极D与源极S之间的电阻值减小,漏极电流ID增大,灵敏电流计指针便向右偏转一个角度。特别注意:若将带电体移走后,指针不能回到中间刻度位置,则说明场效应管的栅极G上已有静电荷存在,必须用手触摸栅极G或将栅极G接地,使栅极G上的静电荷入地,才能使指针回到中间位置。实验结束后应断开电源。
场效应管选用3DJ6、2SK163、2SK168、2SK184、2SK192、2SK241、 3SK74、3SK83、3SK123均可,灵敏电流计选用市场上的小表头(几元钱一只),直流电阻R\(_{g}\)约为225Ω,满量程电流Ig约为1.1mA,用电烙铁截去表头的刻度部分,使之完全透光,RP为4.7kΩ旋转式的电位器(可变电阻),作分压电阻,电池用一节5号电池,电压为1.5V左右,S为小纽子开关。全部元件固定在一块长12.5cm、宽8.5cm的透明无色有机玻璃板上,板脚高3cm,用三氯甲烷粘接。栅极G用一颗长3cm的螺钉固定,场效应管固定在有机玻璃的下表面,其它元件均固定在有机玻璃的上表面,线路在下表面连接,如图2所示。

全部元件用电烙铁焊接完好后,装上电池,闭合开关S,调节电位器RP使灵敏电流计指针停在刻度的中间位置,然后将塑料三角板任意一角尖与自己的头皮摩擦几下,塑料三角板尖端带负电荷,将它靠近栅极G(不接触),电流计指针左偏;另用玻璃棒与丝绸摩擦后,玻璃棒上带正电荷,将它称近栅极G(不接触),电流计指针向右偏,移走带电体后,指针又回到中间刻度位置,最后切断电源。(周光明)