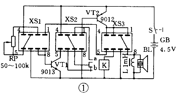
多功能电子实验套件是专为青少年朋友们设计的,利用它我们就可以做十几种实验(因篇幅有限,本文仅介绍其中的几种),从中学到很多很多的电路知识。电路见图1,其中XS1、XS2、XS3是3只集成电路用的插座,每只插座有8个插孔,如果我们在这插孔中插上不同的元件就可以组成各种各样的电子电路。

图1中,VT1是一只NPN型小功率硅管,也可以用9014或3DG201代,VT2是PNP型小功率硅管,也可以用9015或3CG21代:RP是一只50~100kΩ的可调电阻:BL是压电片,电感线圈L与其并联,构成直流通路,如果对音质、音量的要求都比较高,也可以用动圈式扬声器代替压电片;K是一只小型继电器,a是它的一组常开接点,b是它的一组常闭接点。这几个元件都已经在电路板上焊好了。同时,以上元件的符号也都印在电路板上了,这对初学者来说是十分便利的。全部元件及电池盒都装在一个猫形的机壳中。实验前一定要先认清各种元件并牢记表示它们的文字和符号,这些准备工作都做好了后,就可以进行下面的实验了。
三极管对电流的放大作用
在XS1的第2、7两脚之间插上一只发光二极管VD1(2脚接VD1的正极,7脚接VD1的负极),4、5两脚之间插上一只1kΩ的电阻R1,见图2。旋转可调电阻,使VD1刚好发出微光,这时流过它的电流是非常小的,大约只有十几微安。这个电流也同时流到VT1的基极b1,用Ib1表示。在XS1的1、5两脚间也插上一只发光二极管VD2(1接正,5接负),它比VD1亮多了。注意,流过VD2的电流也就是VT1的集电极电流Ic1和VT2的基极电流Ib2。在XS3的1、8两脚中再插上一只发光二极管VD3(1接正,8接负)。可以看到,它比VD2更亮。转动一下可调电阻RP,我们发觉:不仅VD1的亮度在变化,VD2、VD3的亮度也随之一起变化。如果断开R1,不仅VD1熄灭,而且VD2、VD3也同时熄灭了。

发光管在电路中可以看作电流指示器;根据它的发光状况和有无可以大致判断电流的大小和有无。换句话说,VD1、VD2和VD3可以分别看作是Ib1、Ic1(或Ib2)、Ic2的指示器。那么,上述实验说明:(1)每只三极管的集电极电流比它的基极电流都大得多;(2)集电极电流的大小受基极电流控制,我们可以把集电极电流(Ic2)看作是基极电流(Ib1或Ib2)被“放大”了若干倍的结果,我们把这一现象称为“三极管的电流放大作用”。Ic和Ib的比值就称为该管的“电流放大倍数”,用β表示,即:β=Ic/Ib。三极管β值通常有几十倍至一二百倍。
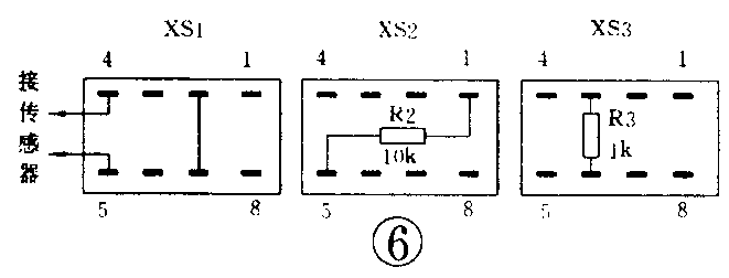
延时照明灯


按图3接好电路(图4是其电路原理图)。实验时,将一根短路线一端插在XS1的第5脚中,另一端与4脚短促地碰一下后拿开,这时可以看到发光管VD1可以延时发光5~10秒钟。旋转可调电阻RP可以改变延时的长短。如果还想增加亮度,可将发光管换成小电珠(4.5V),效果会更满意。
音乐集成电路报警器
这里用的音乐块是最普通的一种,型号为9300(见图5)。图中1脚为接地端,2脚为输出端,3脚为触发端,4脚为电源正极;R的阻值一般取68kΩ,调整R的大小可改变音调的高低。将9300焊在印制电路板的敷铜面,并在板上加焊三极管VT3,然后进行下面的实验。


(1)触摸式音乐门铃。按图6接好电路,XS1的4、5两脚接触摸式传感器,将传感器安装在门口,使用时只需用手轻轻一按门铃就响了,它比一般按钮的手感更好。

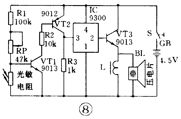
(2)光暗报警器。按图7接好电路,XS1的2、6两脚接光敏电阻,将报警装置放到光线较暗的地方(以不适于看书的亮度为准),旋转RP使音乐集成电路刚好被触发,这样光暗报警器就做好了。当我们看书、读报时,把它放在书报旁边,如果阅读环境的光线充足,这时,光敏电阻的阻值很小,VT1的基极得不到足够的基极电流,报警器就不工作;反之,如果光线较差,这时,光敏电阻的阻值很大,它对VT1基极的分流作用很小,音乐集成电路被触发,于是就奏出音乐报警,告知你应该换一个光线更适合阅读的地方。图8给出了光暗报警器的电原理图。

密码式音乐门铃
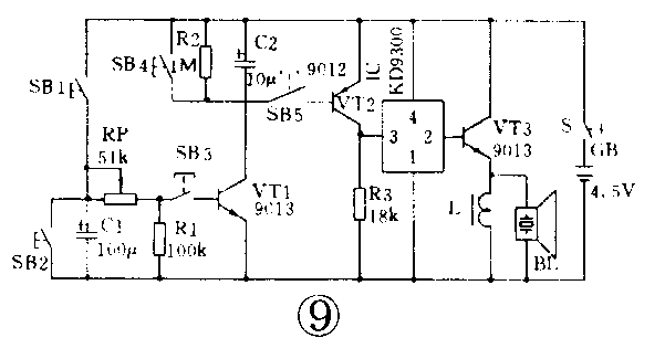
如果你家里安装了门铃,但又不想让陌生人来打搅,那么,这个实验介绍的密码式音乐门铃或许可以为你解忧。电路见图9,图中有几个元件可能已经引起了你的注意,那就是5只铵钮开关SB1~SB5。电路的工作原理是这样的:按下SB1,电源对电容C1充电;再按SB3,C1就通过RP对VT1提供基极电流,因而使VT1导通对C2充电;最后按下SB5,接通VT2的基极回路,于是VT2导通,触发音乐集成电路KD9300,使压电片演奏一首乐曲。在操作过程中,如果我们按下的次序不是SB1——SB3——SB5,或是按下了“伪键”SB2、SB4(它们不仅不能接通电路,反而会短路C1或C2,使其放电),就会导致操作失败而不能触发门铃。


按图10接好电路,将RP调到中间位置。由于该实验接线比较复杂,建议有条件焊接的同学,最好用焊锡将接线焊牢。你可以把五只按钮另外固定在一起,次序可以打乱后重排,但是你可得要记住哪是SB1、SB2…。现在,我们的密码门铃就算做好了,把你的同学请来试一试,如果不知道密码还真不行呢,按了半天也没把门铃按响,因为按一次就能恰好猜中密码的机会还不到百分之一呢。如果你觉得保密程度还不够高,还可以再加几只“伪键”,把它们和SB2或SB4并联就行了。
湖北省青少年科技中心(武汉新宝电子电器厂)供应“多功能电子实验套件”,每套15元。邮包费每次5元。电话:027-84710926、87821480,联系人:王双明。地址:武汉市洪山路2号A座5楼。邮编:430071。(王双明)