本电路采用LF347运放构成PWM比较调制电路、给定可调电压电路(-4V~+4V)和方波/三角波产生电路(f=1000Hz、V\(_{pp}\)=±3V)。PWM电路产生的信号经过整形、功率放大后推动负载。调节给定电压的大小可改变调制信号的占空比,即在负载上得到了变化的直流电压平均值,从而达到调压的目的。
一、功能:利用对直流给定电压进行通、断脉冲调制,并改变其占空比来控制电压的平均值,即用调制脉宽来达到直流调压的目的,是一种直/交/直变换的调压控制电路。电路的方框图绘于图1。

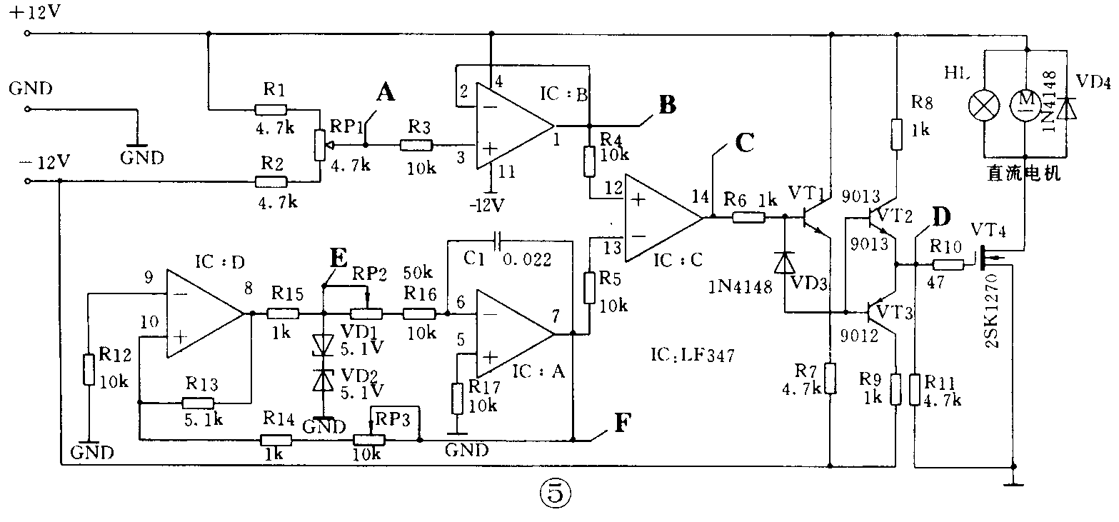
二、电路及工作原理(电路原理图见图5):

方波/三角波发生电路由IC:D、DR12、R13、R14、R15、R16、R17、VD1、VD2、IC:A、RP3、PR2、C1组成。IC:D运放构成迟滞比较器,其反向端经R12接地,当同向端输入电压大于反向端输入电压时输出约为正电源电压,反之则输出约为负电源电压。故IC:D的输出为±12V的方波。IC:A构成反相积分放大器。当IC:D的⑧脚输出为+12V时,对R16、C1充电,在IC:A输出端⑦脚形成三角波的下降沿,经R13、R14、RP3分压后反馈到IC:D的同相端与其反相端进行电压比较,当同相端电压低于反相端电压时,比较器翻转,从⑧脚输出低电平。后级积分放大器中的C1经R16和运放反向充电,使⑦脚电平由低渐升,形成三角波的上升沿,这样不断反复,在E点形成被VD1、VD2限幅的方波(±5.8V),而在⑦脚形成了三角波。调节RP3可使三角波的输出幅度改变,本电路要求调到V\(_{pp}\)=±3V。调节RP2可使三角波的频率改变。本电路要求调到f=1000Hz。
1.给定电路:由R1、R2、R3、RP1、IC:B构成。其中IC:B为电压跟随器,则RP1的中心点A点电压通过调节RP1可在-4V~+4V之间变化。
2.PWM发生器:由IC:C及R4、R5组成电压比较器。反相输入端为f=1000Hz、V\(_{pp}\)=±3V的等腰三角波UΔ,在同相输入端是±4V范围内的给定电压U\(_{B}\),当UB>U\(_{Δ}\)时IC:C输出高电平+12V,反之则输出为-12V。给定电压越高,IC:C输出高电平时间越长,即占空比大,被调制的直流电压平均值就高;相反,给定电压低时,输出高电平时间短,即占空比小,被调制的直流电压平均值就低,实现了由改变直流电压脉冲宽度达到调压的目的。
3.驱动电路及功率开关电路:由VT1、VT2、VT3、R6、R7、R8、R9、VD3、R11等组成。驱动电路是把脉宽调制的小信号进行功率放大和整形后推动负载。大功率开关电路由VT4、R10组成,直接控制负载。
4.负载电路:图中的负载是一直流小电动机及12V/1W的小指示灯,负载大小的选择应考虑场效应管的功率及电源的输出功率大小。
三、调试步骤(也可作为查询故障的依据):
1.双稳压源输出调到±12V,接入线路板。
2.不插集成块LF347上电,用表测运放④脚对地为+12V,脚对地为-12V。无误后断电,插上LF347。
3.测A点(或B点)对地电压,调RP1观察是否在-4V~+4V之间。
4.用示波器测运放⑧脚应为±12V方波,如图2所示波形。

5.用示波器测E点为±5.8V的方波,如图3所示波形,调RP2使f=1000Hz。

6.再用双踪示波器CH1、CH2分别测E点和F点波形进行比较如波形图4,调RP3使F点波形幅度为N\(_{pp}\)=±3V。

7.最后调节RP1观察负载的变化:小电动机的速度会随之改变;我们用一个发光二极管串一个电阻作为负载,结果随着RP1的变化,发光二极管的亮度会相应地改变。(汤伟芳)