两部电话机并接在同一条电话线上,任一部电话机均可接听从外面打来的电话,也能向外面打电话,这是许多同线电话用户常用的做法。但是当两部电话机相距一定距离时,如果能实现转接来话并互相通话等功能,将会给用户带来极大的便利。本文介绍的电路新颖实用、成本低廉、易于制作,使用效果也十分理想。与其它同类电路相比,本电路具有如下特点:
(1)无须外加电源,利用电话线上的直流电即可保证两部电话之间较远距离的正常通话;
(2)设有阻流线圈及滤波电路,不仅消除了两机通话过程中的拨号音、忙音等的干扰,还可大大减轻通话时的侧音效应,提高通话质量;
(3)采用音乐芯片呼叫电路,使呼叫声悦耳动听,电路也得到简化;
(4)两机可相互呼叫,呼叫时可监视对方是否应答;
(5)外线电话来时,两机可互相转接,并可进行三方通话。
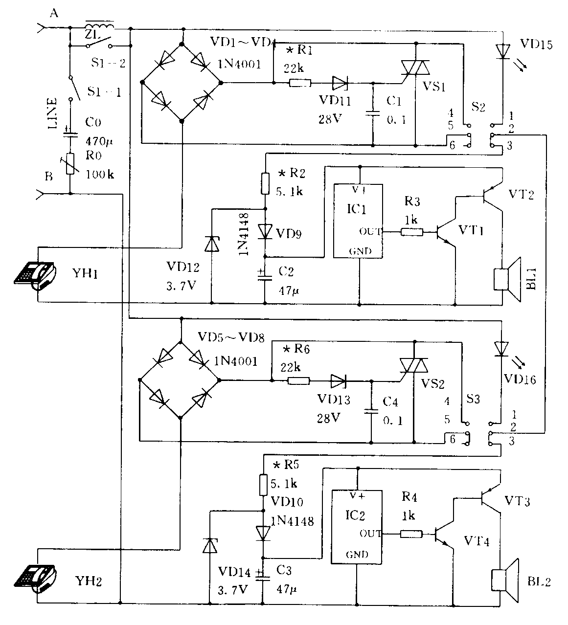
电路原理

同线电话机双向呼叫及通话电路如附图所示。YH1用户和YH2用户的呼叫电路完全相同。平时,YH1用户的按键开关S2的2、3端相接,接在由“叮咚”音乐片IC1、R3、VT1、VT2组成的呼叫电路侧;YH2用户的按键开关S3的2、3端相接,接在由“叮咚”音乐片IC2、R4、VT3、VT4组成的呼叫电路侧。此时,两部分机的呼叫电路因没有施加电源而不工作。
当YH1用户要呼叫YH2用户时,需按动S2,则S2的2、3端断开,1、2端相接。这样,电话线上的电压经发光二极管VD15、S2的1、2端、S3的2、3端加到YH2用户的呼叫电路。R5为分压及限流电阻,VD14为稳压二极管(3.7V),VD10为隔离二极管,防止C3充电电压倒流。VD14两端的3.7V电压经VD10后,保证C3两端的电压为3V,此3V电压加在IC2上,IC2的“叮咚”声由VT3、VT4组成的复合管放大输出后推动扬声器,发出呼叫信号。与此同时,YH1用户的VD15发光,表示处于呼叫状态。当YH2用户听到“叮咚”声后,按动S3,则S3的2、3端断开,1、2端相接,切断了呼叫电路,YH1的VD15熄灭,表示YH2用户已经应答。此时,两用户均摘机后即可通话。YH2用户呼叫YH1用户与此相似。
YH1用户和YH2用户通话时,会听到电话交换机送来的拨号音、忙音等干扰信号。同时又由于YH1、YH2的通话距离一般较近,破坏了电话机电路中常规的消侧音平衡条件,会产生较强的侧音而影响分机之间的通话质量。为此,本电路中阻流圈ZL、电容器C0和电位器R0组成的电路既是滤波电路,又兼有消侧音平衡支路功能,它不仅能消除两机通话过程中的拨号音、忙音等的干扰,还可大大减轻通话时的侧音。不过,此电路受S1开关控制(S1开关设置在YH1用户方),平时,S\(_{1}\)-2闭合、S1-1断开,滤波电路不起作用,对整个电路无任何影响。
YH1用户、YH2用户均挂机时,电话线上电压为48V左右,由于不能形成直流通路,双向晶闸管VS1、VS2均截止。当有外来电话时,75V左右的铃流信号击穿稳压二极管VD11、VD13,使VS1、VS2导通,YH1、YH2电话均响铃。若YH1先摘机,则YH1与VS1和线路形成直流通路,与外线接通即可通话。YH1摘机后,外线上电压会降到8~l0V,此时,即使YH2又摘机,这个电压也不足击穿VD13,故VS2不会导通,YH2处于断路状态。如果YH1要将此电话转接给YH2,需按动S2开关在线呼叫YH2,YH2按S3开关应答时,S3的4、5端接通,使YH2接到电话线上即可通话。此时,YH1、YH2均并接在电话线上,可进行三方通话。当然YH1也可使S2开关复原,挂机退出。YH1挂机后,YH2还可以在线呼叫YH1,将电话再转接给YH1。如此操作,外线电话在YH1和YH2之间可相互转接,也可同时与外线用户通话。当然,YH1和YH2分别通过观察VD15或VD16的亮、熄可以知道对方是否接听,以利于通话的保密。
元器件选择与制作
ZL可选用500Hz的阻流圈,也可自制。C0为耐压16V的普通电解电容器。R0用1/2W/100k电位器。S1、S2、S3用2×2按键开关,VD1~VD8选用IN4001二极管,VD9、VD10用1N4148二极管。VD11、VD13选用 1/2W-1W/15~24V的稳压二极管,VD12、VD14选用1/8W/3.7V稳压二极管。VS1、VS2用MCR100-6或BT169D晶闸管。IC1、IC2用KD系列“叮咚”语音片,也可用其它音乐片替代。VT1、VT4选9014,β值>60,VT2、VT3选9012,β值>80。VD15、VD16为普通发光二极管。其它元件无特殊要求。
按照原理图制作印制板,元器件焊装无误后,并配以合适的外壳,一个简单实用的同线电话并接装置就可以装机试用了。注意,接电话线时,应分清正(接A)、负(接B)极性。连接无误后,若呼叫电路不工作或呼叫声音小,可适当调节R2、R6大小。(孙社文)