热释电红外传感器是一种能检测人体发射的红外线而输出电信号的传感器,它能组成防入侵报警器或各种自动化节能装置。本刊1998年第12期刊登了“超小型热释电集成红外传感器”一文后,引起广大读者的兴趣,但由于价格昂贵使不少爱好者及产品开发者望洋兴叹。本文将介绍一种功能完全与该传感器一样的热释电红外检测器,但它的价格较便宜,非常适合广大爱好者自制家庭防盗报警系统或自动化节能装置,也适合产品开发人员作二次开发。它的特点是有一个造型漂亮的外壳,内部可装入防盗报警系统或自动化节能装置的全部电路,省去制作外壳的时间及劳动。它的外形、尺寸及内部结构如图1所示。另外,检测器部分电路调试难度较大,一般爱好者没有仪器不易调试好而影响整个系统(或电路)的性能,现这部分电路已由工厂装配、调试、测定,保证性能,解决了制作中的难题。

热释电传感器基本知识
实质上热释电传感器是对温度敏感的传感器。它由陶瓷氧化物或压电晶体元件组成,在元件两个表面做成电极,如图2所示。在环境温度有ΔT的变化时,由于有热释电效应,在两个电极上会产生电荷ΔQ,即在两电极之间产生一微弱的电压ΔV。由于它的输出阻抗极高,在传感器中有一个场效应管进行阻抗变换。热释电效应所产生的电荷ΔQ会被空气中的离子所结合而消失,即当环境温度稳定不变时,ΔT=0,则传感器无输出。当人体进入检测区,因人体温度与环境温度有差别,产生ΔT,则有ΔT输出;若人体进入检测区后不动,则温度没有变化,传感器也没有输出了。所以这种传感器也称为人体运动传感器。

由实验证明,传感器不加光学透镜(也称菲涅尔透镜),其检测距离小于2m,而加上光学透镜后,其检测距离可增加到10m左右。
XN-09型热释电红外检测器
XN-09型热释电红外检测器的结构框图如图3所示。放大器将传感器输出的微弱电压信号放大,并由滤波电路将杂波滤掉。放大后的电压输入电压比较器的同相端与反相端的基准电压(阈值电压)相比较:当人体进入检测区时,其放大后的信号电压大于阈值电压,电压比较器输出高电平,当无人体进入检测区,或者环境温度有些变化也产生电压信号,但由于此电压信号较小,虽也经放大其值小于阈值电压,比较器输出仍为低电平。电压比较器部分的电路图如图4所示。


电压比较器起到鉴别有无人体进入检测区的作用,同时也消除环境温度变化所产生的干扰。温度补偿电路使输出稳定,有输出时发光二极管亮。电压比较器输出的高电平经驱动器后输出,输出电压大于3V。
该检测器主要技术参数:工作电压8.5V~12V(直流);静态电流小于8mA;内部有温度补偿,使输出稳定;上电后不稳定时间约1分钟;检测距离6~10m;水平角度120°;有人体进入检测区时输出高电平(大于3V);工作温度范围-10℃~+40℃。
该检测器有3根接线:红色接电源正极,棕色(或黑色)接电源负极(地),黄色为信号输出线(控制线)。
使用注意事项:检测器应避开日光、汽车头灯、白炽灯直接照射,也不能对着热源(如暖气片、加热器)或空调,以避免环境温度较大的变化而造成误报;检测器安装必须牢固,避免因风吹晃动而造成误报;传感器表面不允许用手摸;光学透镜外表面要定期用湿软布或棉花擦净,避免尘上影响灵敏度;安装高度2~2.2m,如图5所示。

要特别提出的是该检测器电路板作工厂已调试好,保证检测距离大于6m。若整个报警系统有问题,请不要调整或改动这部分电路,否则检测距离就不能保证。
家庭防盗报警系统
本文介绍一种家用防盗报警系统供爱好者参考。该系统的特点是功能较全、电路简单可靠、制作方便(无特殊元器件),并且主要元器件都可以邮购。该系统结构框图如图6所示。它由三路检测器经或门后驱动自保继电器来实现灯光及声音报警。

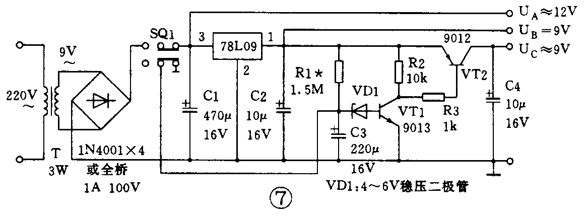
电源电路:它由不稳压的约12V(U\(_{A}\))输出、9V稳压输出(UB)及上电延迟(约2分)输出U\(_{C}\)(约9V)3部分组成。UA、U\(_{B}\)较简单,这里仅介绍一下延迟上电电路。因为热释电传感器在上电后约有一分钟的不稳定时间,在不稳定时间里会有较大的信号输出。为防止这种不稳定时间产生的误报警,使报警电路延迟上电以达到不误报的作用。另外,在开启报警系统后,人员可有一些时间离开检测区。
上电后C3经R1充电,电容上的电压渐增。当充电电压大于VD1稳定电压加上VT1的U\(_{be}\)电压时,VT1才导通,即延迟时间取决于R1及C3的乘积,按图7电路参数,延迟时间大于2分钟。关掉电源时(SQ1),电容C3上的电荷被开关短路而放尽,为下次启动作好准备。
报警系统电路的传感器由不同功能的检测器组成,分别简介如下:
1.人体运动检测部分电路
它由R6、RG组成光电控制电路,调整R6使白天时热释电检测器输出电压在RG上的分压小于VT3的导通电压(0.6V),起到白天不报警作用。若需要白天也参与报警,只要将RG去掉即可。VT3、VT4组成电平转换电路。因为XN-09输出高电平时仅3V,经VT3、VT4电平转换电路后,在R10上输出的电平可接近9V。
2.门、窗被撬检测电路
K1、K2为干簧管与磁钢一起组成的门窗防撬传感器,该传感器已有成品,如图9所示。当磁钢与干簧管之间距离小于(安装时应尽可能靠近)5mm时,干簧管闭合,输出为低电平;当门、窗被撬,它们之间距离大于10mm时,输出为高电平(报警信号)。K1、K2中有任一起作用即报警。

3.物品被移动检测电路
它由微型轻触式开关SQ2和SQ3组成。平时开关处于闭合状态,当物品被移动时,开关被打开,输出高电平(报警信号),如图10所示。在白天时门窗要打开,或抽屉要打开,可闭合SQ4、SQ5,使这两部分不起作用(用虚线画出)。

这三种检测器的数量不限,即人体运动检测器也可按需要增加到2~3个,K1、K2及SQ2、SQ3可根据需要增减。
三路检测器中通过由VD2~VD4组成的或门来驱动VT5,其中任一路输出为高电平时VT5导通,继电器K3吸合,一组常开触头K3-l实现自保,另一组触头K3-2接通高响度报警器(约120dB)并使VD6发光。如有必要,VT5、K3及高响应报警器电路也可装在别的房间。一旦报警,即使门窗复位、被移动的物品复位或离开热释电检测区,报警不会停止,只有当按下SQ6按钮时才会停止。
这种防盗报警系统除适用于家庭用外,也适用于小型工厂、库房等。
自动化节能装置
热释电检测器另一个应用是自动化节能装置。例如,在大型机场里有很多自动电梯,一天中早、晚客流量较少时,电梯空运转耗电较大,若采用自动化节能装置时,可节省电能,如图11所示。当无人进入检测区时,电梯不运转;当人要乘电梯进入检测区时,电梯开动,载人上楼;当把人送上楼后若无人上电梯,则电梯停止运转。

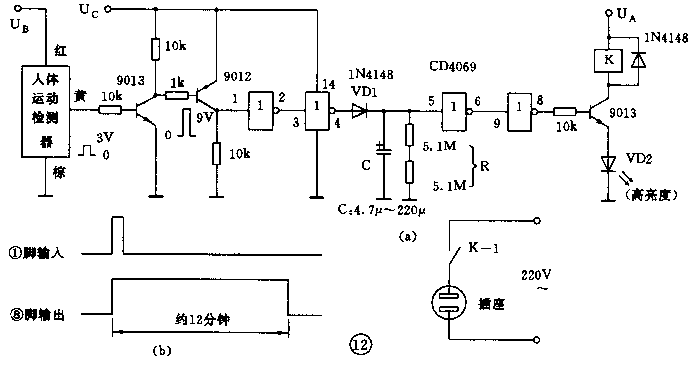
在家庭中有一些半暗的客厅,白天也要开灯(或者暗卫生间),也可装自动开灯装置。即有人在时灯亮,人走后灯灭。这种电路如图12(a)所示(电源部分与图7相同)。

该电路由检测器、电平转换、延迟电路及驱动电路等组成。
1.延迟电路
由CD4069六反相器中的四个组成延迟电路。当有人在检测区并作一定的运动(或活动),则9012输出高电平,第2个反相器也输出高电平。此高电平经二极管VD1向电容器C快速充电到接近U\(_{C}\),则第4个反相器也输出高电平。电容器C上的电荷向R放电,由于R阻值较大,放电较慢,按图上的参数(C=220μF、R=10.ZMΩ),约经12分钟后C上的电压才降到1/2UC,使第4个反相器输出低电平。其波形如图12(b)所示。改变不同的R、C可获得不同的延迟时间,可根据要求选择。
该延迟电路的特点是它是一种累计型延时电路,即在延迟过程中又有脉冲输入,则延迟时间会增加。例如延迟电路的延迟时间为10分钟,若在以后时间内有人在不断运动(或活动),则①脚会不断输入脉冲,延迟时间不断延长。
2.驱动电路
由三极管9013及继电器K组成驱动电路。当CD4069的⑧脚输出高电平时,9013导通,继电器K吸合,VD2亮,常开触头闭合,给2204座提供了电源。若是插上电灯(如用于半暗厅),则人在灯亮,人走后经一段延迟时间灯自灭。
继电器工作电压为12V,触头容量与负载电流有关(触头工作电压要满足2204压)。
结束语
以上电路仅供爱好者实验及制作。但要说明的是,因为热释电传感器检测的是温度,有时小动物(猫、狗)进入检测区也会产生误动作。如果有条件可以设计成双鉴电路(如雷达探测器)再加一个与门,则可提高可靠性,大大地减少误报的概率。
如果检测器与驱动电路分装两地,距离较远,则最好采用屏蔽线,以防止外界干扰而产生误报。
读者也可以根据自己的要求或参考其它电路来实现有其它功能的防盗报警系统或自动化节能装置。(方佩敏)

