本升压电路无电感线圈,制作简单,输出功率却十分强劲。在输入12V时,具有20V及15V(稳压)两组升压输出,每组均可输出1A以上的电流,适合汽车音响、车载电台中使用。另外,为了满足某些特殊用途,还增设了一组5V降压输出,同样可以输出1A以上的电流。
电路原理
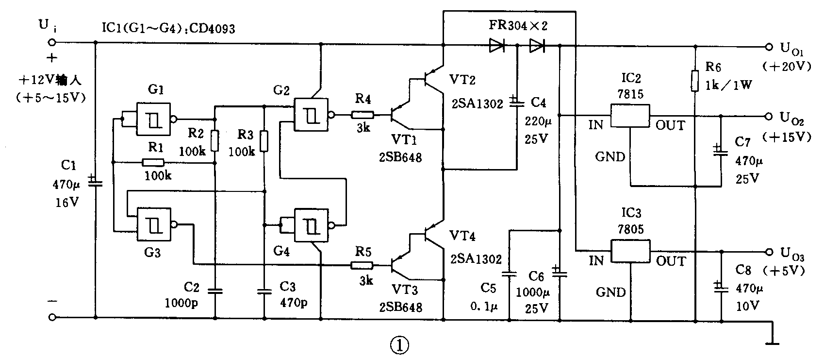
电路见图1。G1~G4为施密特与非门CD4093。G1与R1、R2、C2组成10kHz的振荡器,它输出的互为反相的脉冲信号分别加到G2、G3的输入端。由G2、G3驱动晶体管VT1、VT2及VT3、VT4交替导通。为了防止VT1、VT2及VT3、VT4发生共态导通使电源短路,由R3、C3组成延迟网络,它使VT1、VT2及VT3、VT4导通的脉冲在时间上不衔接。当G3输出低电平时,VT3、VT4导通电源经VD1后对C4充电;当G2输出低电平时,VT1、VT2导通,此时电源与C4串联后经VD2对C5充电,充电电压为两倍电源电压。实际上,由于VT1~VT4及VD1、VD2有导通压降存在,故C5上的电压略低于两倍电源电压。VT1、VT2及VT3、VT4组成达林顿式复合管,且VT2、VT4使用大功率的音频输出管,因此允许通过很大的充电电流。C4为升压电容,取值为220~470μF,故U\(_{0}\)1及U02的输出电流均大于1A。U\(_{0}\)1在空载时其电压会升高至27V,故增加一负载电阻R6,使其电压基本稳定在20V左右。

该升压级件的输入电压在5~15V时,升压输出U\(_{0}\)1的范围为8~27V。
元件选择与安装调试
VT1、VT3选用2SB648。VT2 VT4使用大功率快速音频输出管2SA1302,具有快的开关速度及低的导通压降。VD1、VD2采用3A/400V的快恢复二极管FR304。IC2、IC3应配备合适的散热器。其它元件均无特殊要求。
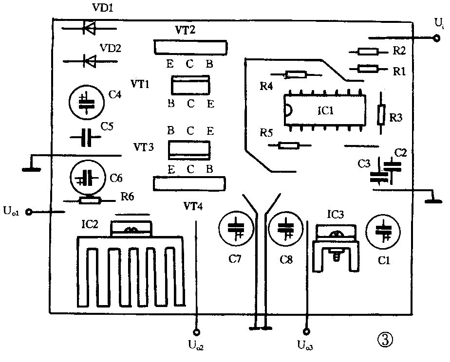
整个电路安装在图2所示的印制板上,图3为装配图。安装完毕,检查无误后即可加电试验。用DS-168P万用表的频率档(或其它频率计)测G2、G3的输出频率应为10kHz左右,此时再用万用表的电压挡测U\(_{O1}\)的电压应为20~21V。若UO1的电压正常,一般U\(_{O2}\)及U03的电压也就正常了。


来稿点评
本文介绍的三路输出电源,其中升压电路采用分立元件组成,利用电容充电形成倍压电路。一路不稳压输出;另一路经7815稳压后输出。还有一路由输入电压(+12V)经7805稳压后输出+5V电压。
这种升压式电路结构较简单,没有采用DC/DC变换器集成电路,故无需电感,适合业余爱好者制作。作者给出了印制板图及安装图,给读者制作提供了方便。
作为一种电源或DC/DC变换器还有一些性能指标要考虑的。对升压电路部分来说,不稳压输出电路应给出一个重要参数,即内阻是多少?或给出输出1A时输出电压降了多少。其次,+15V稳压输出是采用7815来获得的,这种电路的转换效率是较低的,即有较大损耗,而一般开关型DC/DC变换器可达80%左右的效率,有些还可更高一些。
另一路由12V经7805稳压输出,其效率更低,若输出为1A时,其效率仅40%左右(若采用15V时则效率更低)。从元器件安装图来看,似乎IC3的散热片应比IC2的大一些才对(因为在IC3上的损耗要大于IC2上的损耗)。
文中说:“每组均可输出1A以上的电流”,但没有说清楚是否三路同时都可以输出1A以上电流。因为若升压电路内阻较大时,输出电压降得太多,+15V输出稳压就会有问题。(周兴华)