这次无线电小组的活动内容是用三端集成稳压器组装输出电压可调的稳压电源(见图1),同学们经过组装、调试,全部达到了技术要求。大部分同学都是第一次使用三端集成稳压器,希望能更多地了解它的应用知识,对此,老师组织大家进行了研讨。

同学:我在电子元件商店见到三端稳压集成块的品种很多,外形和产品型号也各不相同,这种稳压器件可以分成哪几种主要类型呢?
老师:国产三端集成稳压器已经标准化、系列化了,按照它们的性能和不同用途,可以分成两大类,一类是固定输出正压(或负压)三端集成稳压器W7800(W7900)系列,另一类是可调输出正压(或负压)三端集成稳压器W317(W337)系列。前者的输出电压是固定不变的,后者可在外电路上对输出电压进行连续调节。今天大家装机使用的就是三端可调正压输出集成稳压器W317。
同学:怎样用固定电压输出三端集成稳压器组成稳压电源呢?
老师:这种电源电路很简单,我先画出电路图(图2)。三端稳压器的输入端接在整流滤波电路的后面,输出端直接接负载,公共端接地,电源就能正常工作,输出稳定的直流电压。但是,在实际应用中为了抑制高频干扰并防止产生自激振荡,在它的输入端并联了电容器C1,输出端并联了电容器C2。

同学:国产固定输出三瑞稳压器产品有多少种输出电压可供选择?对它的输入电压U\(_{i}\)有什么要求呢?
老师:固定输出正压(或负压)三端集成稳压器产品的输出电压(绝对值)有5V、6V、9V、12V、15V、18V、24V共7种,可以根据实际需要选择使用。为了保证稳压器能够正常工作,要求输入电压U\(_{i}\)与输出电压Uo的差值应大于3V。压差太小,会使稳压器性能变差,甚至不起稳压作用;压差太大,又会增大稳压器自身消耗的功率,并使最大输出电流减小。厂家对每种型号的稳压器都规定了最大输入电压值。一般取U\(_{i}\)-Uo为3~7V。
同学:从型号上怎样体现三端稳压器输出电压的大小呢?
老师:我们以W7800系列的稳压器产品为例,一般都用“78”后面的数字表示输出电压的大小。例如,W7806表示输出电压为6V;W7812表示输出电压为12V,等等。
同学:三端稳压器的输出电流有多大呢?
老师:三端集成稳压器按最大输出电流不同又可分成三个系列:W7800、W317系列的最大输出电流为1.5A;W78M00、W317M系列的最大输出电流为0.5A;W78IDO、W317L系列的最大输出电流为0.1A。
同学:我在商店里看到三端稳压集成块有好几种不同的外形。
老师:国产三端稳压器的封装形式有F-2型、TO-92型、S-1型、S-7型等多种,我这里有几种样品(图3),大家可以看一看。需要特别说明的是,三个引脚的排列和它们的功能,对不同型号的产品或不同厂家的产品可能并不相同,使用时一定要看说明书。

同学:固定输出电压三端稳压器在外部电路接上一些元件能不能改变它的输出电压呢?
老师:实际上固定输出电压三端稳压器的应用也是灵活多样的,可以用它组成几十种不同功能的电路。我现在画一种能提高输出电压的电路(图4),它只需要在稳压器输出端和地之间接上一个由电阻R1和R2组成的电阻分压电路,把稳压器公共端接在分压点上,就能提高输出电压,决定输出电压大小的计算公式是
U\(_{o}\)≈Uxx(1+\(\frac{R2}{R1}\))

只要选定R1、R2的比值,就能得到所需的输出电压。需要注意,要提高输出电压U\(_{o}\),就必须相应地提高输入电压Ui,一般应使输入电压高于输出电压3~5V。
同学:能不能用W7800系列稳压器组成电压连续可谓的稳压电源呢?
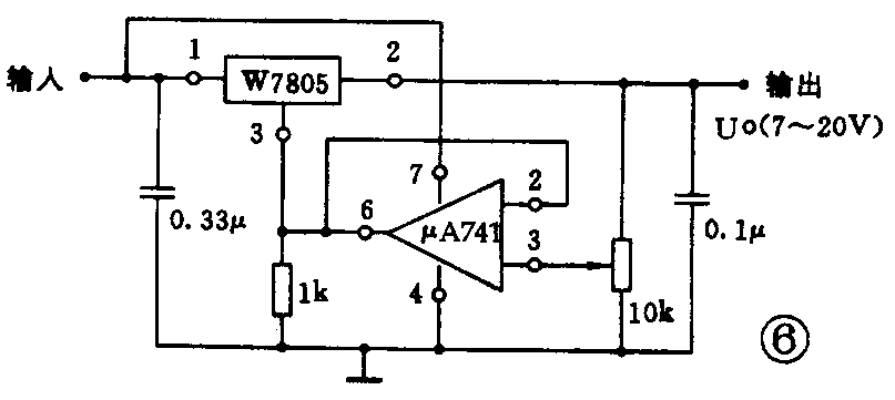
老师:可以。组成这种可谓的稳压电源的电路形式也很多。就拿刚刚介绍的电路(图4)来说,把R2换成可变电阻,就可以通过调节R2来改变输出电压(图5)。只不过这种稳压电源的精度不高,为了提高稳压性能,可在外电路接入一个由高增益运算放大器μA741组成的电压跟随器,电位器RP=R1+R2构成取样电路(图6),这个稳压电源的输出电压U\(_{o}\)可以在7~20V范围内连续调节。只不过这种电路需要外接集成运算放大器,成本高、精度低、耗电大,已经较少采用了。


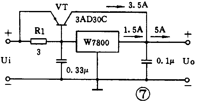
同学:如果想要扩展三端稳压器的输出电流,有没有可能呢?
老师:三端稳压器的最大输出电流取决于内部调整管的集电极最大允许电流。如果想要扩展稳压电路的输出电流,可以在外电路接入一个大功率三极管,使它与内部调整管组成复合调整管(图7)。三端稳压器W7800的最大输出电流为1.5A,外接一个PNP型大功率三极管3AD30C,它可以输出3.5A的电流,这样,整个稳压电源的输出电流就是5A了。

同学:三端可调输出电压稳压器W317有什么特点呢?
老师:W317是一种可调输出正压三端集成稳压器(图8),它的三个端子除了输入端和输出端外,第三个端子A\(_{Dj}\)不是公共端(接地端),而是电压调整端,通过调整端外接两个电阻R1、R2组成调压电路,就能组成一个输出电压连续可调的稳压电源(图9)。请看这个电路图,只需调节可变电阻R2,就能使输出电压Uo在1.2~37V范围内连续变化。


同学:我们刚刚制作的电源电路(图1)比较复杂,您再给我们分析一下它的工作原理吧。
老师:今天大家组装的是W317(有的产品型号叫LM317)的典型应用电路。虚线左边是大家熟悉的整流滤波电路,虚线右边是以W317为核心的可调稳压电路。电阻R1和可变电阻R2构成取样电路,C2是为了减小取样电阻R2两端的纹波电压而并联的旁路电容器,C3、C4的作用仍是用来抑制高频干扰和防止产生自激振荡。需要说明的是两个二极管的作用,VD1是保护二极管,用来防止输入端发生短路时因C4放电可能造成的内部调整管的损坏。VD2也是保护二极管,当输出端出现短路时,C2两端的电压作用在VD2两端使它正偏而导通,为C2提供放电通路,避免C2上的电压击穿内部的放大管。
同学:为什么稳压集成块要装散热器呢?
老师:三端稳压器属于功率半导体器件,它作为整机或局部电路的电源,需要输出一定的功率,特别是内部的调整管,供给的是全部负载电流,因此,在使用过程中稳压器件要发热,使芯片温度升高,限制了它的最大功率P\(_{maxo}\)。例如,在不加散热片时,F-2型封装最大功率Pmax为2.5W,S-7型封装为2W。加装规定的散热器后,前者P\(_{max}\)≥15W,后者Pmax≥7.5W。P\(_{max}\)称为极限运用功率。散热器的散热面积一般不应小于100mm\(^{2}\)。
同学:三端稳压器在使用中怎样才能保证不会超过它的极限运用功率P\(_{max}\)呢?
老师:三端稳压器内部的调整管两端的电压为U\(_{ce}\)=Ui-U\(_{o}\),流过管子的电流为全部负载电流Io,所以调整管的功率损耗为P=(U\(_{i}\)-Uo)I\(_{o}\),Ui是固定不变的,为保证使用中P≤P\(_{max}\),输出电压Uo越小,相应的负载电流I\(_{o}\)也应越小。实际上三端稳压器内部都没有调整管安全工作区保护电路,一旦Ui-U\(_{o}\)超出容许值,输出电流会自动下降,保证调整管的功耗在安全区之内。(宋东生)