■功能强大的语音识别电路ISD-SR3000
应用领域:各类电话、语音拨号设备、自动化工业控制、语音控制产品及装置。
主要特点:该电路的工作电压为3.3V~5V,工作电流为40mA(动态)、lmA(静态),可定义50条语音指令和50个语音标记,支持多国语言词汇(通过电脑制作后连接编程器进行烧录),支持多型号CODEC,自带MICROWIRE、存储器和CODEC接口,使得数据传输更方便。电路具有数十条同步、异步的RECO和语音指令,使器件的操作更灵活。
封装形式:100脚QFP封装
生产厂商:美国ISD公司(www.isd.com)。
经销商:茂林电子科技有限公司(www.maolin.com.n)。
■非易失性数字电位器×9×××系列
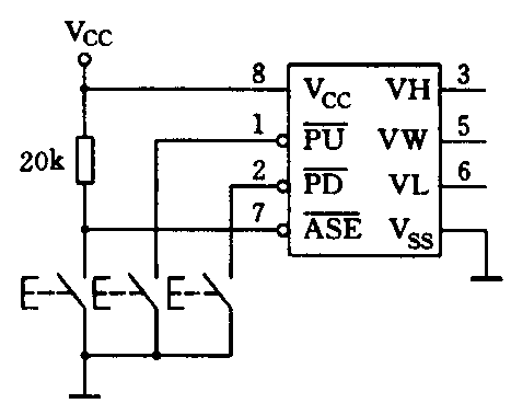
主要特点:Xicor公司出品的数字电位器(DCPs专)专为代替机械电位器、微调器而设计,与机械电位器相比有诸多优点:精确、省电、方便调试、提高可靠性和稳定性。Xicor公司的DCPs产品有多种类型可供选择,多种接口方式(SPI、IIC、SM、按键),多种电阻值,多种抽头数,多种端电压值,多种封装。
应用电路:见附图。

生产厂商:美国Xicor公司(www.xicor.com)。
代理商:武汉力源电子股份有限公司(www.p8s.com)。
附表
X9312 100 10k 三线 0~15
X9015 32 50k 三线 0~5.5
X9313 32 10k/50k/100k 三线 -5~5
X9315 32 10k/500k 三线 0~5
X9ll6 16 10k 按钮 0~5.5
X9511 32 1k/10k 按钮 -5~5
X9C102 100 Ik 三线 -5~5
X9C103 100 10k 三线 -5~5
X9C104 100 100k 三线 -5~5
X9C503 100 50k 三线 -5~5
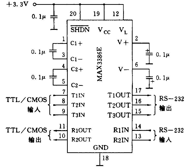
■RS-232收发器MAX3386E/3387E(11/14页)
应用领域:小型笔记本计算机、PDA、蜂窝电话、电池供电设备、便携式设备、外设等。
主要特点:V\(_{L}\)引脚与混合电压(mixed-voltage)系统兼容;在Rx输出及TX输入端有±15kV的静电保护;工作电流低(典型值为300A;保证数据传输率250kbit/s;在接收有效时关闭状态耗电仅1μA;选用于EIA/TIA-232的特性降到3.0V)。
■设计灵活的SOT温度开关MAX6509/10(8员)
应用领域:高速μP温度监控、计算机、温度控制、温度报警、风扇控制及汽车上的应用。
主要特点:典型阈值温度精度为±0.5℃;在-40℃~125℃范围内最大阈值温度精度为±4.0℃;阈值温度可用一个1%精度的外设电阻来设定;阈值温度可以是正温或负温;典型工作电流为32μA;有开漏及推挽输出两种输出结构(开漏结构内部有上拉电阻);滞后温度有+2℃或+10℃(用户可选择);工作电压2.7~5.5V。
封装形式:5脚SOT-23(MAX6509),6脚SOT-23(MAX6510)。
选用指南:MAX6509在超温时输出为低电平,而MAX6510在超温时可选择输出为高电平或输出为低电平。
应用电路:典型应用电路如附图所示。图中④脚HYST接地时,其滞后温度为2℃;接V\(_{CC}\)时为+10℃。

生产厂商:美国MAXIM公司(www.maxim-ic.com)
电话:010-62010598、8008100310。
封装形式:20引脚TSSO封装(MAX3386E)、24脚TSSO封装(MAX3387E)。
应用电路:典型应用电路如附图所示。

生产厂商:美国MAXIM公司(www.maxim-ic.com)
电话:010-62010598、8008100310。
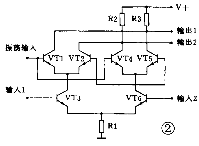
■NE602集成电路简介
NE602是Signetics公司的产品,它是一个含有双平衡混频器和内部振荡器的8脚单片集成电路。双平衡混频器有两个输入端,即①脚和②脚(见图1);两个平衡输出端,即④脚和⑤脚;内部振荡器的基极连接到⑥脚,发射极连接到⑦脚。

NE602常用于VHF袖珍电话接收机的前端,但许多爱好者扩展了该芯片的应用范围,将它作为频率变换器或信号发生器。常见的NE602有两种类型,即NE602D和NE602N,其中NE602D为8脚表面安装贴片元件,NE602N为8脚双列直插普通芯片。工作温度范围为0~70℃。
NE602的双平衡混频器内部电路见图2。这种结构称为吉伯跨导单元电路,它含有一对交叉耦合差分放大器,其特点是具有良好的噪声特性,45MHz时的典型值为5dB,但其动态范围不够理想,要求输入信号不超过25dBm(≈3.16mW),这种信号电平类似于12.6mV的电压加于50Ω负载,或68mV电压加于1.5kΩ负载。NE602具有0.2μV的灵敏度,因此无需进行外部射频放大。

网址:www.philipslgic.com (张纯学)
■6声道音响前置控制电格PT2322
应用领域:多声道AV视听系统。
主要特点:该芯片采用I2C控制界面,不但控制简便,还能节省MCU的内存及外部引脚数。其主要参数如下:THD≤0.007%(1kHz,20OmVrms);残余噪声仅7μV;声道分离度>100dB;主音量衰减0~-79dB可调,每阶ldB;每声道0~-15dB独立音量微调控制;前左、右声道有高、中、低3段分别±14dB的音调控制,配合内含的3D音效处理器,用户可自行用软件预置均衡器,从而节省了成本;当电源电压为12V时,最大输入电压可达4Vrms,满足了大动态的需要。
封装形式:28脚DIP和SO封装。
生产厂商:台湾普城科技股份有限公司(www.princeton.com.tw)。
■用于GSM的功放控制放大器MAX4473(6页)
应用领域:GSM蜂窝电话、无绳电话、精密电流控制、高频伺服环路等。
主要特点:对GSM定时是最佳的选择;单电源+2.7V~+5.5V供电;工作电流典型值1.2mA;在关闭模式时耗电<=1A;保证使能/禁止时间为1.5A;在关闭模式时输出有效下拉;误差放大器输出接近电源幅值;功率控制输入接近电源幅值;输出驱动能力;500及300F负载;输入共模电压范围从+1V到Vcc;共模电压从OV到Vcc无相让反转;外部的电流敏感电阻及增益电阻设定有极大的灵活性;工作温度范围-40℃~+85℃。
封装形式:8脚MAX及SO封装。
应用电路:典型应用电路如附图所示。

生产厂商:美国MAXIM公司(www.maxim-ic.com)
电话:010-62010598、8008100310。
■智能定时控制电路LT3801/3802
应用领域:工业系统、定时控制、智能打铃、消费电子产品等。
主要特点:6MHz时钟频率、定时精度高、功耗低、位扫描输出、4位LED数码管显示。每天可定时40次、定时输出时间由用户编程设定,并具有数据存储功能。
封装形式:20脚DIP封装。
生产/销售商:上海奔流电子公司(上海市延长中路755号、200027)
电话:021-56051101。 (瞿贵荣)
■新款PLL(锁柏环)电路MC145151
应用领域:频率合成、广播通信、自动控制、时钟同步等。
主基特点:大规模CMOS锁相环、总分频比从8~8192分8挡编程设定、14位二进制码设置分频系数,工作电压3~9V。外围元件少、抗干扰性能好,使用灵活简便。
封装形式:28脚DIP封装。
生产厂商:美国MOTOROLA公司(mot-sps.com)。 (瞿贵荣)