传统的榨油方法繁琐笨重,费力耗时。本人在实践中不断探索,总结经验,结合榨油工艺的实际需要,设计了一套榨油机自动榨油控制系统(以下简称控制器),经过实际应用,不仅操作方便,而且运行可靠,省时省力,为此,愿将该控制器介绍给大家。
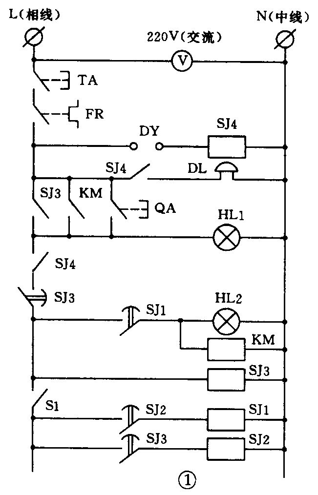
控制器使用了3只可以设置时间参数的数显时间继电器SJ1~SJ3,一个交流接触器KM,一个中间继电器SJ4,一个电接点压力表DY和一个电铃等。
控制器电路见图1。控制器的工作原理是:分别合上主电路(见图2)及控制电路(见图1)的电源开关。这时,电压表V指示出控制线路的电压数值。按下启动按钮QA,电源指示灯HL1和工作指示灯HL2皆亮,KM线圈得电,交流接触器常开主触点及常开辅助触点同时闭合,电动机M带动油泵运转,系统开始工作。此时,若钮子开关S1处于分断状态,时间继电器SJ1、SJ2均不工作,接触器线圈KM一直得电,油泵连续工作,等系统到达设定压力时,将S1扳到闭合状态,此时,系统将进入间歇自动循环工作状态,时间继电器SJ1开始计时,电动机运转,油泵打油,系统压力上升,等到运行时间达到SJ1的设定时间t\(_{1}\)时,其延时分断的常闭触点分断,继而接触器KM线圈失电,工作指示灯HL2熄灭,电动机停止运转,系统处于保压等待状态;与此同时,在SJ1延时分断常闭触点断开时,其延时闭合的常开触点闭合,时间继电器SJ2线圈得电,SJ2开始计时,经过一定时间t2后,其延时分断常闭触点分断,SJ1线圈失电,其触点瞬时复位,KM再次得电,SJ2又开始计时,自动开始下一个间歇循环。


在实际使用中,如果觉得工作时间t\(_{1}\)或间歇时间t2设置不当,可以按下停止按钮TA,系统即停止工作。这时可以通过时间继电器面板上的按键修改参数,之后,按下启动按钮QA,系统就按照新设置的参数继续工作。
为了减轻劳动者的劳动强度,系统还设置了自动关机功能,以防榨油工作已经完成,而操作者又不在现场,系统还继续进行不必要的工作。原理是在榨油工作开始之前,操作者可以根据总榨油时间的长短,在时间继电器SJ3的面板上设定好工作时间t\(_{3}\),系统连续工作时间到达t3时,SJ3的延时分断常闭触点自行分断,切断电源,整个系统停止工作。
本系统还没有完善的保护装置。当电机过载或其他原因引起电流增大时,热继电器FR自行分断,切断电源,使电动机等免遭损坏。当系统压力超过警戒压力(根据系统承受能力在电接点压力表上设置)时,无论系统处于何种状态,系统通过电接点压力表DY及中间继电器SJ4,无条件切断电源,并接通电铃DL报警,提示人们压力达到警戒状态,需及时采取措施。为了确保整个系统的安全,防止此时有人误操作而对系统继续加压,本系统设置了此种警戒状态不解除,按下启动按钮QA系统也不会工作。只有当这种状态解除后,系统才能正常工作。
考虑到各地供电状况的差异,主电路设置了两套方案。方案一见图2(a),它适用于只有单相电源的场合;方案二见图2(b)它适用于有三相动力电源的地方。(杜玉海)