一种AV节目载体的普及,至少应满足以下几个条件:技术上的先进性;硬件(重放设备)价格的可接受程度;节目软件生产厂商对它的支持及市面上流通的节目数量;软件(节目)价格的可接受程度;广告推广。就DVD目前的情况,5个条件都已满足。
将自己的VCD更换为DVD,即使不升级任何设备,任何人也能轻而易举地感受到画质与音质的极大改善。那么用DVD作信号源,又如何用较小的再投入而配置视音频器材来组成家庭影院,使DVD优异性能得到最大发挥呢?这就要动脑筋,多分析,提高认识,自己动手组建家庭影院。笔者就这个问题作些介绍,以飨读者。
一、视频器材
当DVD机选定后,电视机作为终端显示设备,左右着视频显示水平的高低。同音响设备一样,电视的画质与价格也有着从高到低的分级。以家庭常用的显像管直视式电视为例,目前最高档的是SONY ES系列贵翔特丽珑纯平彩电,该系列采用了一些高清晰度电视(HDTV)的技术及纯平显像管,据称图像清晰度达到1250线,色彩层次极其细腻,观看的感觉很像加了扫描4倍线器,物体边缘完全没有扫描线形成的锯齿,图像的细腻程度和无闪烁感可同专业监视器相媲美。略低一档的是飞利浦29RF100(比利时产)、松下××PIOOG/R系列(山东产)及东芝××N9UXC/UC(日本原装)东芝××N6UXC/UC(大连产)系列等,其共同特征是都采用纯平显像管,带色差输入,100Hz扫描。接下来是SONY EF系列(日本产)、SONY LS系列(上海产)和松下××P15G/R(山东产)等,特征是具备色差输入,纯平显像管,但无100Hz扫描。再低一档则是纯平而不具备色差输入和100Hz扫描的SONY SF系列(上海产),松下××P25G/R(山东产),飞利浦29RF90、飞利浦29RF70(苏州产)等,再次的才是号称“超平”的各款。
尽管国产品牌彩电的“数字”概念大战纷纷扬扬,但单论画质,与世界著名品牌的中高档产品相比差距不小,因此真诚地希望我们的厂家戒骄戒躁,踏踏实实地做出好产品,任何概念炒作带来的商业利益都是暂时的,是在透支而不是培育自己的市场份额。
视频信号传输在DVD家庭影院中分为复合端子、Y/C分离的S端子、分量传输3种,画质依次增高。复合视频传输的清晰度有限,色彩也较饱和,使用它实乃条件有限的无奈之举。S端子传输的是分离的Y(亮度)信号(含同步信号)和C(色度)信号,传输质量较复合视频有较大改进。但市售几十元一根的杂牌S端子线使用了只能传输低频信号的多芯护套线,根本不能发挥Y/C分离的优势,而古河、怪兽等专业线厂的成品S线索价均在二三百元,性价比实在不高。其实许多专售接插件的商店都能找到S插头,再购上一截≤φ3mm的视频用同轴电缆,按图1所示就可以做成画质优良的S端子线。更上一层楼的分量包差信号传输原本用于专业领域,“下嫁”民间是第2代DVD出现后的事,其画面清晰度、图像信噪比和色彩层次等指标都非常优异,因此准备购买电视机和DVD机的朋友在选购时最好都选带色差端子的机种。另外,民用色差线虽采用与民用音频信号线相同的RCA(莲花)插头,但绝不能混用,必须采用高频介质的视频线,才能实现这种传输方式的优异特性。

二、音频器材
既然使用了DVD信号源,还音系统应尽量发挥DVD的先天优势,采用杜比AC-3乃至DTS数字解码系统。从系统结构上,可以根据AC-3解码器的位置分为两种情况,一种为AV功放内置AC-3解码器,这样从DVD机到AV功放只需一根数字同轴电缆或光纤,连接较为简便,对音质也有好处。不足之处是目前内置了AC-3解码器的AV功放普遍价格较高,国产机在2500元左右,进口机都在3000元以上,带DTS解码器的价格还要高一些。采用这种系统结构时,一定不要拿普通模拟RCA线来代替数字同轴电缆,否则会令音响效果大打折扣。第二种系统结构为内置AC-3解码器的DVD机搭配五声道功放平台。这种方式的成本较前一种要低得多,而且从最新的一系列DVD芯片方案可以看出,内置AC-3解码器已成为消费类DVD机的发展趋势。
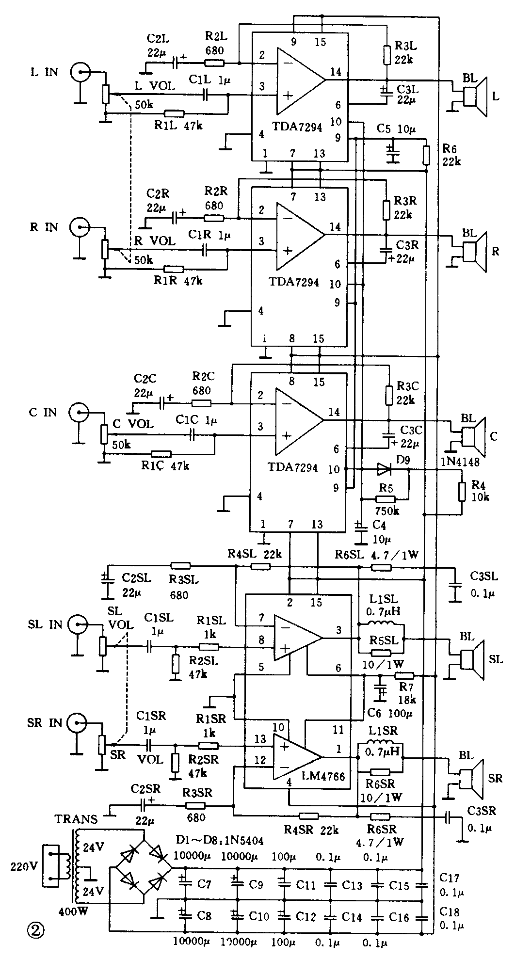
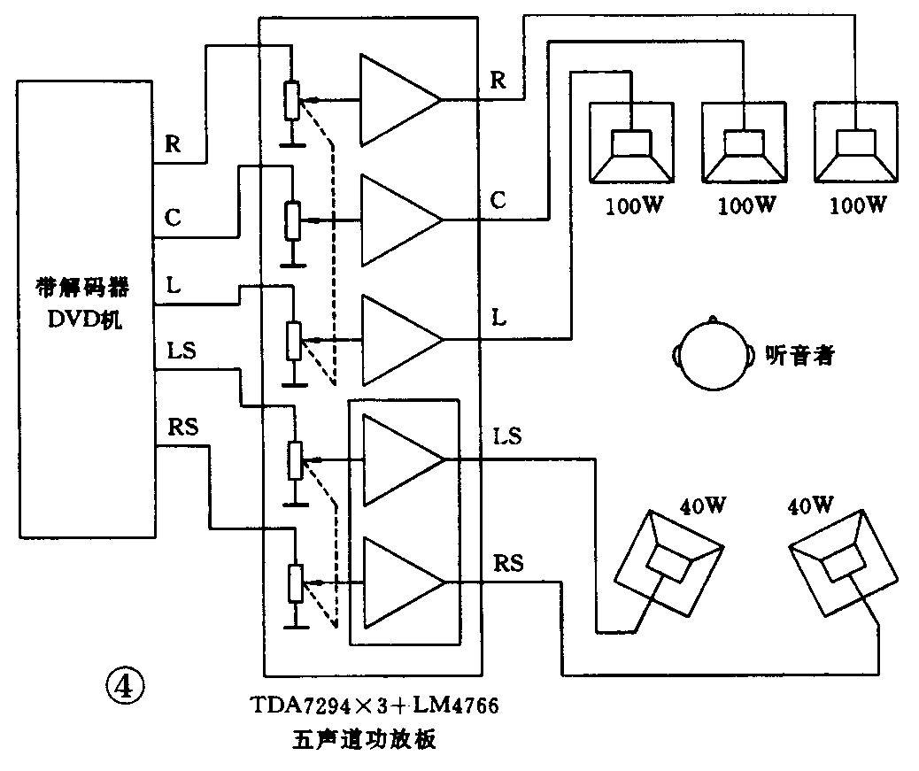
在功放的选择上,目前已有不少符合杜比AC-3要求,具备5.1输入接口的国产和进口AV功放,但应留心有一些早期的杜比PRO-LOGIC功放,虽有5.1输入接口,但中置和环绕声道的输出功率过小,这会出现气势不足的问题。如果有兴趣的爱好者自己动手,可以照图2所示的电路,自制一台五声道功放,图3示出用该电路制成的成品板平面图。该电路使用音质早有定评的TDA7294及LM4766,L、C、R的功率为100W×3,后方的环绕声道为40W×2,在一般家庭听音室内使用绰绰有余,使用时连接方法见图4。由于该电路的总输出功率较大,作为能量来源的电源变压器功率不能少于400W。另外,有少数读者问已购入无AC-3解码功能的DVD机该如何配置系统,其实直接购买内置AC-3解码器的AV功放最为简洁。如果是焊机派爱好者,由于杜比实验室对其知识产权的严格保护,国内好像还没有AC-3解码板可买,其实就算有,价格也一定不菲,只能选择市面上常见的加拿大Q-Sound实验室QS7785 2-5.1声道解码器之类的产品。这类产品的解码效果虽逊色于正宗的杜比AC-3,但比起杜比定向逻辑却又好出不少,因为具备VCD和DVD的双兼容性,其专利保护方式又可接受(专利费用已含在芯片价格之中),因此QS7785的应用也相当普及,使用时的连接方法见图5。




音箱方面,定向逻辑时代使用4英寸中低频单元的中置和环绕音箱最好淘汰,有条件的话尽量使用音箱大厂(如惠威、惠普、君悦等)AC-3影院套装产品。如果打算自制,则最好购买防磁高低音单元,左右主音箱及中置环绕采用完全相同的单元最为理想(至少采用同系列单元或相同振膜的单元),音箱构造接近,以期取得音色的一致性。超重低音音箱是杜比AC-3标准中重要的一员,系统中增加了合格的超低音,对整体氛围感及气势将有极大影响,而普遍采用的有源超重低音音箱自制起来也不算太难,但超重低音音箱的摆位及与其它音箱的配合则需花大力气仔细调整,非一朝一夕可以搞定。
最后,提醒各位使用DVD机的读者,DVD机除了硬件意义上的连接外,软件(字幕菜单)上的设置一定要正确。例如从DVD的AC-3解码5.1输出口引出信号,播放DVD时一定要将“模拟音频输出”选项设为“5.1输出”;而播放两声道的CD时,应该为“两声道输出”或使用两声道输出端子。不同品牌的机器菜单会有一些小差异,务必仔细阅读其说明书。
对本文图2,图3所示五声道功放对57785装2-5.1声道解码器及超重低音电路组件等发烧产品感兴趣的读者,请见本期2000-8—4插页广告。(朱广皓)