四川 涂永生:如何用简单的方法判断电解电容的极性?
对磨去标记的电解电容可以利用万用表电阻挡测量。因为只有电解电容的正极接电源正(电阻挡时的黑表笔),负极接电源负(电阻挡中的红表笔)时,电解电容的漏电流才小(漏电阻大)。反之,则电解电容的漏电流增加(漏电阻减小)。测量时,先假定某极为“+”极,让其与万用表的黑表笔相接,另一电极与万用表的红表笔相接,记下表针停止的刻度(表针靠左阻值大),然后将电容器放电(即两根引线碰一下),两只表笔对调,重新进行测量。两次测量中,表针最后停留的位置靠左(阻值大)的那次,黑表笔接的就是电解电容的正极。测量中最好选用R×100或R×1k挡。(沈征)
上海 王强:怎样根据电子产品的工作原理图规划印制板图?
根据电子产品的工作原理图画出印制板图应遵循以下几点去做就能较好地完成。
1.印制板上电源正、负极引线铜皮应宽一些,最少也应在3mm以上,且电源线最好安排在印制板两边。
2.在原理图中靠得近的元器件,在电路板上也应尽量靠近。
3.尽量减少跳线,最好一根不用。
4.先从元件面画印制板的草图,然后用复写纸拓一下,再把草图翻过来就是印制板图了。
5.可以借助有金属外壳的元件,来连通两边要接通的电路。
6.可在元件的缝隙间穿线,如集成电路两个管脚间可走一根引线。(沈长生)
苏州 张成海:我是个初学者,有几只大功率晶体三极管,如何测量它们的好坏和β-值?
大功率三极管工作时电流是很大的,因此它的P-N结的面积就很大,漏电流也相对较大,如3AD30这类锗大功率管,手册中标明的穿透电流高达10mA,这比小功率管大多了。因此在测大功率管PN结正反向电阻时,如果还像测小功率管那样用R×1k、R×100挡,就会因为漏电流大,而万用表的满度电流小,测出的阻值都很小,好像三个电极都击穿了,这样就无法测出三极管的好坏。因此测大功率三极管的PN结正、反向电阻应该用R×10或R×1挡。测量时正、反向电阻差别很大时三极管是好的。如果是大功率硅管,其反向电阻应大于500kΩ。
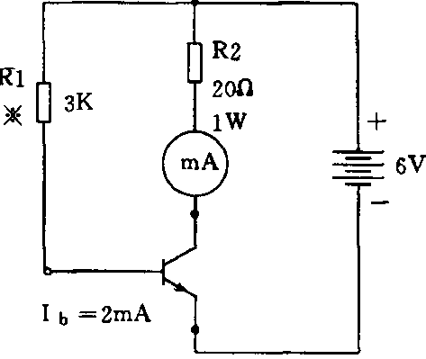
测量大功率三极管的β-(即h\(_{FZ}\)),也与测小功率三极管hFE有所不同。依据三极管共发射极放大系数h\(_{FE}\)(β-)定义:hFE=I\(_{c}\)/Ib。对大功率管来讲集电极电流应取得大一些,在不加散热片的情况下:P\(_{CM}\)(Vc×I\(_{c}\))=5W的管子可按1W算;10W的管子可按1.5W算,瓦数再大的管子可按2W算。如测试电压为6V时,集电极电流可控制在200mA以内。
测试电路见附图,调整电阻R1使基极电流为2mA,然后在集电极电路中串一个电流表(200mA左右),每次测量时只要读出I\(_{c}\)的数值(电流表的数值)根据hFE=I\(_{c}\)/Ib(2mA)就能得出大功率管的β-值。(沈征)

新疆 孙传华:我在阅读电子图书时,经常看到“与门”、“非门”、“或门”、“二进制”等术语,请画图并加以说明。
你说的这些名词都是数字电路中的一些基本概念。“与”、“或”、“非”是借用逻辑学中的概念。“与”就是条件都满足才能达到目的,比如图1中,只有S1与S2都合上灯才能亮,这就是“与”的关系。

在数字电路中,一般都用“0”代表低电平,用“1”代表高电平,用“与”的关系做成的集成块就叫“与门”,如图2所示。在图2中只有输入端A、B都是高电平时输出端才是高电平。

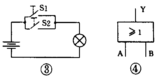
“或”就是只要有一个条件满足就能达到目的。如图3所示,只要S1或S2有一个开关闭合灯就会亮,这就是“或”的关系。用“或”的关系做成的集成块就叫“或门”,如图4所示。图4中输入端A、B只要有一个是高电平,输出端就是高电平。

“非”就是相反的意思。如图5所示,开关不接通时灯亮,开关接通时灯反而不亮,这就是非的意思。用“非”的逻辑做成的集成电路就叫“非门”(也叫反相器),如图6所示。图6中当输入端A为高电平时输出端为低电平,反之输入为低而输出为高。

“二进制”就是只有“0”和“1”两种状态,二进制数是逢二进一,比如1+1就等于10,二进制与十进制数的对应关系如附表所示。比如用灯亮表示1,灯灭表示0,用二进制表示十进制数的6就是亮亮灭(110),如图7所示。(沈征)

