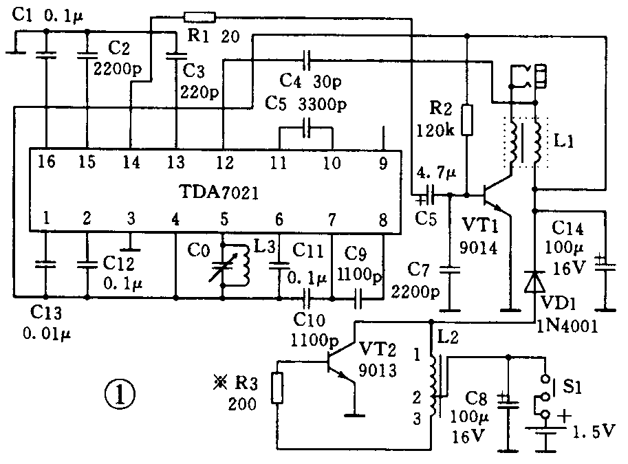
新型的TDA7021T单片FM收音机芯片,可以用一节干电池供电,采用升压电路做成微型调频收音机,电原理图如图1所示。

FM单片收音电路TDA7021T,贴片式封装,最低工作电压为1.8V(TDA7010为2.7V),静态工作电流为6mA,接收频率范围为1.5~110MHz,最大输入信号电平为200μV,静噪工作时接收灵敏度可达到5μV;VT1、R2等组成音频放大电路,将IC1第14脚输出的音频信号放大后推动耳机发声。耳机采用随身听立体声耳塞机,由于L1的高频阻流作用,耳机引线兼作接收天线,可以省去拉杆天线。1.5V电源经过VT2、L2、VD1等组成的升压电路升压后,输出足够的电流及电压供TDA7021T及耳塞音频放大电路使用。
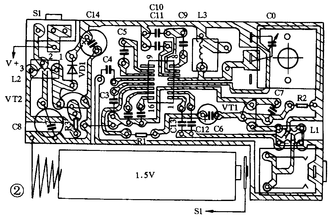
高频阻流圈L1及升压线圈均采用AM中周的绕线及工型磁芯自己绕制,L1为双线并绕8T而成;L2的1~2端为80T、2~3端为20T,绕制完毕用燃烧蜡烛滴蜡固封即可;VT2(9013)不宜用其它管子代替,否则升压电路容易停振不工作;调整R2可改变耳机音量大小;R3主要是向VT2提供偏置电流,稍微提高R3的阻值可使升压电路本身耗电量减少,同时延长了电池的使用寿命。本电路调试十分简单,只需调整一下L3的圈距,使CO在容量最大时收到88MHz低端信号,容量最小时收到高端108MHz的信号即可。为了方便制作,图2给出了印制电路板图,供大家参考。(伍如云)
