踢足球是青少年非常喜爱的一项体育运动。本文介绍的这种电子游戏,可以模拟足球比赛,它由对攻双方及裁判共3人组成,看谁先将足球攻入对方大门。比赛开始时,在各自大门口(外形见图1)各有一个发光管,发红色光的代表红方,发绿色光的代表绿方。如果哪一方的发光管颜色被对方发光管颜色所代替,即表明对方已将足球攻入大门了。

1.电路原理

该装置的电路如图2所示。IC2、IC3是两片十进制计数器CD4017,它的10个输出端Y1~Y10分别接到H1~H10的R、G极。比赛场上足球只有一个,所以H1~H10用10只三色变色发光二极管表示。当R极为高电平时,管子发红色光,代表红方。当G极为高电平时,管子发绿色光,代表绿方。当R、G极同时为高电平时,管子发橙色光。CD4017电路有CL触发计数端(高电平有效),有EN—使能端,当计数脉冲从CL端输入时,EN—端必须接低电平才有效,否则不予计数。CD4017在CL端输入脉冲的作用下,Y1~Y10依次为高电平,相对的输出端使H1~H10发光。
IC1是一片双D触发器CD4013,构成两个单稳态电路。设置两个单稳电路有两个作用:一是按钮闭合时,其触点易产生抖动现象,一般按一次按键为10~15ms,图中两个单稳的延迟时间为20ms,保证了按一下按钮,只发出一个控制信号,不会产生误触发。二是按下按钮时,其Q端为高电平,在Q高电平延迟时间内(Q端均接至对方的EN—端),使对方按下按钮无效,亦是阻挡了对方的进攻。二极管VD1、VD2的作用是当Q端回复为低电平时,Q端的高电平通过二极管快速放电,为下次再按按钮作好准备。图3是裁判用的蜂鸣声电路。

游戏过程如下:合上电源开关S后,+6V电压经C3、R5微分产生一正尖峰脉冲作用于IC2、IC3的复位端R,迫使它们清零,则Y1端均为高电平,H1发红光,H10发绿光,裁判按一下SB3按钮,晶体管导通,蜂鸣器HA发声,表示比赛正式开始。红方和绿方可看谁抢先按下各自按钮SB1、SB2,如果是红方抢先一步,则IC2获得一个触发脉冲,Y2为高电平,H2发红光(H1熄灭),表示红方向前进了一步。与此同时,Q1端的高电平使IC3的EN—端亦为高电平,锁住按SB2所输入的计数脉冲,H10仍为绿光;反之亦然。如果双方同时按下按钮,且僵持不放,灯光也不再向前移动一步,裁判则按SB3,HA发声以示警告,双方再重新开始对攻。如果有某只发光管发出橙色光(即G、R均为高电平),裁判亦按SB3,HA发声,表示这是合理冲撞。此时按SB3时间可稍长一些,与前次有所区别。待到一方的发光管颜色(如H1或H10)被对方的发光管颜色代替,例如H1红光变成绿光,则表示绿方已将足球攻入红方大门,赢了这场足球比赛。裁判可使HA的发声时间更长一些,以示庆贺。若要再比赛,可打开S后再合上即可。
2.元器件选择与制作
H1~H10选用三色变色发光二极管IEF302。图2电源选用5号电池串联组成。图3电路电源选用A23型12V电池。VT选用8050型小型塑料NPN硅晶体管,β>90。SB1~SB3选用CS-316型按钮开关。HA选用KS-2型蜂鸣器。

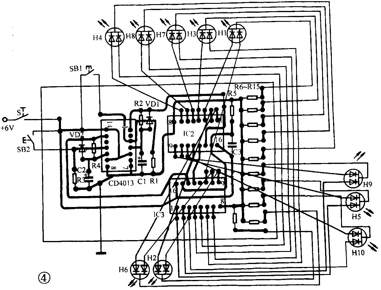
图4是该电路印制板。IC1~IC3系CMOS电路,焊接时须使电烙铁有良好接地,以免损坏集成块。将印制板装进用三合板制成的小盒内(见图1),长度可自行决定,若使用不方便,亦可将SB1、SB2用导线引到盒外。图3电路直接搭焊装在另一小盒内。该电路无需调试即可正常工作。(苏成富)