随着电子产品与家用电器深入到家庭,需要时间控制的产品也日益增多。例如定时开关的收音机、咖啡机、风扇、小烤炉、厨房的消毒碗柜、洗碗机、健身机的限时器、微波炉的定时器等等。此外,工业及医用领域也有许多应用。本文介绍一些有代表性、便于应用、价格低廉的计时类IC,也许在您的新产品开发中可以用到它们,从而大大简化您的设计工作。
此类IC均以COMS工艺制作,共同的特点是功耗极低,静态电流低至5μA,工作电压从1.3V到5V,一般有两个输出端口可直接驱动其它IC、可控硅或三极管,用于控制应用,同时专门有一个驱动蜂鸣器端口。
一、无显示4段定时IC(应用电路见图1)

本电路非常适合要求单一几段定时、无需显示而追求低成本的场合,目前大量应用在消毒碗柜、洗碗机中。将振荡晶体改成电阻,极低的成本与极小的体积是传统机械定时器所不能比拟的。同时4段定时的时间及输入、输出形式均可在出厂前掩膜设定。目前有3、5、30、60分钟格式的4段成品IC。主要管脚的参数及输出形式见表1。LED1在设定时间时闪一下(250ms):计时过程中每5种闪亮一次;计时时间到时,VD1与VD2对闪(1Hz)。

二、倒计时类IC
片内自带有LCD显示驱动电路,显示可以是分、秒或时、分,LCD的位数有3~4位。其应用在要求随时设定定时时间的场合,灵活、精确设定可至秒位。典型应用见图2~图6。





图2为三键式4位LCD显示倒计时IC。可正计时,还带有计时结束返回前次设定值的所谓RECALL功能,最大99分99秒、最小1秒。主要输出格式见表2。此类IC比较突出的应用是在医疗保健方面,嵌入家用保健、治疗仪中,随意设定治疗的时间。按键少、设定方便,面板亦显示得简捷。

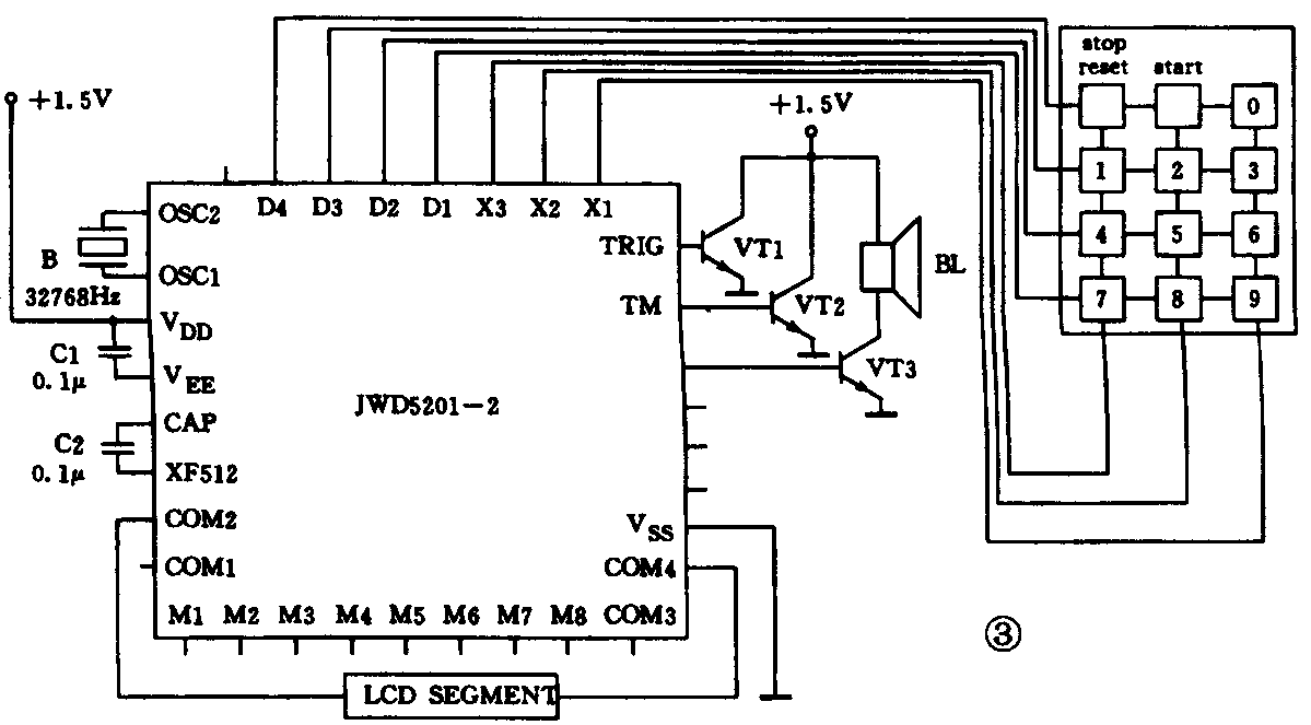
图3为12键式4位LCD显示IC。主要是输入键细分,其它功能同图2。此类IC在玩具及单一计时产品设计方面应用广泛。
图4为可固定计时也可一般计时的IC。3位LCD显示、最大999分钟,最小1分钟。秒的显示只能体现在“S”上。固定计时的接法见图5,该例为固定30分钟接法。管脚特征见表3。其优点在于固定计时的时间可由用户自己设定。在许多应用场合,要求每次按一个键就固定运行一段时间,而该时间又不一定是厂家提供的。此IC就恰好在这一点上给客户提供了方便。

图6为24小时倒计时IC。它也可以正计时,还可以循环。倒计时可在24小时内任意设定,正计时只能24小时为一周期循环。这主要是用在要求计时时间长,设定时间随意的场合,平时还可以用于一般的时间显示。
三、时钟类定时器(应用电路见图7)

此IC内置了LED显示驱动电路,可正常12/24小时制计时,亦可选择分秒显示,并有2小时定时及闹醒鸣响输出控制,4位LED显示。用市电整流供电,并以50Hz或60Hz工频作为计时基准,有停电备份电池组。此IC已在许多家电产品中应用。近来随着厂家提供软封装廉价IC,成本可大大下降。
编者按:需计时类IC及成品请垂询0755-6641385,或写信至(518054)深圳市南山区桂庙路荔园大厦乙座2B,姚旭收。Email:yaoxu2001@21cn.com。(汤庆 姚旭)