关于音箱摆位的文章已有很多,关于音箱摆位的具体实例也屡见不鲜,但究其根源,不外乎是要通过物理的手段,去解决听音心理上的问题。以往人们过多地强调了音箱摆位之后主观听感“心理”的一面,面在音箱摆位的声学“物理”方面谈及得较少;以致于肯定音箱摆位重要性的人,误以为音箱摆位是一种只可意会、不可言传的高深功力。而否定音箱摆位重要性的人,误以为音箱摆位仅仅是一派想入非非的玄说。
其实,在当今科技飞速发展的时代,有关音箱摆位的理论问题多年前早已在声学、振动学、流体力学等领域得到过充分地研究并取得了定理级的成果。只不过当时涉及到的不是音箱而分别是潜水艇、导弹和喷气式发动机而已。
音响科学,是一种跨学科的科学,并非是一种简单的边缘学科。我们先从音箱开始学习和研究,看清楚相关的科技理论,才能够把音箱摆位的物理特性与心理因素的二重性说俗说透。
一、为什么要进行音箱摆位?
这是一个最现实又最根本的问题。首先是由于我们目前的音箱,并不是一个理想的发声体,其次是我们的房间,也不是天生理想的听音环境。
为了使这些并不尽如人意的音箱能在有所欠缺的房间内发出你所能接受的、相对比较好的声音,最简单又最直接地方法就是进行音响器材搭配和音箱摆位。当然,已经买回家的音响器材,再进行大规模地搭配重组的可能性不大,而进行正确的音箱摆位几乎成为有效与省钱的最佳方式。
1.关于音箱的A、B、C
(A)关于音箱的放音辐射角度
一只音箱在组装、调试完成以后,它所具有的声学特性基本上就成了一个定量。例如它的阻抗、灵敏度、频响宽度以及阻尼特性(Q值)等等。
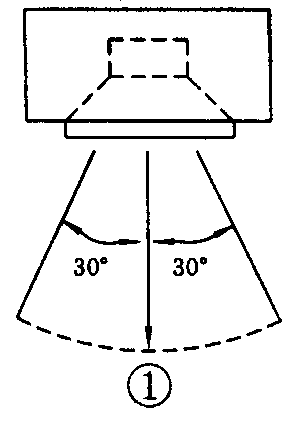
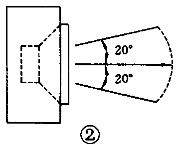
人们在选购音箱时,往往只注意以上的技术参数和重播音色的好坏,却忽略了一个十分重要的技术参数——这就是音箱的辐射角度。音箱的辐射角分为水平辐射角和垂直辐射角两方面。当你面对着音箱轴线时,水平辐射角指的是向左和向右的宽度(如图1所示)而垂直辐射角指的是向上和向下的角度(如图2所示)。


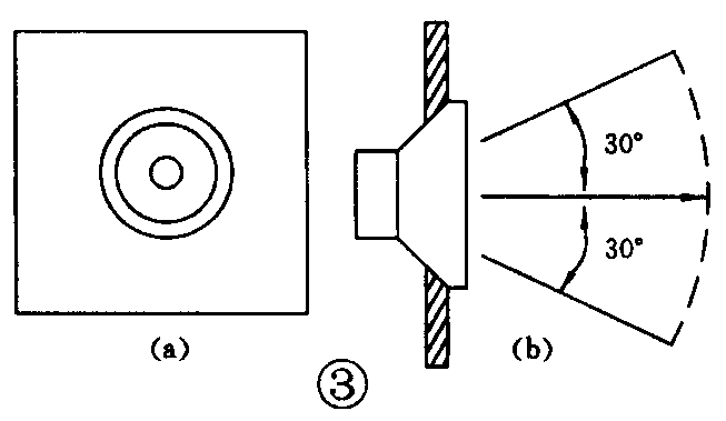
当一只锥盆式中音或低音扬声器组装完成后(见图3),在消音室内的无限大障板上对它进行测试时,可以得到以下的数据:
轴向频响:45Hz~3.5kHz ±30°
频响:45Hz~3.35kHz
轴向声压:87dB/Wm ±30°
声压:85.5dB/Wm

这时扬声器单元不论是水平方向还是垂直方向的频响与灵敏度是一致的,辐射角也是相一致的。但装到音箱上之后,由于多数音箱的高中低音单元从上向下排列而音箱又多为垂直方向使用,这是由于各单元间在声衔接过程中的干扰,成品音箱的水平辐射角要大于垂直辐射角。
从上面的一组数据不难看出,在扬声器单元的轴线位置时,它的频率响应和声压都是最好的。当随着听音角度的偏离,你所得到的频响与声压都在进行着劣化与衰减。
早期的扬声器单元,尤其是纸盆锥度很陡的扬声器单元,不但辐射角度会减少,而且会产生较大的失真(见图4)。这些失真主要是由于锥形扬声器在工作中,振膜对空气的压缩(抽真空)过程中,产生的涡流引起的,这是以振膜向前运动时(压缩时)为例,反之亦然(见图5)。由于空气为弹性体,所以它在流动时很容易受到压缩和负压(抽真空)的干扰。当振膜向前运动时,理想状态下的空气应平稳地、轴向地、进行压缩(振动)。而实际情况并不是这样,在大量的平行气流中,有少部分气流沿着喇叭状的振膜接触,向斜面滑行并在振膜中心球的作用下,产生了涡流。这部分涡流经过压缩后又对振膜中心的平行气流造成扰动,引发了失真。这种失真的危害主要有两个,一是使重播的声音劣化,引入了原本没有的声音(振动)。另外还使得频响的高端下降,这种无序的涡流抵销,干扰了一部分本应发出的高频振动和微小的细节。


早期的扬声器振膜,由于受纸浆配方和加工工艺的影响,自身的刚性不足,所以必须把锥度做得很陡,才能产生足够大的强度(刚性)。由于纸盆的锥度加大了,深度增加了,在压缩空气的过程中,建立空气弹簧的时间也延迟了。所以,早期的锥盆扬声器的声音比较肉(速度感较慢),比较甜、缺少足够的细节。缺少足够细节的另一个原因,是因为刚性不足的软振膜自身的内阻尼过大,对微小的振动吸收和衰减过大造成的。
什么是振膜自身的内阻尼呢?这是指振膜本身吸收振动的能力。我们都知道,越柔软的东西,吸收振动的能力越强,内阻尼越大;硬度越大的东西,吸收振动的能力越差,内阻尼越小。
使用柔软的、松压的纸盆做振膜,不会产生驱动信号以外的谐振,但是可能产生切割振动(见图6)。切割振动是指振膜由于刚性不足而造成的局部不同步的振动。

使用金属等刚性强的材料做振膜,由于自身的刚性高,不会产生切割振动,还具有散热性能良好,可以适当增大音圈的承受功率,但金属刚性振膜由于自身的内阻尼过小,容易产生特殊的金属谐振与声染色。
目前被实践证明重播音色好,综合指标高的振膜材料主要有紧压纸浆加胶振膜、半松压纸浆加胶振膜和玻璃纤维振膜。这几种振膜有适当的内阻尼和足够高的刚性。使用这类振膜的单元,重播音色准确、耐听,瞬态特性和承受功率等技术指标都不错。采用这几种材料制成的振膜,可以制成较平缓的锥形,锥盆深度小,工作时产生的涡流小,声音的辐射角度可以扩大到±140°或更大一些。
使用这类单元制成的音箱,摆位时的衔接特性和可操作性都会好一些。
(B)音箱自身的频率响应
音箱自身的频率响应,与音箱的摆位密切相关。这是由于不同频段的音频振动,在空气中的传输特性并不完全相同。因此造成人的主观听感和判断的概念也不相同。
从人耳可听到的最基本频带20Hz~20kHz来说,大致可以分为两大部分,这就是可听的部分和可感觉的部分(见图7)。其实20Hz~20kHz仅仅是人们多年以前,受当时的技术条件下严重制约的一理论性、概念性的音频带宽。随着音响技术的不断发展进步,这个从前被认为足够宽广的频带,已经悄悄地向更高和更低的两端延伸。

从图7可以看到,在全音频频带中,可听的部分是中间的一段,而可感的部分是低频和高频的两段。所谓的可听段,是指所有乐器最醒目的基频频段。在这个频段里,人耳可以清楚地判断出乐器的左右和远近。
在可听频带的高频端,从6kHz以上,就开始具有泛音(基频的高次谐波)的成分。到了10kHz左右时,乐器的基频成分越来越少而泛音的比例越来越大,使声音的定位感逐渐虚化。
10kHz以上的声音波长很短,只有几厘米长。这么短波长的声音在空气里传播时,要产生多次的、扩散型的振动才能传到听音者的耳中。
如果把耳朵贴在三角铁附近时,你会听到三角铁的声音很死、很木,因为这时的基频占了主要的部分。当你退后几步再听时,你会发现三角铁的声音变润了,变得更加清脆了。这就是因为三角铁的高频泛音在传播的过程中,经过多次扩散和反射,衰减量很少,而三角铁的基频在传输的过程中受到了一定的衰减的结果。
声音的可听部分在空气里传输时很容易受到较长的距离、传输途中有物体遮挡、室内声学特性差(对某一频段有过大的吸收或反射)的影响与衰减。而声音的可感部分在传输过程中,有些时候反而会得到加强。例如可感部分的低频端,就常常会产生这种现象。
交响乐队里的倍大提琴(低音倍司),能发出的低音是几十Hz。例如倍大提琴所发出的最低音是32Hz,它的基频波长是10.6m左右。按照一般乐器低频共鸣箱的最佳长度不少于基频波长的1/4计算,倍大提琴的琴身起码要做2.65m之巨才行。这一点在实际制造与演奏中,是根本无法实现的。但倍大提琴的低频共鸣,是可以通过琴身之外的厅堂来进行谐振和加强的。
由于室内厅堂的内容积远大于倍大提琴的琴身(共鸣箱),倍大提琴的低音会在厅堂里产生共鸣和反射,得到足够的加强。所以在近处听着并不太响的倍大提琴,在离开了一段距离之后,反而更加明显、有力度了。这时也产生了另外一个问题,这就是低频的反射共鸣声远大于低频由琴弦振动所产生的原始直达声,就产生了倍大提琴的低音定位不够准确的问题。
倍大提琴的定位受音乐厅声学特性的影响,会产生一定程度的位移,但绝不会发生左右位置颠倒的现象。倍大提琴的这种低频可感性与定位位置虚化,是由于音乐厅的低频共鸣所造成的,应称之为共鸣型的可感声源,与高频扩散型的可感声源是两码事儿。但在定位(指向性)不明确的这一点上,有着较大的共性。
(C)音箱自身的直达声与绕射声
音箱由于受结构形式、箱体材料的选择、加工的精度等各方面的影响,音箱在使用的过程中,其本身就是一个直达声与绕射声的混合型声源。早期的迷宫式音箱,靠音箱箱体内的较长的低音管道来加强低频的能量(见图8)。尽管低音释音孔设置在音箱面板的正前方,但其所释放出的低频部分,是由较长的低音通道的多次反射而加强的。因此这部分低频具有很强的绕射声的特征——这就是它所特有的定位不明确性。迷宫式音箱的频响低频端,也比较容易出现轻微的脱节现象(见图9)。


迷宫式音箱是硬折环低音单元时代的产物。扬声器的低音单元在几十年前,其边缘的折环多为硬折环,由加了胶的布质材料制作。多数民用品的折环,基本上是纸质振膜的外延部分。由于这类折环自身的硬度大,振膜的行程范围小,所以被称为硬折环单元。这类低音单元自身的低频fL都比较高,一般都是几十Hz到100Hz的范围,其工作于振动型的发声状态。由于自身的低频fL不够低和振动型的发声状态,采用迷宫式的箱体结构来加强低音,是恰如其分的。
随着扬声器单元制作技术的进步,采用橡皮边、泡沫边的软折环低音单元问世了。这类低音单元的行程长,自身的fL就较低,一般为几十Hz,最低的可以达到几Hz。软折环的低音单元在低频段工作于活塞型的发声状态,所以不需要迷宫型的箱体来加强低频。有些对音箱发声原理了解不深的厂家与爱好者,给软折环的低音单元加上了较长的迷宫低音通道,造成了音箱瞬态特性差和低音严重脱节的不良后果。这也是近代技术力强的厂家,为什么淘汰了迷宫式音箱的理论根据。
倒相式音箱的工作状态,也处于直达声与绕射、反射声的混合型工作状态(见图10)。

由于倒相式音箱的倒相管的长度较短,距低音单元距离校近,所以倒相式音箱在工作时的绕射、反射比例相对较少,重播的音色、相位较为准确。这也是倒相式音箱在目前这个阶段大行其道的主要技术根据。
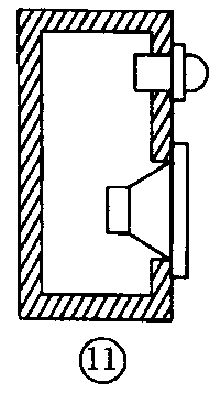
还有一类音箱,这就是密闭式音箱(见图11),这类音箱不设迷宫释音孔和倒相孔。

从理论上讲,密闭式音箱容易做到较好的频率响应和完全的直达声,但实际的工作状态并不是这样。由于箱体材料自身的强度问题,密闭式音箱的箱体由于受较高的箱内空气振动,在工作状态下,箱体会产生较强的振动(绕射声)。迷宫式、倒相式音箱由于箱体的半开放状态,箱体自身的振动会相对小一些。
密闭式音箱的测试曲线比较平直,因为测试时处于仅输入1W功率的小功率工作状态,在正常的使用过程中,所输入的功率远大于1W。由于受箱体内容积的制约,受箱体内阻尼材料的影响,密闭式音箱在大功率工作时,其低频端的频率响应会明显地劣化(见图12),音箱的瞬态特性也没有倒相式音箱好。

知道了音箱的工作特性之后,就很容易理解频率响应、功率、灵敏度全都相同的不同结构形式的音箱,其重播时的音色与声音表现都会有很大不同的现象。
2.关于房间的A、B、C
(A)由于房间具有较大的内容积和比较大的对称性,没经过处理的房间很容易产生频响缺陷,而这种缺陷在低频端表现得比较明显。由于低频段的波长较长,而房间的某些边长又与低频的波长相接近,故容易产生不易控制的低频谐振。
如果你的听音室比较接近正方形,且房间的高度又比较高,这时房间容易产生单频率的谐振(见图13)。

如果你的听音室的长和宽是成整数比例的长方形,在这样的房间里容易产生双频率的谐振(见图14)。

如果你的听音室长和宽既是整数比例的长方形,房间的高度又较低,则在重播音乐时,声音在传输的过程中,容易与天花板和地面发生多次的碰撞而产生驻波(见图15)。近代的居室尽管面积很大,但高度却很小,非常容易产生驻波,所以,作为听音室的房间以高一些的为好。

(B)房间的声反射程度
由于房间墙壁的材质不同、光洁度不同,因此不同的房间,对声音的反射能力不同。例如居室内采用豪华的大理石墙面,声音就会在平行的墙面上产生多次的反射,造成直达声与反射声的比例失调,干扰了直达声的正常传输,使重播的声音含混不清。
(C)异形房间与弧形房间
异形房间是指剧场等非正四边形的房间。这种多边形的、具有扩散形状的房屋结构,对声音传输很有利,但反过来是绝对不行的(见图16)。

也有一些专为观景而设计的异形房间(见图17),并以玻璃为主要建筑材料,这类房间对音乐的重放毫无益处。

还有一些受建筑物整体造型制约而成的弧形房间,对声传输的不良影响是非常大的(见图18)。

以上介绍的这些并非专门为了听音而设计的异形房间,对声音重播是没有任何好处的。
有了以上对音箱、对房间的基本了解,我们就可以明确音箱摆位的基本目的,并找出一些室内声学处理的简单方法。(未完待续)(耿纯)