编者按:本期重点介绍锂-离子电池充电器IC,感兴趣的读者可到相关的网站上查询更详细的信息,或向编辑部索取英文技术资料(0.5元/页)。联系电话:010-67134095-18。下一期的“应用电路”栏目将详细介绍锂-离子电池保护器AIC1811及其应用电路。
ADP3801/3802(20页)
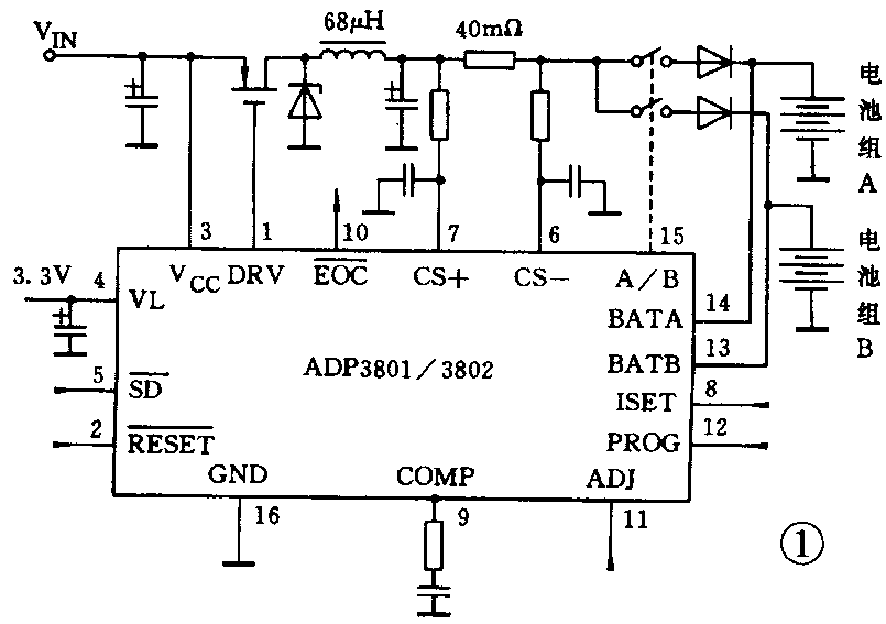
ADP3801/3802是AD公司1998年的产品,是一种高频开关型双锂-离子电池充电器IC。主要特点:终止充电电压精度高,在+25℃时为±0.4%,在-10℃~+70℃时为±0.75%;合理的输出终止充电信号;可设定充电电池数(1~3节);可设定充电电流;芯片上有一个可输出3.3V低压差稳压电源,可提供给微控制器(μC)作电源;充电电流软启动;低电压锁存;可调整终止充电电压范围为±10%;若外接μC则也可充镍镉、镍氢电池;输入电压4.1~20V;SO-16封装。
ADP3801与ADP3802的区别是,前者的工作频率为200kHz而后者为500kHz。
该器件组成的充电器电路简单,主要应用于通用快速充电器、蜂窝电话、便携式计算机及仪器的充电器等。
图1是该器件组成的4A充电电流的双锂-离子电池充电器简图。

ADP3820(8页)
ADP3820是AD公司1999年的产品,是一种锂-离子电池充电器IC。该器件可简单地组成充一节锂-离子电池电路,典型应用电路如图2所示。

主要特点:总的精度可达±1%;静态电流,典型值为630μA;有关闭控制(低电平有效),在关闭状态时耗电典型值为1μA;输入工作电压范围宽(4.5~l5V);充电电流可设定,如图2中的Rs为50mΩ时,充电电流Io=1A;工作温度范围-20℃~+85℃;有6脚SOT-23-6封装及8脚SO-8封装。该器件内部有反向漏电流保护及栅-源钳位保护。
该器件组成的充电器适用于便携式仪器、台式计算机、蜂窝电话等。
以上两器件都是AD公司的产品,其网址为:www.analog.com。
LM3420系列(17页)
LM3420是NS公司的产品,是一种锂-离子电池充电控制器IC。该系列的后缀有4.2、8.4、12.6、16.8分别为充1~4节锂-离子电池。主要特点:终止充电电压控制精度高,可达±0.5%;静态电流小,典型值为85μA;小尺寸SOT-23-5封装;充电电流可设定。
典型充电器电路如图3所示。由LM317T提供恒流,充电电流由R\(_{LIM}\)确定,ILIM=1.25/R\(_{LIM}\)。图中器件型号为LM3420-8.4,可充两节锂-离子电池。 RLIM=1.2Ω时,充电电流为1A。

LM3620(6页)
LM3620是NS公司1999年开发的新产品,它是充1~2节锂-离子电池的充电器控制IC。它外接驱动PNP三极管可组成极为简单的充电电路,如图4所示。1脚与5脚接一个选择开关K:K关闭时用于石墨阳极的锂-离子电池;K打开时用于焦炭阳极的锂-离子电池。若需要驱动更大的电流,在3脚外接一个NPN驱动管来驱动。

主要特点:可选择不同材料做阳极的锂-离子电池(决定终止充电电压);终止充电电压精度为±1.2%;最大输入电压为30V;充电器未上电时,控制器的静态电流极小(10nA);小尺寸SOT-23封装。
以上两器件都是美国国家半导体公司的产品,网址:www.national.com。
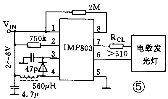
IMP525/560/803(8/8/8页)
IMP525/560/803是IMP公司的产品,它是一种电致发光灯的驱动器。电致发光灯在液晶显示器中提供背光源,使在夜间或光线暗的条件下能看清显示。
电致发光灯需要高压才能点亮,IMP525/560/803就是一种低压直流输入,经DC/DC升压后,经高压H-桥驱动输出低频高压的电致发光灯驱动器。该器件系列主要特点有:应用电路简单(见图5);外设电阻可设定振荡器的频率,它可改变背光的颜色及亮度,并可省电;工作电压范围宽(0.9~6V);输出电压稳定;有关闭功能(可进一步减小功耗);有微SO及SO-8贴片式封装。

该器件主要应用于LCD模块、蜂窝电话、IC卡电话机、BP机、汽车仪表显示板、音响、便携式仪器等。
这3种不同型号的器件主要是输入电压和输出驱动电压不同,见附表。

该器件由武汉力源股份有限公司经销,其网址为:www.p8s.com。
AD22105(8页)
AD22105是AD公司的产品,是一种用户可设定控制温度的温度开关。该器件的主要特点有:控制温度范围宽,从-40℃到+150℃;用一个外接电阻RSET即可设定开关阈值温度;阈值温度的精度可达±2℃;为保证温度开关的工作稳定性,内部设有约4℃的迟滞温度;工作电压范围宽,从2.7V到7.0V;功耗低,在3.3V工作电压时,其工作电流仅70μA;8脚贴片式SO封装。
该器件内部有温度传感器,传感器输出与温度对应的电压,再同阈值温度的相应电压作比较(有一定迟滞的电压比较器),其输出驱动晶体管(集电极开路输出),内部有上拉电阻,见图6。其应用电路特别简单,见图7。当温度未达到设定的阈值温度时,电压比较器输出低电平,晶体管截止,输出端(OUT)输出高电平;当温度达到或超过阈值温度时,电压比较器输出高电平,晶体管导通,输出端输出低电平。利用这种电平变化信号去控制执行电路。


该器件组成的温控电路可应用于工业过程控制、家用电器温度控制、恒温箱、电风扇控制或仪器中散热风扇控制等。
该器件为AD公司产品,武汉力源公司代理,相关网址见ADP3801及IMP525。