三极管的管型及管脚的判别是电子技术初学者的一项基本功,为了帮助读者迅速掌握测判方法,笔者总结出四句口诀:“三颠倒,找基极;PN结,定管型;顺箭头,偏转大;测不准,动嘴巴。”下面让我们逐句进行解释吧。
一、三颠倒,找基极
大家知道,三极管是含有两个PN结的半导体器件。根据两个PN结连接方式不同,可以分为NPN型和PNP型两种不同导电类型的三极管,图1是它们的电路符号和等效电路。

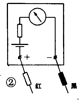
测试三极管要使用万用电表的欧姆挡,并选择R×100或R×1k挡位。图2绘出了万用电表欧姆挡的等效电路。由图可见,红表笔所连接的是表内电池的负极,黑表笔则连接着表内电池的正极。

假定我们并不知道被测三极管是NPN型还是PNP型,也分不清各管脚是什么电极。测试的第一步是判断哪个管脚是基极。这时,我们任取两个电极(如这两个电极为①、②),用万用电表两支表笔颠倒测量它的正、反向电阻,观察表针的偏转角度;接着,再取①、③两个电极和②、③两个电极,分别颠倒测量它们的正、反向电阻,观察表针的偏转角度。在这三次颠倒测量中,必然有两次测量结果相近:即颠倒测量中表针一次偏转大,一次偏转小;剩下一次必然是颠倒测量前后指针偏转角度都很小,这一次未测的那只管脚就是我们要寻找的基极(参看图1、图2不难理解它的道理)。
二、PN结,定管型
找出三极管的基极后,我们就可以根据基极与另外两个电极之间PN结的方向来确定管子的导电类型(图1)。将万用表的黑表笔接触基极,红表笔接触另外两个电极中的任一电极,若表头指针偏转角度很大,则说明被测三极管为NPN型管;若表头指针偏转角度很小,则被测管即为PNP型。
三、顺箭头,偏转大
找出了基极b,另外两个电极哪个是集电极c,哪个是发射极e呢?这时我们可以用测穿透电流I\(_{CEO}\)的方法确定集电极c和发射极e。
(1)对于NPN型三极管,穿透电流的测量电路如图3所示。根据这个原理,用万用电表的黑、红表笔颠倒测量两极间的正、反向电阻R\(_{ce}\)和Rec,虽然两次测量中万用表指针偏转角度都很小,但仔细观察,总会有一次偏转角度稍大,此时电流的流向一定是:黑表笔→c极→b极→e极→红表笔,电流流向正好与三极管符号中的箭头方向一致(“顺箭头”),所以此时黑表笔所接的一定是集电极c,红表笔所接的一定是发射极e。

(2)对于PNP型的三极管,道理也类似于NPN型,其电流流向一定是:黑表笔→e极→b极→c极→红表笔,其电流流向也与三极管符号中的箭头方向一致,所以此时黑表笔所接的一定是发射极e,红表笔所接的一定是集电极c(参看图1、图3可知)。
四、测不出,动嘴巴
若在“顺箭头,偏转大”的测量过程中,若由于颠倒前后的两次测量指针偏转均太小难以区分时,就要“动嘴巴”了。具体方法是:在“顺箭头,偏转大”的两次测量中,用两只手分别捏住两表笔与管脚的结合部,用嘴巴含住(或用舌头抵住)基电极b,仍用“顺箭头,偏转大”的判别方法即可区分开集电极c与发射极e。其中人体起到直流偏置电阻的作用,目的是使效果更加明显。(沈培锋 张德俭)