干簧管与开关型霍尔传感器都是磁敏传感器,干簧管与开关型霍尔传感器的区别是,前者是一种机械式开关,在磁场作用下直接产生通与断的动作,后者则是个电子器件,在磁场的作用下输出开关信号(电平信号)。本文介绍干簧管的结构、工作原理并通过实验来了解它的应用。下期将介绍开关型霍尔传感器。
干簧管也称为干式舌簧管,是一种在玻璃管内封装二个或三个触头组成的机械开关,它的结构如图1所示。图1(a)是有一对触头的常开式干簧管,图1(b)是有三个触头的转换式干簧管(即有一级常开及一组常闭触头)。其引脚有的是直的,有的是折弯90°的。干簧管的玻璃壳直径为Ф2~Ф5mm,长度为15~50mm(分成小、中、大型),其触头尺寸不同,工作电流也不同(有多种型号供用户选择),小型的工作电流小于100mA,大型工作电流可达5A。

实验一、干簧管通断实验
套件供应的干簧管是一种小型干簧管并配套有一条形磁钢,我们用它来作通断实验。按图2将万用表拨在R×1k挡,并用鳄鱼夹分别夹住干簧管两引脚。磁钢按A的样子放置,从远处向干簧管靠近,在远处时,干簧管不吸会,电阻表指针不动;当磁钢移动到距干簧管10mm左右处,干簧管触头吸合,万用表指针指到零。同样,磁钢按B的样子放置,由远处移近干簧管,L3=10mm,L2≥10mm时,干簧管吸合。并且可以由实验证明吸会时与磁钢的极性(S与N极)无关。但按B的样子放置时,当磁钢移到干簧管中间一段位置时,干簧管由吸会转为不吸合(非灵敏区),如图3所示。所以一般磁钢大多按A的样子放置,为了吸会可靠,一般L1小于6mm。


通过本实验可知干簧管的通、断与磁钢的位置安放关系,并且可以看到干簧管是较灵敏的,工作是较可靠的。
实验二、简单的防盗报警电路
图4是一种简单的防盗报警电路,它用于防止盗贼非法撬开抽屉。磁钢安装在抽屉的后面,干簧管安装在桌子的内部,两者距离在5~6mm范围,干簧管吸合,三极管VT的b及e极被干簧管短路,VT截止,蜂鸣器不发声;当抽屉被非法撬开后,拉出抽屉时,干簧管由吸合转变释放,VT由10kΩ提供基极电流,VT导通,蜂鸣器发声。也可以用继电器代替蜂鸣器,由继电器的触头来控制警铃或“抓贼呀”语言报警IC经放大后来报警。

若有转换式干簧管,则电路更简单,如图5所示。

要注意的是,电源开关S应安装在较隐蔽处,主人离开前才将S会上,回来开抽屉前将S断开。
按这个电路的工作原理,同样可以设计成门、窗防撬报警器;也可以在一些饭店、宾馆里,当有客人推门进入时,发出“欢迎光临”的迎宾词的装置。
应用电路
1.液位传感器
图6是一种储液罐的液位传感器。磁钢安装在一个可根据液位高低旋转的浮子中,干簧管安装在一塑料管中。液位下降时,磁钢离开干簧管的距离增加,下降到一定程度时,干簧管释放;当液位上升时(如浮子实线位置),磁钢与干簧管靠近,千簧管吸合。根据干簧管的通与断可相应给出液位信号。如要更详细了解由干簧管组成的液位传感器可参着《无线电》1999年第1期第40页“液位传感器”一文。

2.按钮开关(也是一种位置传感器)
图7是一种由磁钢与干簧管组成的按钮开关。干簧管焊在两个带引脚的铜片上,一块小磁钢嵌入塑料杆,在弹簧的作用下,磁钢不能吸合干簧管。当将按钮按下时,磁钢与干簧管靠近,干簧管吸合;当放手后,弹簧的作用又使塑料杆上升,干簧管释放。

这种开关工作可靠、寿命长。
相关知识
1.干簧管与磁钢配合可供通信、电器和电子自动控制设备中做开关或给出开关信号,由于触头可流过较大电流,可用作功率开关或作为执行元件。该类器件工作温度范围:-20℃~+50℃。小型干簧管触头耐压 150~300V(常工作于直流12~24V;功率型触头耐压250V,可工作于220V交流通断。工作寿命与型号有关,一般可达10\(^{6}\)次以上。触头的接触电阻0.l~0.2Ω,动作时间l~3ms(它不能用作高速开关)。
2.干簧管与线圈组合在一起,利用线圈通过直流电产生磁场而使干簧管吸合可做成各种型号的干簧继电器。它与一般电磁式继电器相比较工作电流较小,其结构示意图如图8所示,但干簧继电器一般不用作传感器。(待续)

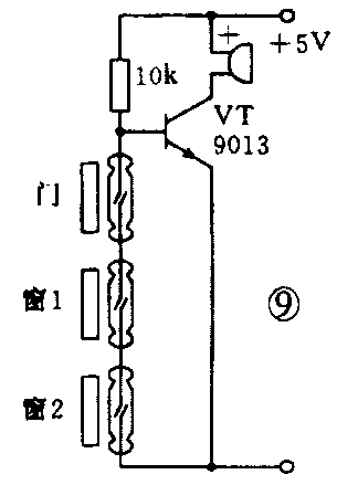
思考题
设计一个防门、窗被撬的报警电路,设有两扇窗、一扇门,要求任一门窗被撬都能发出报警,请你按图4的电路作一些改动,画出满足上述要求的电路来。
本期思考题解答
设计电路图如图9所示。只要格三只干簧管串联起来即可。(方捷)
