本文介绍一种模拟火箭发射的电子游戏,它采用集成电路制作,非常有趣,很适合电子爱好者自己制作。
电路工作原理
电路如图1所示。它由10只发光二极管组成的10到1倒计数显示和由16只发光二极管组成的模拟火箭发射两部分构成。与非门l、2,R1、C1组成脉冲振荡器,振荡频率为1Hz。与非门3、4,R3、C2和与非门5、6,R4、C3分别组成两个可控脉冲振荡器,当其A或B输人端为“1”电平时,振荡器工作,输出CP脉冲;当为0电平时,振荡器停振,无脉冲输出。IC是一片十进制计数器,在CP脉冲作用下,Y~Y10十个输出端依次为高电平,发光二极管VS1~VD10依次发光。它们模拟10到1倒计数显示。IC2、IC3是两片双4位移位寄存器,将IC2的输出端Q4A接至DB数据输入端,将Q4B输出端接至IC3的Dc端,再将IC3的Q4C输出端接至DD端,即接成16位移位寄存器。IC2的数据输入端DA接至晶体管VT的集电极上,当VT导通时,集电极电位为低,即D\(_{A}\)=0;当VT截止时,集电极电位为高,即DA=l。Q1A~Q4D组成一个16位灯光逐级递增(或递减)式显示电路。当D\(_{A}\)=l,第1个CP脉冲到来时,Q1A=l,发光二极管VDll发光。当第2个CP脉冲到来时,Q1A=Q2A=l,VDll、VD12发光,直至第16个CP脉冲到来时,Q1A~Q4D=l,VDll~VD26全部发光;同理,当DA=0,第1个CP到来时,Q1A=0,VD11灭,VD12~VD26仍发光。第2个CP到来时,Q1A=Q2A=0,VDll、VD12灭,VD13~VD26仍发光,直至第16个CP到来时,Q1A~Q4D=0,VDll~VD26全部熄灭。

电路工作过程如下:合上电源开关SA,电路在刚接通电源瞬间,经C4、R5微分产生的尖峰脉冲作用于IC1、IC2、IC3的所有复位端 R。IC1的Y1=l,VD10发光,Q1A~Q4D=0,VDll~VD26不发光,晶体管VT截止,D\(_{A}\)=l。IC1在CP脉冲作用下,Y1~Y10依次为高电平,VD1~VD10依次发光。当Y10为1时,触发单向晶闸管VS1导通,使A端为1且一直保持下去,与非门3、4等构成的振荡器起振,在ls内输出8个脉冲,使VDll~VD18依次递增发光。在Q4B端为1时,触发单向晶闸管VS2导通,与非门4、5等构成的振荡器起振,在0.5s内输出8个脉冲,使VD19~VD26依次递增发光。VD19~VD26发光速度比VDll~VD18快一倍,象征火箭发射越来越快。这16只VD发光用来模拟火箭发射的情景(在安装时,VDll在最下面,VD26在顶端)。在VD26发光时,Q4D端为高电平,晶体管VT导通,集电极为低电位,即DA=0。在两个可控振荡器CP脉冲作用下,使VDll~VD26依次递增熄灭,这象征火箭已升空了。需要加以说明的是,合上一次电源开关SA,只能模拟一次火箭发射。
元器件选择与制作
与非门1~6选用两片2输入端与非门CD4011。VS选用触发电流小的单向晶闸管。VT选用9013型NPN硅管,β>90。VD1~VD10选用Ф5mm绿色发光二极管,VDll~VD26选用Ф5mm红色发光二极管,型号不限。SA选用DS460按通开关或其它小型开关。电源采用3节l.5V一号干电池,其余元件参数如图所标注。
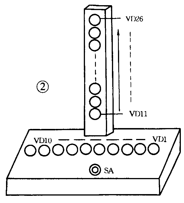
除SA、电池与所有VD外,全部元件均装焊在印制板上,然后将印板装在塑料盒内,其外形如图2所示。在盒面板上钻10个Ф5mm孔,上面再用一个长方形塑料片全部覆盖住,在10个孔的塑料片上书写10至1十个数字,从左到右表示倒数计数。再取一根装集成电路用的长方形塑料盒,在上面均钻16个Ф5mm孔,将VDll~VD26用胶水粘牢在小孔内,露出部分要整齐美观。

该电路无需调试即可工作。如果将电源开关S合上后,待火箭发射完毕,不马上打开SA,则两个可技振荡器一直维持下去,则VDll~VD26可以逐个递增发光→递减熄灭→递增发光……,如此循环进行,亦非常有趣。所以不妨将图1中的R3、R4改用小型电位器安装在面板上,便于调整振荡频率。(苏成富)