一、单稳态继电器和步进继电器
一般的机电式继电器,当线圈通电后,继电器动作,触点从常开(“0”)变成闭合(“1”),或从常闭(“1”)变成断开(“0”)。此后,线圈内必须有一定的维持电流才能使触点保持住这种状态。只有当线圈电流被切断或电压(电流)降低到低于某个数值时,继电器才释放,触点恢复到原来的状态。这种继电器的工作原理和单稳态触发器相似,因此也称为单稳态继电器。
单稳态继电器的缺点是:线圈必须有维持电流才能使触点保持所需要的状态。这不仅消耗电能,而且还带来不安全的隐患。
大家知道,双稳态触发器在触发脉冲到来后,能使输出改变状态并一直保持到下一个脉冲到来之前。也就是说,它是具有自锁或记忆功能的。由此我们受到启发,可以设计出一种用脉冲驱动,由机械结构使触点保持自锁的继电器。这种继电器,不需要维持电流,所以是节约电能的,因为是由机械结构保持自锁所以是简单和安全可靠的。
这种继电器,从驱动方法上,可以称之为脉冲继电器;从工作方式和输出状态上,可以称之为步进双稳态继电器或步进自锁继电器。简称为步进继电器。
二、BF型步进继电器简介
台湾和可公司生产的专利产品BF型步进继电器,是一种用脉冲电流驱动的、由机械结构保持触点自锁的步进继电器。继电器结构巧妙,工作可靠,控制功能强,有多种触点组合和不同的工作电压,形成产品系列供用户选用。
1.外形和内部结构
BF型步进继电器的外形见图1。它有一个塑料透明外壳,正前方有6个接线孔,中间2个是线圈端子,其余的是输出触点的接线端子。所有塑料件都采用阻燃材料。

继电器内部结构见图2。可以看到,它由线圈、衔铁、推动杆、棘轮、棘爪和触点组等几部分组成。它的棘轮有三层,中间一层是作步进运动的。线圈通电后吸动衔铁,带动推动杆使棘轮逆时钟转动一步,于是上下两层棘齿就使上下两层触点改变了状态。脉冲电流消失后,推动杆退回原位,棘爪顶住棘齿不让转动,起了定位作用,因此触点能保持状态不变。

只要改变上下两层棘齿的齿数和齿形,就能得到l~2个触点、2~4个步序为1个循环的、具有不同控制功能的产品系列,见附表。例如“01”型是单触点,有1开、l闭两个步序;“04”型是双触点,有2开、2闭、1开1闭、l闭1开共4个步序。
附表
型号 步数 步序
1 1 2 3 4
RF01 1 0 1
RF02 2 00 11
RF03 2 01 10
RF04 4 00 11 01 10
RF06 3 00 01 11
BF08 4 00 10 00 01
3主要性能
1)额定工作电压:12/24/…240V。
2)吸合电压:额定值的80%。
3)脉冲持续时间:不小于0.1s。
4)线圈消耗功率:≤4.5W(瞬态功率)。
5)触点负载电流:10A、16A(250V);01型的还有20A、32A(250V)。
6)工作寿命:100000次。
7)环境温度:-25℃~+55℃。
8)外形:45mm×47mm×22mm。
9)重量:50g。
三、步进继电器的优点
(1)电路简单、节约电能
步进继电器可以直接用交流电源驱动,不需另加直流电源,电路简单。它不需维持电流,用脉冲电流驱动,所需的驱动电能很小,节约电能。
(2)布线简单、节约材料
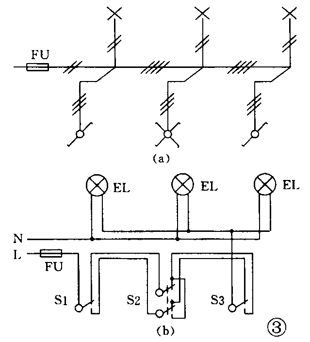
在照明电路里,如要在三地同时控制几个灯,用传统的方法,要用2只单极双位(SPDT)开关,l只双极双位(DPDT)开关,要用3线和4线布线,导线截面要按负载电流的大小来选用。图3(a)是建筑市线图,图3(b)是电工布线图。

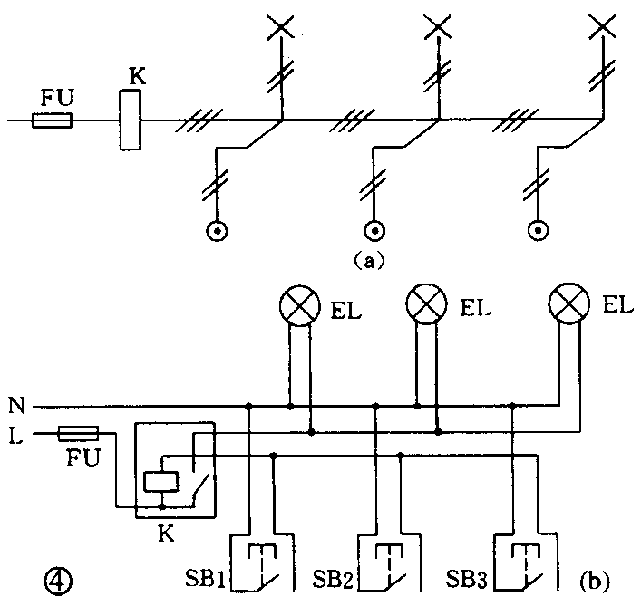
如改用步进继电器控制,只需1只步进继电器和3只能自复的按钮开关。图4(a)是建筑市线图,图4(b)是电工布线图。新方案的主干线只需3线,因为驱动电流很小,所以3线中的一根控制线和引到按钮开关的连线可以选用0.5mm\(^{2}\)截面的细线,从线材上估计就可节约30%的费用。

(3)安全可靠
步进继电器因为不需维持电流,所以从根本上消除了不安全的隐患。
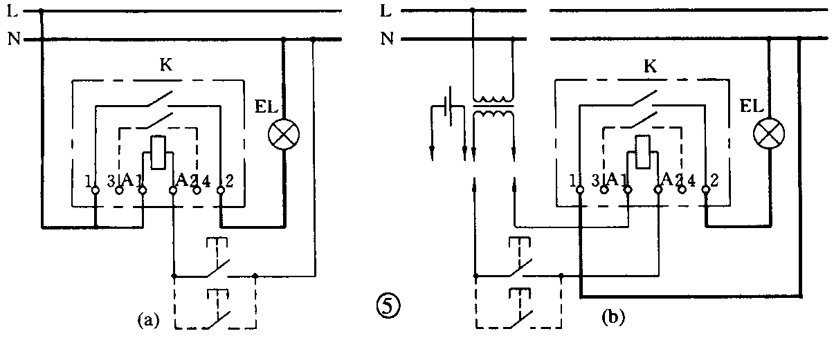
BF型步进继电器有两种不同的电路接法。一种是线圈和负载使用同一电源的接法,如图5(a)。图中线圈驱动和负载照明都是220V市电。另一种是专为保护人身安全设计的低压控制驱动电路,如图5(b)。图中线圈驱动电源和负载电源是分开的,驱动线圈的电源可以用12V/24V/36V/48V交直流低压电源,负载照明仍是市电220V。如果把主干线和继电器都装到2.5m以上的墙壁上或顶棚上,用细线将低压控制驱动线弓倒按钮开关上,就能保证使用者的安全。

(4)多控制功能,灵活方便
BF型步进继电器有1~2个触点,最多有4个步序,相当于一个简单的程序控制器,具有较强的控制功能。在应用上它又非常灵活方便,可以任意扩展。例如图5中可以在按钮开关上并联几个按钮开关,就能做到在不同地方控制一个灯。
四、步进继电器的使用注意事项
(1)必须使用自复式(不锁闭的)按钮开关,脉冲持续时间不少于0.1s。
(2)触点负载电流10A(250V)是指电阻性负载的电流。如接入的是电感性负载,只能按5~6A计算。必要时可在触点两端并接RC网络、二极管或压敏电阻。
(3)在用一只按钮开关同时控制2只继电器时,按钮按下的瞬间,两只继电器的动作会有先有后,甚至发生一只已吸合而另一只还没有吸合而脉冲已消失,造成控制失效。因此在严格要求同步动作的场合,不能用此法。
(4)使用带发光指示灯的按钮开关时,因为指示灯电路实际上是并联在按钮开关触点两端后和继电器线圈串联的,见图6。所以这种按钮开关不能并接太多。用氖灯指示的按钮开关,氖灯的电流通常是lmA左右或1mA以下,因此并联的按钮开关可以多达六七只。用发光二极管指示的按钮开关,二极管的电流一般是几毫安,因此并联的按钮开关不能超过3只。

(5)使用低压电源驱动继电器时,连接线不宜太长。因为连线过长,线上的电压降过大可能会影响继电器的动作。
(6)使用交流电源驱动时,除了要考虑连线的压降外,还要考虑到过长的连线带来较大的分布电容。所以用交流电源驱动时,连线一般允许几十米,不宜超过100米。
(7)继电器用低压电源驱动时,为保证人身安全,变压器次级和交流电网之间必须有可靠的隔离和良好的绝缘。(于鹤飞)