随着半导体工艺技术的发展,可以把测温传感器与放大电路做在一个硅片上,形成集成温度传感器,本文介绍的LM35D集成温度传感器,不仅精度高,并且电路特别简单,我们可以用它制作一个温度计,用来测室温或鱼缸水温等,非常实用。
LM35D是一种输出电压与摄氏温度成比例的温度传感器,其灵敏度为l0mV/℃;工作温度范围为0℃~100℃;工作电压范围宽(4~30V);精度可达±l℃;线性度好(最大非线性误差为±0.5℃);静态电流小(典型值为80μA)。
该温度传感器最大的特点是在使用时无需外围元件,也无需调试及校正(标定),只要外接一个1V的表头或用指针式万用表(或数字式万用表),就成为一个测温仪,如图3所示。

温度仪实验及制作
按图3(a)或图3(b)做一个实验。先按图4做一个测温头,用200mm长的软导线(三种颜色)分别焊三个引脚,外部用双组份环氧树脂固封(这样可以测液体的温度)。

现在你可以用它测试一下当地的水沸腾时的温度了。如果你所在地的海拔较高,则水不到100℃就沸腾了。你也可以测一下室温,并且可以与你已有的水银或酒精温度计比较一下。
鱼缸水温自动控制电路实验
热带鱼最好生活在24℃~25℃的水温中,因此在冬天往往要用电加热器加热,若采用一个简单的自动控温电路,可达到鱼缸水温自动控制的目的。图5是一种简单的鱼缸水温自动控制实验电路。

电路工作原理为:运放A组成电压比较器,其同相端(3脚)输入设定温度的相应电压(由电位器RP1来调整,调整范围为16℃~32℃),其反相端(2脚)输入温度传感器LM35D的输出电压。当水温低于设定温度时,同相端的电压高于反相端的电压,电压比较器输出端(1脚)输出高电平(约3.5V),红色LED2亮(表示在加温);与此同时VT1导通,高亮度红色LED3亮,与KED3对着安装的光敏电阻Rcds受光照后电阻降到1kΩ左右,双向晶门管导通,加热器通电加热,水温渐升。当水温达到并略超过设定温度时,电压比较器的反相端(2脚)电压大于同相端(3脚)电压,电压比较器输出端(1脚)输出低电平,绿色LED1亮(表示已停止加温);与此同时VT1截止,LED3灭,光敏电阻Rcds阻值大于1MΩ,双向晶闸管截止,加热器断电而停止加温。当水温下降到略低于设定温度时,又重新开始加温,使水温保持在设定温度附近。
实验准备工作:水缸可用大一点的铝锅代替;按图4做一个防水水温检测探头;买一个现成20~50W的鱼缸加热器(约5元)或自己按图6做一个加热器;按图7做一个温度设定刻度盘,测RP1中心抽头到地的电压,调RP1到160mV时相当16℃,画第一刻度,18mV时画第二刻度,依次画完即可;用硬纸(卷成管)或不透光的塑料管、光敏电阻及高亮度LED做一个光电耦合器。做好后要试一下;在LED3上串接82~100Ω电阻后加5V电压时,光敏电阻阻值为1kΩ左右,不通电时阻值大于1MΩ(若透光时则会小于1MΩ),将加热器放于“鱼缸”一边,温度传感器放在远离传感器处,如图8所示(加热器必须放入水中后才能通电加热,否则会损坏!)。



实验注意事项
1.本实验电路涉及220V市电,因此要特别注意安全。对经验不足的青少年初学者建议做模拟实验,即不接双向晶闸管、加热器及光敏电阻,不加220V市电,用LED3作为“模拟加热器”即可。LED3亮表示加热,LED3灭表示停止加热。LM35D温度传感器放入盛好冷水的锅中,用其它热源加热使容器内水温升高,当水温升高到设定温度,可根据LED1、LED2及LED3来判断控制电路工作是否正常。
2.若没有条件做加热器或买不到时,可用一只25W灯泡代替加热器做实验(要注意安全,在通上220V市电后,手不能再摸面包板上的元器件,若发现电路不正常,首先断开220V电源,切勿带电插拔元件!)。灯泡不能用作加热元件,实验时仍要用其它热源来加热,但可观察到水温未达到设定温度时,灯泡亮;而一旦到达设定温度时,灯泡灭这一控制动作,并且当移去加热源,等水温降到设定温度以下时,灯泡会重新亮。
应用电路
1.平均温度测量电路

一种平均温度测量电路如图9所示。三个LM35D传感器T1、T2、T3分别设于容器上、中、下位置,测量容器的平均温度。运算放大器作平均值运算,其输出电压V\(_{O}\)近似为
V\(_{0}\)=\(\frac{1}{3}\)(V01+ V\(_{0}\)2+ V03)
式中V\(_{0}\)1、 V02、V\(_{0}\)3为三个传感器的输出电压值。测量精度与电阻值有关,应取精度1%以上的电阻或进行选配,使R1=R2=R3=3R5,R4=R6,并且要采用精度高的运算放大器。
2.温度差测量电路
在工业生产中经常要测量T2与T1的温度差值,一种温度差值测量电路如图10所示。两个LM35D分别测量两处温度,运算放大器组成减法器使输出电压V\(_{O}\)为
V\(_{0}\)=V02-V\(_{0}\)1
式中V\(_{0}\)2、V01分别为两传感器输出的电压。

3.洗澡水温度控制电路
一种洗澡水温度控制电路如图11所示。这电路与图5相似,所不同的是加热器采用1500W,要采用耐压400V额定电流10A的双向晶闸管,并采用光触发晶闸管(过零触发)光电耦合器MOC3041,电路中0.0lμF及39Ω为保护双向晶闸管的吸收电路。

思考题
1.图11的洗澡水加热器由4.7k 电位器来调节温度,你能否计算一下此加热器最高温度可达多少摄氏度?
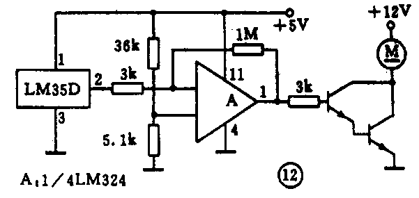
2.有一种仪器风扇控制电路如图12所示。因仪器中有发热的元器件(如电源调节器IC、功率放大器IC等),所以当温度上升到一定温度时,仪器内的12V直流风扇自动工作进行降温,当温度降低到设定温度时,风扇自动断电不工作。

电路中采用的LM35D为温度传感器(它安装在发热件的散热片上),用 l/4LM324作电压比较器,比较器输出高电平时,使达林顿管导通,风扇得电工作。现电压比较器的两输入端相位在图上未标注,请你根据电路工作的要求,在电压比较器图上标出+及-,并添上管脚号。
上期趣味实验室思考题解答:
1.用二极管作温度传感器的电子温度计是利用二极管的正向管压降与温度变化成线性关系的特性制成的(它的灵敏度约为-2mV/℃),再经电桥测量电路及放大电路放大后用表头(指针式或数字式)显示,而水银(或酒精)温度计是利用热涨冷缩原理制成的。
2.电子温度计的主要优点是测量传感器与读数表头可以分开,即可以作较远距离的测量(即遥测),并且容易实现多路测量,实现温度控制。
3.这是因为MTS-102温度传感器与二极管(1N4148)的灵敏度不一致的缘故,若不重新调整,在0℃时显示不是OV;在100℃时显示不是1.0V。
4.若不稳压则设定温度的对应电压将随电源电压变动而变动,如5V电压变低,则设定温度也随之变小。因此要保证设定电压不变(即W3的输出电压不变),要求+5V稳压。(方捷)

