(张国华)AD797运放是一种比较理想的前置放大器,其输入电压噪声f=1kHz时仅为0.9nV/\(\sqrt{Hz}\),0.1~10Hz时为5nV/Hz,20kHz时总谐波失真为- 12dB。当增益G=10时,带宽达8MHz,全功率带宽为280kHz(20V\(_{P}\)-P时),转换速率为20V/μs,最大输入失调电压80μV,输出失调电压漂移1μV/℃,输出电流可达50mA,在专业的声频前置放大器、声纳成像系统、超声波前置放大器、地震探测仪及ADC/DAC缓冲器中得到应用。外形见图1。

为使AD797在应用中得到宽带及大动态输出,去耦电路应按图2所示联接。

为使AD797在应用中得到超低噪声输出,同样需要如图3、图4那样增添R、C元件,元件值与电路增益C有关,见表l、表2及图3、图4分别是同相与反相放大。


表 1:
G R1 R2 C1 噪声
2 1k 1k 20p 3.0nV/ Hz
2 300 300 10p 1.8nV/ Hz
10 33.2 33.2 5p 1.2nV/ Hz
20 16.5 16.5 5p 1.0n
>35 10 (G-1)×10 5p 0.98nV/ Hz
表2:
G R1 R2 CL 噪声
-1 1k 1k ≈20p 3.0nV/Hz
-1 300 300 ≈10p 1.8nV/Hz
-10 150 1500 ≈5p 1.8nV/Hz
图5是AD797应运于驱动容性负载时的电路,它的最大驱动能力为5000pF。

图6是AD797消除失真的电路,它有独特的结构,C2为50p电容作为补偿,当电路的增益G=10时或频率f=30kHz时,这个特性会起作用,同样电路中的元件参数随增益的不同而改变,见表3。

表3:
G R1 R2 C1 C2 3dB带宽
10 910 100 0p 50p 6MHz
100 1k 10 15p 33p 1.5MHz
1000 10k 10 33p 15p 450kHz
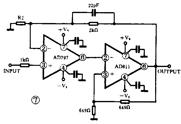
图7是用AD797组成的差分放大的线路接收器,它能在有共模噪声下提取低电平信号,且输出噪声很低。

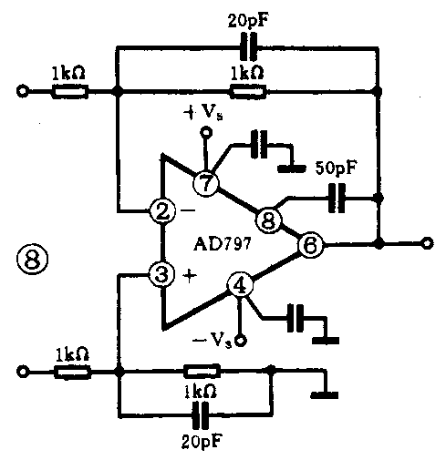
图8是用AD797组成的仪用输入/输出驱动器,当f二500kHz时,总谐波失真为-90dB,它适用于驱动高分辨率的A/D电路中。

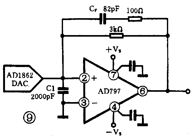
图9是用AD797组成的DAC缓冲器电路。
