(朱广皓)国家半导体公司(Ntional Semiconductor)音频功放的代表产品从早年的LMl875、LM12,到近年的LM1876、LM3875、LM3886,无一不是客观测试指标和主观听感均优的超值之作。有口皆碑的LM3886推出至今已有一段时日,人们一直在拭目以待该公司的下一款集成功放,因为它必将代表新型集成功放产品重要的发展方向。
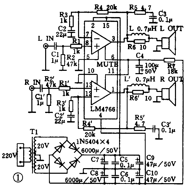
如今,这款产品终于有了,且颇具个性,它便是本文将介绍的LW4766集成功放。LM4766为单片欢声道结构,推荐标准双声道音频功放应用电路见图1。

LM4766的主要指标如下:工作电压范围±10V~±30V,电源电压最大极限值±37V;连续输出功率(8Ω)每声道40W;总谐波失真+噪声(THD+N)在连续功率输出为30W×2时达到0.009%;信噪比112dB;静音衰减115dB;电源抑制系数PSRR为125dB;增益带宽积GBWP为8MHz。
从安全性上看,De4766内部的两路高品质功放具有过压、欠压、过载、超温(165℃时输出自动关闭,155℃时自动恢复工作)及该公司专利——安全工作区SPIKE峰值保护(保证集成功放末级功率半导体对管工作在特性曲线的安全工作区内)等完善功能。
LM4766内部的两声道集成功放还具有各自的静音(MUTE)电路,当静音端脚拉出电流大于或等于O.5mA时,输入信号被截断,功放无输出而处于静音状态。静音功能在图1放大电路中用来消除开机过程中的冲击。
试听按图1电路装制出的功放电路成品板,音箱采用中性的KEFQ15,LM4766的主观听感令人耳目一新。以往集成功放的音色从早期的单薄清冷发展到LM3886的干净自然及TDA7294的细腻通透,但若喜欢丰满圆润、底蕴厚实的音色,则只能找甲类晶体管功放或电子管机,只可惜这二者价值不菲,工薪烧友恐难以问津,而LM4766的功率虽不算大,但音色却十分厚实,且推力也较强。值得一提的是可以以极低的费用享受到丰润雍容、柔和耐听的电子管机音色。
笔者认为,由于现代人家庭居室空间有限,音箱小型化看来也是消费类音响产品的一个发展方向,而中小音箱的音色容易出现单薄、纤弱等不足,该公司改变了产品音色取向,看来是为了迎合这一潮流。
由于LM4766外围元件简单、输出功率适中,用作家庭标准的立体声功放时,通常在20m2室内,已能满足一般听音和卡拉OK演唱的要求。另外,LM4766还可以广泛用于需要高素质功放的场合,下面举几个在家庭影院中的应用实例,以飨读者。
一、虚拟杜比环绕声功放
若听音室面积在20m2之内。只有两个音箱,但又希望获得完善的三维环绕声听音效果,最理想的虚拟杜比环绕声功放组会见图2。由QS7779组成的虚拟杜比环绕声处理器(见本刊l999年第8期文)可以把CD机等优质音乐源立体声信号(包括普通立体声及杜比定向逻辑编码、AC-3编码等立体声)虚拟化处理,使两个音箱产生三维环绕声放音效果,而该公司最新纯音前级LW4610可以对音乐信号进行再加工,使听音者感觉音效达到了理想的状态。

二、2→5.1声道家庭影院系统
对于渴望真正的5.l声道环绕声音响系统的音响爱好者,可以利用QSurround专利技术芯片QS7785组装的2→5.1声道解码器及LM4766+TDA7294三声道功放作左、右环绕声和中置声放大,具体组成方法详见本刊1999年第10期。
三、电子前级分频功放
由于传统的L、C功率分频难逃误差大、相移大、损耗大等对音质不利的固有缺点,而电子前级分频方式具有精度高。分频点便于改变、相移小、无损耗这些人所共知的优点,只是因为成本较高,故过去只在剧场扩音等专业领域运用。现在出现了性能优秀、成本低廉、功率适宜的LM4766与电子前级分频器相配,实现电子前级分音就容易多了。例如图3所示电子前组二分频功放,它由立体声电子前级二分频器与LM4766功放、TDA7294功放组成,LM4766两路功放分别推左、右音箱高音单元,TDA7294两声道功放分别推左、右音箱的低音单元,二者功率分配恰到好处。

LM4766用于电子前级三分频功放组成见图4。LM4766与TDA7294组成三声道功放,其中LM4766两声道功放分别推高音、中音单元,TDA7294则推低音单元,其功率搭配亦可称绝。值得注意的是:由于前级分音工作方式几乎无功率损耗。因此LM47ed+TDA7294三路功放分别推三个单元所带来的动态感觉是惊人的,其力度甚至可与200W的普通功率分频系统相比。对本文图1所示LM4766立体声功放及图2~图4所示LW4610前缀、QS7779虚拟杜比环绕声处理器、LW4766+TDA7294三声道功放、电子前级分频器感兴趣的读者,请见本期2000-1-l插页广告。
