电工知识告诉我们:不管由于什么原因或通过什么方式,使线圈周围的磁场发生变化,都会在线圈回路中产生电流,这个电流叫感应电流,这种现象称为电磁感应现象。我们可以通过自制一台手摇直流发电机来验证这种“磁生电”的过程。
一、实验所需器材
1.15cm×10cm的五合板一块,厚度为6mm。也可选用类似尺寸的其他绝缘板。
2.171型小型玩具电机一个。
3.外径0.20mm漆包线若干。
4.2.5V小灯泡一个。
5.2mm厚的 11cm×10cm铁皮一块。
6.1mm厚的1.7cm×9cm铁皮一块。
7.直径6mm、长21cm的铁棍(可用建筑上用的钢筋代替)一根。
8.直径12cm的收音机拉线盘一个。
9.录音机上用的直径1.2cm的带槽小塑料轮一个。
10.录音机上用的传动皮带圈一根(对折后长15cm)。
11.M3×20的螺钉及配套螺母6套。
二、手摇直流发电机的制作方法
1.制作发电机主机
从“通电导体在磁场中会受到力的作用”和“导线切割磁力线产生感生电流”的原理可以知道,永磁直流电动机和永磁直流发电机其实是同一个机器的可逆使用。如果给电动机的转子通上电流,转子就会在磁场中转动;反过来,如果用外力使电动机的转子在磁场中快速转动,转子线圈两端就会感应出电压。本实验所用的发电机主机是利用171型玩具电动机(一般玩具商店、模型商店有售)改制的。如果买不到171型玩具电动机,151型也可代用。
首先改绕转子线圈。171型小电机为三极转子线圈,它是用外径0.33mm的漆包线每极绕70圈组成的,改绕时要把三个线圈都拆掉,换用外径0.20mm的漆包线,每极绕l60圈(注意三个极的线圈绕向应一致)。绕制时按图3将第一个极上的线圈头(刮掉漆皮)先焊在整流器铜片a上,绕完160圈,用小刀把160圈处的漆包线刮掉一小段漆皮(漆包线无需剪断)焊在整流器铜片b上(实际上是第一个极的线尾与第二个极的线头在铜片b上连通了)。然后再按同一方向在第二个极上再绕160圈,同样在绕满160圈时焊在整流器铜片c上(第二个极的线尾,第三个极的线头),再继续按同一方向在第三极上绕160圈,线尾也焊在整流器铜片a上与第一个极的线圈头连通,转子就改制完成了。将转子按原电动机的结构安装好,并压紧外壳固定铁片,就成为发电机的主机。主机装好后,用一节干电池接在主机电刷两端的焊片上,如果发电机主机的转子能快速转动,说明改绕的发电机主机工作正常。

主机工作正常后,照图4用电烙铁把直径1.2cm的带槽小塑料轮热压在发电机主机转轴上。操作时用烧热的电烙铁头(一般20W电烙铁即可)放在发电机主机轴与塑料小轮接触的部位稍靠上一点,注意电烙铁头不要烫着塑料小轮,用电烙铁一边给发电机主机轴加热,一边用力下压发电机,直到把发电机主机轴压进小塑料轮,并让轴透出塑料轮约2mm即可。

2.制作发电机的手摇转盘
这只发电机的转速需在每分钟1300转以上,才能使发出的电能点亮2.5V的小灯泡。为此,需要一个直径比较大的轮盘来带动发电机主机上的小轮盘。大轮盘采用的是收音机上的直径12cm的拉线盘(图5),这个大轮盘与发电机主机上的小轮盘直径比越大,转速越高,发电机发出的电压也越高。

(1)制作大轮盘轴承支架
按图6锯两块铁板,在虚线处弯折90°角。然后按图所示位置打一个直径6mm的孔,两个直径3mm的孔。两块铁板上直径6mm的孔高度位置应尽量准确,可先打第一块板上的孔,然后把两块板比齐,再打第二块板上的孔。

(2)制作手摇柄
用一根直径6mm的铁棍或钢筋(表面不能带楞)按图7尺寸弯好,弯制时一定要保证图中上段80mm铁棍平直、光滑,因为它是轴承中的转动轴。

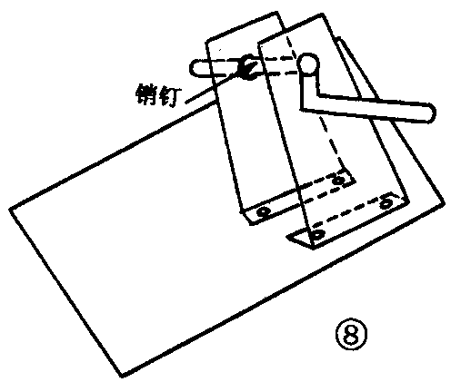
(3)组装轴承架和手摇柄
两块轴承支架板相距45mm;用Φ3螺钉拧在五合板的右下角,如图8所示。轴承架固定好后,插上手摇柄,在手摇柄距轴承架前支架板2mm处打上一个直径1.5mm的定位小孔,然后在手摇柄前端套上一个内径6mm的垫片,再插上销钉,手摇柄和轴承架就装配好了。

(4)制作发电机主机固定片
用厚1mm、宽17mm、长90mm的铁片按图9弯好,并打好两个直径3mm的小孔。

3.发电机总装
套好大轮盘上的皮带圈后,再把发电机主机上的小轮盘也套在皮带圈上。发电机主机小轮盘的中心孔应与大轮盘左边的外沿在一条直线上,小轮盘的皮带槽与大轮盘的皮带槽应在一个平面上,然后用弯制好的发电机主机固定片把发电机主机拧紧在五合板上,发电机总装即告完成。
在发电机主机电刷引边焊片上焊上一个2.5V的小灯泡,快速转动手摇柄,小灯泡应发出明显的亮光。按照本实验所用的材料装好的发电机,当快速转动手摇柄时,用万用表直流电压挡测出空载最大电压在1.6V以上,带上小灯泡负载后约为1V。
手摇直流发电机的传动部分也可以用齿轮制作。负载用高亮度发光二极管效果也很好。 (沈长生)



