上期趣味实验室思考题解答:
1.盗贼未阻挡光路时,VT1导通,其集电极为低电平,VS截止,蜂鸣器不响;盗贼进入警戒线或入口阻挡光路时,VT1截止,电源由R2、VD经VS的G及K,VS被触发导通,蜂鸣器发声报警。VD的作用是只要盗贼阻挡光路一次,VS被触发,VS可一直导通;若用导线将VD短接,则盗贼阻挡光路时,VS导通,盗贼穿过不再阻挡光路时,VS截止,蜂鸣器仅作短暂报警。
2.电路见附图。

3.双向晶闸管的G及T2间接一个1kΩ电阻时,双向晶闸管导通,G及T2间接一个1MΩ电阻,双向晶闸管截止。发光二极管的亮灭可使光敏电阻阻值在1kΩ左右变化到1MΩ以上,实现控制双向晶闸管的导通及截止。
温度是表示物体或环境冷热程度的一种物理量。这里我们将介绍多种常用的温度传感器及应用电路,自己动手来做电子温度计实验,它不仅可测量温度并且还可组成温度控制器。
温度传感器是一种能将温度变化转换成电量变化的元器件。本实验要介绍的温度传感器有:硅二极管、测温专用二极管、热敏电阻及集成温度传感器等。本文先介绍硅二极管及测温专用二极管。
二极管温度传感器实验
二极管具有单向导通特性,一般用作整流、控制电流流向等,但二极管也可用作温度传感器,可以先做一个简单的实验。
在面包板上按图1搭一个简单电路,用1V挡(指针式)或2V档(数字式)电压表测二极管的正向降压。二极管导通后,它的正向压降约为0.6V左右(这是在室温条件下的正向压降值)。若用点燃的火柴或打火机靠近二极管一下,你会发现二极管的管压降快速下降,火源离开后又逐渐恢复到原来的数值;若再用一小块冰(用布包着)或一小块冰冻的食物放在二极管上,你会发现管压降会增加,冰块拿走后,管压降渐恢复到原来的数值。

实验时要注意:火柴或打火机的火焰不能直接烧二极管(只能靠近),否则火焰的温度太高会把二极管烧坏!另外,冰块要挨上二极管的玻璃外壳,但不要将二极管两个引脚同时都碰上(避免水将两引脚“短接”)。
这简单的实验告诉我们:二极管对温度十分敏感,温度的变化将改变它的管压降。温度上升时管压降减小;温度下降时管压降增加。
下面我们进一步来做一个温度与管压降之间的定量关系实验。
我们已知在海平面一个大气压的条件下,水的沸腾温度为100℃;在冰与水共溶的条件下其温度为0℃。在沿海一带或海拔不高的地区可以认为沸腾的水是100℃(误差不大)。
上述100℃及0℃两个温度值作为标准温度来标定温度与管压降之间的定量关系,即确定二极管的测温灵敏度。按图2所示,用软导线将二极管(1N4148)焊好,放入塑料袋内(要求不漏水),然后放入沸腾的水中,5分钟后测二极管管压降V\(_{F(1}\)00℃)(要注意:塑料袋小的为好,并且尽可能减少袋中的空气),并将VF(100℃)的值记下。按图3所示,将带二极管的塑料袋放入冰与水共溶体(碎冰要占大部分容积),5分钟后测其管压降V\(_{F(}\)0℃)的值,并记下。


按下式可求出二极管的平均测温灵敏度:
平均灵敏度=\(\frac{V}{_{F(1}00℃)}\)-VF(0℃)100℃二极管(1N4148)的平均灵敏度约为-2mV/℃。由于它的线性度相当好,所以平均灵敏度可看作二极管的测温灵敏度。即温度每上升1℃时,管压降下降了2mV左右(所以加一个负号)。你测出的结果如何?
电子温度计实验
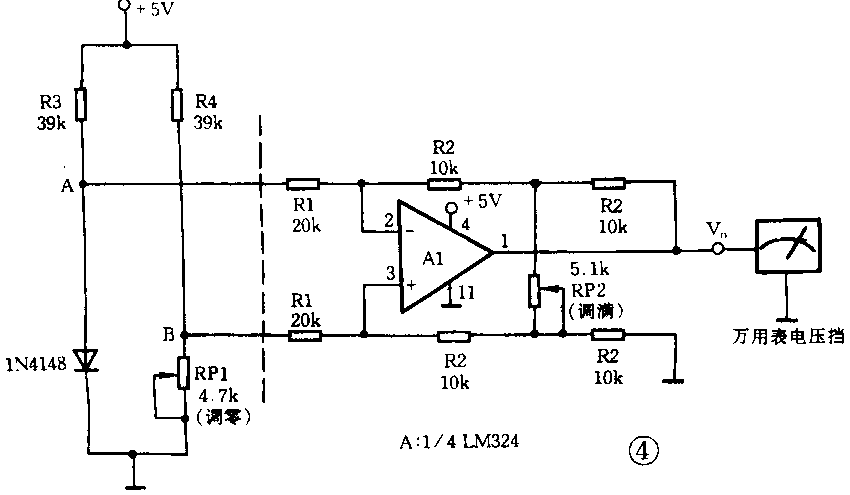
二极管虽然可以检测温度并输出相应的电压,但要作为一个温度计还需要测量电路、放大电路及指示表头。图4是一个0~100℃温度计电路,采用指针式万用表1V挡来显示,0℃时显示为OV,100℃时显示为1V(灵敏度为l0mV/℃;也可采用数字式电压表2V挡来显示。


图4虚线的左边是一个电桥电路。画成图5的样子就看得更清楚了。该电桥电路由5V稳压电源供电,有I\(_{A}\)及IB分别流过A点及B点。当二极管在0℃时,调整RP1,使V\(_{A}\)=VB,则电桥平衡,电桥输出为0V;当二极管在100℃时,二极管的压降减小,V\(_{B}\)>VA,电桥输出与温度成比例的电压(约200mV),即V\(_{BA}\)≈200mV。
为了使在100℃时输出为l000mV,需要一个放大电路,图2虚线右边是一个增益可调的差动放大器电路,放大器的输出电压V\(_{o}\)为
V\(_{o}\)=2\(\frac{R2}{R1}\)(1+R2;RP2)VBA
式中V\(_{BA}\)为电桥输出电压,也是输入放大器的差动输入电压;按图4中的参数代入上述公式,其最小的输出电压Vomin为
V\(_{omin}\)=(1+\(\frac{10kΩ}{5.1kΩ}\))
适当地减小RP2时增益增加,可满足在100℃时输出为1000mV(增益是输出电压与输入电压之比)。
按图4电路搭好后,经检查无误可按以下步骤调试电路:
1.将传感器按图3放入冰与水共溶体的容器中,5分钟后,调RP1,使输出V\(_{o}\)=0mV;
2.将传感器按图2放入沸水中,5分钟后调W2,使输出V\(_{0}\)=1000mV;
3.再将传感器放入冰与水共溶体中,看输出是否0mV(若有变动再调到0mV);
4.重复步骤2,检查输出是否是1000mV。
这样,一台0~100℃电子温度计调试完毕了,将传感器放在室内就可以测室内温度了(注意:若电压表指示为254mW,表示为25.4℃)。
测温专用二极管MTS-102
MTS-102是摩托罗拉公司生产的一种温度传感器。它是一种专用于测温的硅NPN三极管,将c、e短接形成一个二极管,其管压降(V\(_{be}\))受环境温度变化而变化,其灵敏度约为-2.3mV/℃。它与一般二极管不同之处是,灵敏度的一致性好,即每一个MTS-102的灵敏度相差较小,其精确值为-2.265\(^{+}\)0.005-0.015mV/℃,而不同的1N4148其灵敏度差别较大;线性度好(在0~100℃温度范围内最大非线性误差±2℃);工作电流在0.1mA时,25℃时的V\(_{be}\)为595+25-16mV。

MTS-102的外形与一般塑封三极管(TO-G2)封装一样,其管脚排列与9013相同,如图6所示。使用时要将c与b短接。部分读者未购到MTS-102,可用9013代替,用法完全相同。
你可以用MTS-102代替1N4148来作一个新的电子温度计,应该说用MTS-102作的温度计性能要好一些(但读者没有标准高精度温度计难以比较)。可以用图4的电路,但要重新调试,调试方法与上述方法相同。
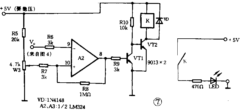
温度控制器电路实验
夏天晚上温度仍较高,往往要开电扇,若睡着了未关电扇则易受凉,若有个温度控制电路,当温度降到设定温度时电扇自动关掉,就可以避免受凉了。


图7与图4结合可以构成一个简单的模拟温度控制实验电路。在图7中,继电器触头不是控制220V市电供电的电扇,而是采用触头控制5V直流电压供电的LED(这是模拟实验,较安全)。运放A2及几个电阻组成有滞后特性的比较器电路。这是防止继电器在设定温度附近变化造成继电器频繁通断而设的。滞后的温度约2℃,如图8所示。设定关电扇的温度相当某一个电压,如设定为28℃,相当280mV。这电压由W3来调整(即用电压表测电位器中心点到地之间的电压为280mV)。这电压输入到电压比较器的同相端(10脚)。环境温度由传感器检测并经A1放大后由A1的1脚输出(输出电压等于l0mV/℃×环境温度)。这1脚的输出电压(Vo)输入电压比较器的反相端(9脚)。当环境温度高于设定温度时,反相端的电压高于同相端电压,电压比较器(8脚)输出低电平,VT1截止,VT2导通,继电器吸合,LED亮(表示电扇工作);当环境温度低于设定温度2℃左右,比较器反转,8脚输出高电平(约3.5V),VT1导通,VT2截止,继电器释放,IED灭(表示电扇不工作)。只要将470Ω及LED换成电扇,5V改成220V市电,则环境温度低于设定温度时可自动断开电扇的功能。
相关知识
1.二极管测温传感器的测温范围一般为-40~+150℃(因为二极管的PN结最高温度不能超过150℃)。常用的温度范围为-20~+120℃。
2.测温误差。按图4组成的电路来测温,具有一定的温度误差(真实的温度与测量出的温度的差值)。这误差造成的主要原因有:传感器线性度较好,但还不是没有误差,即温度与管压降的特性并非完全是一条直线,如图9所示,我们用水沸腾作为100℃的标准温度,由于当地海拔的不同,它可能不是100℃;运算放大器组成的放大电路也会随环境温度及时间变化产生一些误差。一般说,在沿海一带,采用金属膜电阻,R1及R2的阻值一致性较好,调整较仔细,误差可在±2℃范围内。

3.传感器的工作电流 二极管温度传感器的工作电流一般为0.1mA左右。工作电流太大会产生自热效应出现测量误差。
小结
通过实验我们了解了两种二极管测温传感器:温度的变化将改变二极管正向压降这一特性来测量温度。通过两个特定的温度(100℃及0℃)来测定二极管温度传感器的灵敏度,它约+2mV/℃。通过测温电路及温度控制电路实验,可做成0~100℃的电子温度计及简易的温控电路。
思考题
1.用二极管作温度传感器的电子温度计与水银(或酒精)温度计在工作原理上有什么差别?
2.电子温度计与水银或酒精温度计相比较它的主要优点是什么?
3.用MTS-102温度传感来代替已调整好的测温传感器1N4148时,电路为什么还需要重新调整?
4.图7的电路中,+5V电源要求稳压,若不稳压有什么问题?
编者按:
有关本实验室的邮购套件信息,请参见本刊今年第8期第1999-8-2页广告。 (方捷)