本文介绍的音乐灯箱,可以旋转,能放送语言或音乐,造型新颖,集机、光、电于一体,很适合电子爱好者实验制作。
电路原理
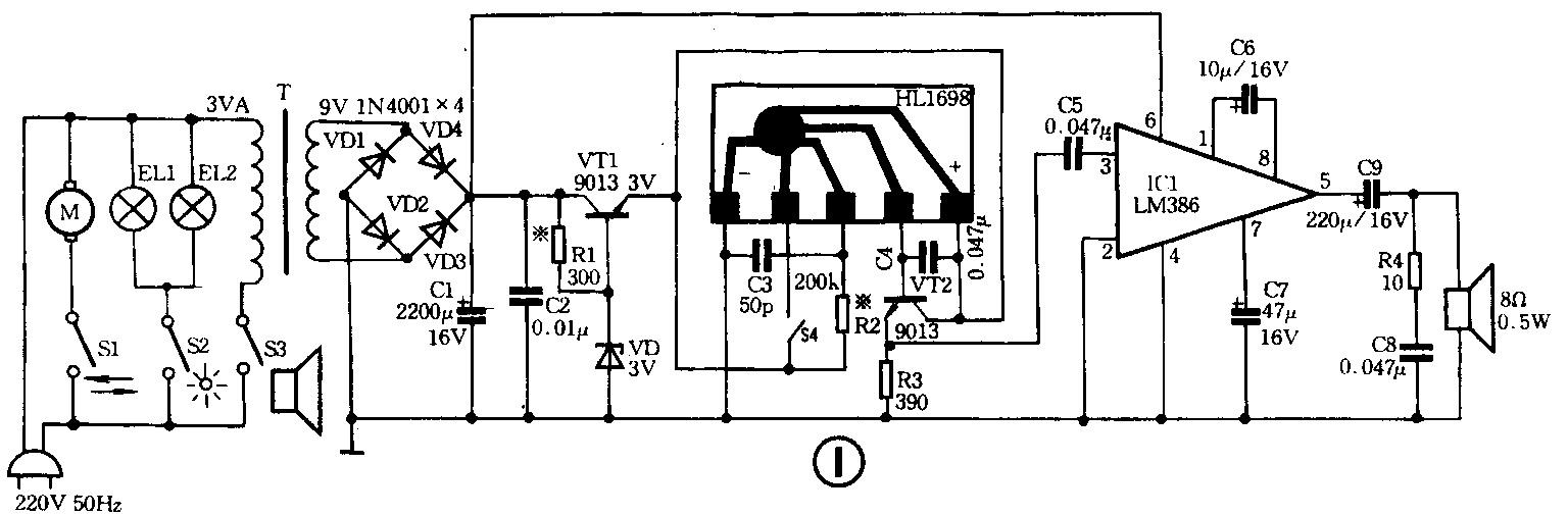
该灯箱由电子线路和机械外壳等部分组成。电路原理图如图1所示,开关S1、S2、S3分别控制着旋转(电动机M)、灯光(灯EL1、EL2)和音响(语音或音乐电路)。由电源变压器T的次级输出9V交流电压,给二极管VD1~VD4桥式整流,电容器C1、C2平滑滤波后,得到9V直流电压,一路经VT1、R1、VD进行稳压,获得3V恒稳电压为音乐集成电路供电。另一路将9V直流电压直接供给功放集成电路。这样,既满足了音乐集成电路HL1698低压供电的要求,又解决了集成功放LM386高压供电的需要。改变电阻R1可调整稳压电路输出电压的高低。晶体管VT2与电阻R3组成射极跟随器,它的输出电阻很小,带负载能力较强。R2用来调整语言快慢程度和音调,一般在150kΩ~300kΩ范围内选择。C5为耦合电容器,C7是滤波电容器,C6是外接电容器,用以改变LM386输出增益大小。5脚输出的音频信号给C9耦合,推动扬声器发声。

开关S4接音乐集成电路触发端,高电平有效。S4装在旋转主动轮下端,用铜片自制固定在绝缘板上,由两根导线引出接到线路板上,当电机旋转一周(约12s)时,螺丝铜头碰触铜片,S4接通触发音乐集成电路,扬声器发出“欢迎光临”语言(若换用存储乐曲的音乐集成电路,也可放送音乐)。
元器件选择
电动机M选用工作电压220V,每分钟4圈的减速电动机,鸿运电风扇专用电动机可以代用,它转速低,力矩大,不需电容可直接使用。EL1、EL2使用节能荧光灯作光源。S1~S3为KNS型钮子开关,S4为自制铜片触发开关。变压器T容量约5VA,输出电压9V。整流二极管VD1~VD4采用IN4001。音乐集成电路选择HL1698(语音“欢迎光临”),也可选用其它内容的音乐片。功放集成电路选LM386,当用9V供电时,输出功率可达500mW(当用12V供电时,输出功率可达700mW)。电阻使用0.25W碳膜电阻,标有“※”号的为阻值需要调整的电阻。电容器按图示参数配备即可。
安装使用
印制电路板元器件布置图见图2。图3绘出了灯箱外形结构,它主要由底板和盖板,主动轮和从动轮等组成。底板和盖板呈长圆形,用厚度为0.8mm铁板折边焊接而成。主动轮和从动轮用φ80白色塑管,两头端面用铁板剪成圆形并带4个小角折边,以便与塑管固定,轴用φ10钢筋,与端面铁板焊接,两头攻丝M8,里面用200型轴承固定。加工时要求尺寸准确,以免影响同心度。安装时可作适当调整,以保证同心和转动灵活。主动轴套在电机上,穿入开口销。通电后应转动平稳,无噪音,无卡住现象。


变压器、扬声器、线路板、灯管等可参考图3固定。为了安装和维修方便,也可将线路板、变压器装在底板下面。透光彩根据用户需要设计图案内容。若作广告灯,可将商品特征绘入图案(如彩电、冰箱、空调机等),让广告反复循环转动。注意粘接缝应平行,松紧适度。 (李海群)