一些动物的眼睛在夜间能够闪光,例如狐狸的眼睛一只闪红光,一只闪绿光。能否利用自激多谐振荡器交替闪亮的红、绿发光二极管,来实现这个小制作?想象一下,当您完成的“火眼金睛孙悟空”眨动着发出红、黄光的眼睛,你一定很惬意。

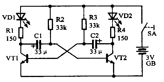
①会眨眼的“火眼金睛孙悟空”,是靠自激多谐振荡器电路的控制来实现的。由三极管VT1、VT2等组成自激多谐振荡器,使得发光二极管VD1、VD2交替闪亮。

②自激多谐振荡器不太复杂,它由印制线路板、两只三极管、4只电阻器、两只电容器、两只发光二极管和外加电池组构成。

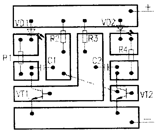
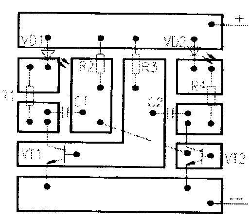
③图中是自激多谐振荡器印制线路板图。

④拓图。自制印制线路板时,用铅笔在较透明的薄纸,例如信纸上,将印制线路板图拓下来,要准确。

⑤贴图。用胶水将拓好的图粘贴在敷铜板上,图的一角最好和敷铜板一角对齐。

⑥裁板。用钢锯沿粘贴图的边缘锯开,不要伤着边线。

⑦磨直。用细砂纸(或砂布)将敷铜板边缘打磨平直光滑。

⑧打孔。用台钻(或手枪钻)打孔时,敷铜板下面要垫好平整的垫木,钻头直径0.8~1.0mm。

⑨手摇钻打孔。左手握住手摇钻的把柄,使钻头垂直于敷铜板面;右手转动手摇钻伞形齿盘上面的手柄,要始终保持钻头垂直,摇晃容易使钻头折断。

⑩手捻打孔。先把钻头卡紧,用食指按住手捻顶端帽,用拇指和中指捻动手捻。根据这个原理,可以自制打孔工具,如利用大号注射器针头钻孔。

刻板。用刀刻法能够完成不太复杂的线路板制作。先用直尺比齐待刻的栅条边线,用锋利的足刀沿直尺(或用足刀直接)刻划,把要剔除的敷铜箔条两边刻透,再用足刀尖将两条刻缝间的铜箔条头端铲卷。

用手撕掉铲卷的铜箔条。

用尖嘴钳或镊子夹住铜箔条头端,卷绕后将铜箔条撕掉。

光。用砂纸板将敷铜板上氧化物和毛刺打磨至光亮。

助焊。用毛笔蘸取助焊液(酒精松香溶液),均匀涂布在敷铜板条面上。

备料。将所用各元器件一一码放在电路图上。计有:电阻器150Ω(色环棕绿棕金)×2、33kΩ(橙橙橙金)×2,电容器33μF×2,发光二极管红黄色各一只,三极管9013×2,自制线路板一块,电池卡和5号电池两节。

备工具。电烙铁、足刀、镊子、桃形钳,尖嘴钳、焊锡丝、松香以及测试万用电表。

腿。用细砂纸打磨电阻器引腿(电镀层光亮时不需打磨)。

足刀刮亮三极管管腿(电镀层光亮时不要刮)。

锡。电烙铁头要吃好焊锡,在松香块上给管腿镀锡,锡面要均匀光亮。

烫的器件在镀锡时,要用尖嘴钳或镊子夹住散热,镀锡的时间不要超过4秒钟。

测。镀锡后元器件要检测是否损坏,特别是娇嫩的三极管要测量其放大倍数。

腿。正确的做法是用镊子夹住电阻器的引线根部,再用手将引腿弯曲90°,并保持一段自然的圆弧,不要强打死弯,以免电阻体上管帽松动。

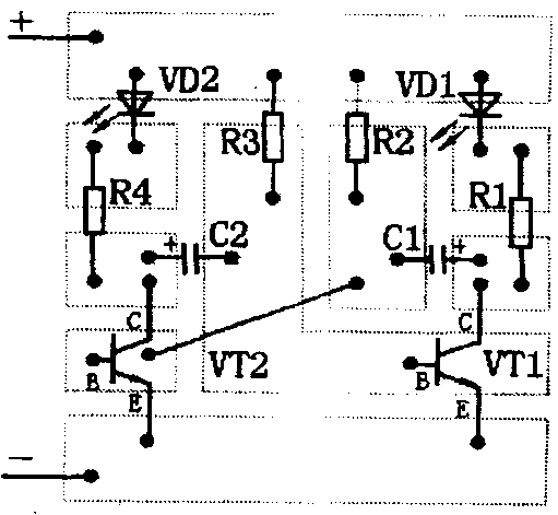
中为自激多谐振荡器印制线路板焊接面元器件焊接图。

制线路板元件面各元器件装配图。

件。按照装配图,在线路板元件面上插入电阻器。

接。将线路板焊接面朝上,用电烙铁头斜面部分尽可能接触焊盘上面的引腿,并迅速用焊锡丝接触电烙铁头斜面部分,待熔化后的焊锡浸润焊盘时,将电烙铁头沿着引线方向向上移动,并同时旋转一定的角度,使焊盘和引线上的焊锡形成光滑的锥形亮面。

腿。用桃形钳(或斜口钳)将焊盘锡锥顶上的多余引线剪断。

接不耐高温的元器件时,例如三极管,要留出5~10mm的管脚引线,并用尖嘴钳夹住,再进行焊接,焊接时间不要超过4秒钟。

查。目测元器件是否损坏,各焊点是否有漏焊、虚焊和联焊短路的地方,再用万用电表电阻挡(R×1k或R×100)测量电源输入端的电阻值(此时电池卡不能装入电池),黑表笔接电源输入正极,红表笔接负极,测得电阻值约几十千欧。

制。绘制卡通孙悟空,注意瞳孔距要与线路板上两个发光二极管间距相同。

装。将自激多谐振荡器上两只发光二极管的顶端,从卡通孙悟空背面眼眶处穿出。接通电源,就可以观看到孙悟空眨动着的火眼金睛了。

斯猫的眼睛,一只闪红光,一只闪蓝光(用绿色发光二极管代替),用自激多谐振荡器再做一只会眨眼的波斯猫。

通波斯猫脸上再添几笔就变成了小老虎,多有趣呀!请您思考一下:自激多谐振荡器发光二极管交替闪亮的快慢、发光颜色的变化(可利用变色发光二极管),和生活中的哪些事物相似,这定为您的小制作提供了新思路和电子技术手段。(孙心若 喻京川)