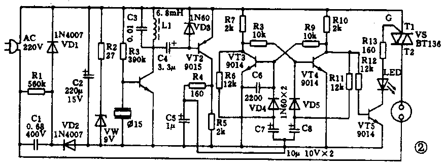
问:在许多电路中采用电容器降压、二极管整流,将220为低压直流电。请问该电容值怎样选择,输出直流电压怎样计算。(重庆 陈世桂)
答:用电容器降压后,再经二极管整流,将220流市电变为低压直流电,电路简单,省去了价高、体重的电源变压器,在要求直流电压稳定性不高的电路中经常采用。降压电容数值的选取基本上取决于输出电流。在220V、50Hz的市电条件下,降压电容器的电容量C与输出电流I的关系可近似由下式算出:C=15I,式中I的单位用安培,C的单位为微法。在图1所示的声波遥控插座电路中,当发光管点亮时,总电流约为30mA,可算出降压电容C=15I=15×0.03=0.45(μF),可选标称系列值0.47μF(图1中的C7)。由此可以算出C7对50Hz交流电呈现的容抗X\(_{C7}\),即电流I在
X\(_{C7}\)=\(\frac{1}{2πfC}\)7=1;2π×50×0.47×10\(^{-}\)6=6776Ω

1C7上降落交流电压为IX\(_{c7}\)=0.03×6776=203V。经全波整流、电容滤波后,得到约20V的直流电压。
值得注意的是,整流输出电压会随负载电流的变化而发生明显波动,输出直流电压很不稳定。为了使整流输出电压稳定,在负载电流较小时,可按图2所示,在整流电路输出端并联一个由限流电阻R2和稳压管VW组成的稳压电路。

采用电容降压,电路板上有裸露的220V交流市电,要特别注意安全。此外,在电容器两端还要并联一只泄放电阻(图1中的R10)。(沈长生)
问:我有一块MF47型万用表,在直流电压最小档处标有1和0.25两个量程,而此处推算是1伏量程挡位,而0.25又是什么意思?(湖北 周飞)
答:在最小直流电压挡上标有两个数值,这在很多指针式万用表上都有类似情况,你所说的MF47型万用表在直流电压最小档处标有1和0.25两个数值,其含义是:1表示此档为直流电压的1V挡,而0.25是表示在使用直流电流挡时,此挡为0.25mA(250μA),所以此挡是一挡两用。我们注意一下标有两个数值的这一挡,旁边一定是直流电流的各挡位。
下图是我们根据MF47(南京产)的说明书画出的外观图的下半部分,它的最低直流电压挡为0.25V,旁边标的0.05为直流电流0.05mA(50μA)挡。(沈征)

问:我在安装某一电路时,找不到可控硅的电极,请问有没有测量电极的方法。(江苏 赵龙、天津 李福领)

答:单向可控硅的符号和内部结构如图1所示。单向可控硅的3个极可以用万用表电阻挡(R×100)来区分。从图1中可以看出G、K之间相当一个二极管,G为二极管正极、K为二极管负极,所以按照测二极管的方法,找出三个极中的两个极测其正反向电阻,电阻小的一次,万用表黑表笔接的是G极,红表笔接的是K极。剩下的一个极就是A极。
双向可控硅除了一个电极G仍叫控制极外,另外两个电极通常不再叫阳极和阴极,而统称为主电极T1和T2。双向可控硅是一种N-P-N-P-N型5层结构的半导体器件,其符号和内部结构如图2所示。用万用表区分双向可控硅电极的方法是:首先找出主电极T2。将万用表置于R×100挡,用黑表笔接双向可控硅的任一个电极,红表笔分别接双向可控硅的另外两个电极,如果表针不动,说明黑表笔接的就是主电极T2。否则就要把黑表笔再调换到另一个电极上,按上述方法进行测量,直到找出主电极T2。T2确定后再按下述方法找出T1和G极。由图2可见T1与G是由两个PN结反向并联的,因设计需要和结构的原因,T1与G之间的电阻值,依然存在正反向的差别。用万用表R×10或R×l档测T1和G之间的正、反向电阻,如一次是22Ω左右,一次是24Ω左右,则在电阻小的一次(正向电阻)黑表笔接的是主电极T1,红表笔接的是控制极G。(沈长生)
