利用电灯线作载波加密遥控,不仅具有抗干扰能力强、传送距离远、不受房间和地形等障碍物阻隔影响等优点,而且保密性极高,绝无泄密现象,加上控制接口简单、安装十分容易,同一电灯线上遥控距离大于200m,被广泛应用于游戏机中心作程序控制以及工矿企业、家用电器中作功能遥控。
载波密码遥控器由16键盘操纵器和接收控制组件两部分组成。由于接收控制通常分散安装,因此接收组件设计每组为2通道,用户可根据需要任选1组2通道、2组4通道或8组全通道,其主要性能指标见附表,发送及接收控制电路分别见图1、图2。



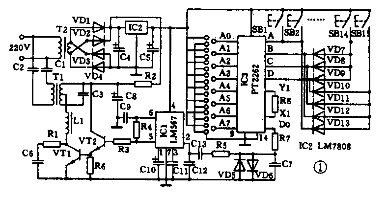
载波发送 图1中,电路所需230kHz载频振荡信号由IC1产生,频率高低可通过改变R4来实现。IC3为8位三态编码电路,用以区分不同用户。遥控指令(数据)由SB1至SB15进行控制,经二极管与门阵列将16进制转换为IC3的BCD码,最后由DO端输出编码串行数据,并送入IC1第2脚进行频率调制,第5脚输出调频波,经VT1、VT2放大,T1选频后送至电力线。
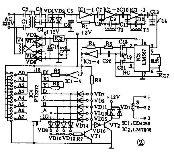
载波接收 图2中,电力线传送来的230kHz遥控信号由T1选频后经C5耦合至IC1进行放大和再选频,经C13耦合至IC3第3脚。IC3接成PLL锁相频率解调方式,对调频波进行数据解调,第2脚输出复合串行数据,最后经IC1-4放大、IC1-5整形后送至与遥控发送电路对应的解码IC输入端进行数据比较,当编解码设置地址完全相一致时,IO端输出解码成为高电平指示,A至D端对应遥控键输出组合高电平,最后经补码与反码二极管阵列译出1~15路遥控通道指令,推动各自的继电器触点的通断,从而实现对被控电器的遥控功能。接收控制电路设计为多组分体结构,有利于被控电器较分散时控制配线。为分析电路方便,图2接收电路仅画出一路控制终端,实际为两路控制终端。
通道设置 各接收通道的确认,是以补码及反码二极管阵列VD7~VD13的不同跳接,来实现1~15通道的任意设置。例如需要遥控8路不同的电器,则需将4个接收组件8路遥控通道进行不同的跳线设置。具体方法是:解码IC4的A、B、C、D 4位数据分别代表数字1、2、4、8接收通道,其它如第6通道则将B、C的代数2和4相加得到。第6通道对应为B、C解码端,则VD11、VD9连通,余下VD7、VD13断开,称正向补码;VD10、VD12断开,余下VD8、VD14反而接通,称为反向补码。这样设置后只有按下遥控盒第6键时,B、C输出高电平,A、D输出低电平,使VT1截止VT2导通,继电器K动作,完成对第6通道的遥控操作。
注意事项 1.发送遥控器1~15键为15个通道操纵键,第16键为接收公用键,它只有当各接收组件解码IO输出端均独立驱动一路终端时,群呼功能才能实现。2.解码IC第17脚IO端的跳接设计为插针跳接确定互锁存/非锁存遥控方式,当多组应用时,一些通道如1、2可以设置为互锁方式,而3、4通道又可以设置为非锁方式进行混合型遥控,但每一组接收板的2个通道不宜锁/非混用。3.遥控系统必须确认接在同一相220V电灯线上,以保证可靠操纵。4.发送与接收两点间尽可能避免有220V的电力电容器存在,否则将缩短有效传送距离。
达华电子厂供:载波遥控器配2通道带继电器组件158元/套,分体接收板每组2通道80元/块,邮费每次10元。地址:广东省中山市小榄镇逢春街42号,邮编:528415(蔡凡弟)