一、用途
“电话卫士”电路主要有三个特点:一是有阻止并机盗打功能,即所谓防盗功能;二是具有电话线路监视功能,这一功能虽然不能阻止高智能的电话盗用者,却可以将这一现象检测出来,以采取必要的措施;三是可以显示电话机是处在摘机状态还是挂机状态。
二、电路简介
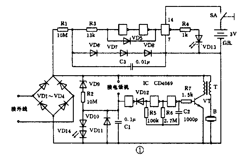
附图是“电话卫士”的电原理图。二极管VD1~VD4组成自动导向电路,使电话线上的直流电压正确地接到电路的正负极上。稳压二极管VD9、电阻R2、二极管VD10及发光二极管VD14组成检测电路,监测线路上是否有盗用者在打电话。如果有人在盗用线路,振荡器将会工作,振荡信号通过变压器发送到线路上,干扰盗用者使其无法正常通话。同时压电陶瓷片B鸣叫,发出报警信号,而自己的电话机工作时却不会受到影响。

图1的上半部分是一个带自锁的线路监视电路。当线路被切断后,发光二极管VD13亮。即使线路再被恢复,发光二极管仍然不灭。它提示线路曾经被切断过。只有把电源开关SA关断一下再接通,才能恢复正常。电路中使用了两节5号电池,主要是完成这个功能。在正常情况下电路耗电极小。
在电话机正常工作时,发光二极管VD14亮。如果电话机没有挂好,发光二极管VD14不会熄灭,提醒您挂好自己的电话机。
三、制作
按照附图及附表所示准备好元器件就可以制作了。其中三极管的反压BVceo应大于60V,稳压二极管的稳压值要符合要求。变压器使用的是晶体管收音机输出变压器,变压器的次级接三极管,初级接压电陶瓷片,中心抽头不用。

元器件只要安装正确,不需调试就可使用。如果想了解一下电路的性能,可在接外线的两端接上一个10~30V的直流电源,然后把电路的3V电源接通。调节10~30V直流电源,当电压下降到18~20V时,电路报警,压电陶瓷片发声。如果将外接电源去掉,发光二极管VD13亮,即使再接上外接电源,发光二极管VD13仍然亮,只有关闭开关SA,电路才能复原。(周海)