硅光电池是一种将光能转变为电能的半导体器件,它的形状有圆形的,有正方形的。单片硅光电池蓝色的一面受到光的照射时,可以产生0.3~0.4V的电压。硅光电池的面积越大,输出的电流也越大;硅光电池受到的光照越强,产生的电压越高,电流也越大。面积较小的硅光电池虽然不能产生很大的能量,但用它来做光电控制却是简单而实用的。
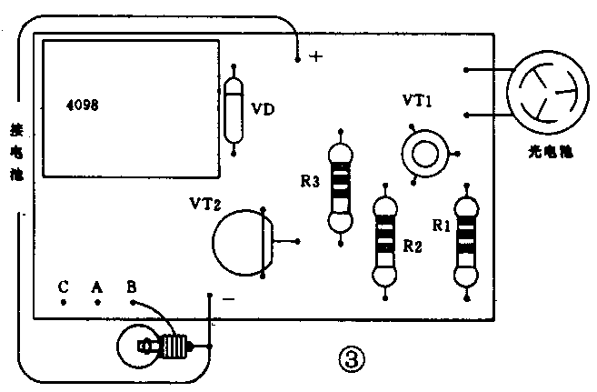
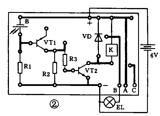
图1给出了光电控制小灯泡所用的元器件,初学者可以对照实物和电路符号来辨认它们。图2是55mm×25mm的光电控制小灯电路板安装图,可以按照它制作电路板。图3是电路板安装实物图,制作时可以将它与图2进行对照装配元器件。图4是光电控制小灯的电原理图。


在制作中要注意硅光电池的正负极,硅光电池很脆,使用时一定要小心,不要损坏。三极管和二极管的管脚一定要辨认清楚;还要认清电阻器的色环;继电器的工作电压应是6V。
试验电路时,当硅光电池受到较强的光照时,继电器不动作,小灯泡不亮;如果外界的光线较暗,继电器会吸合,小灯泡被点亮(小灯泡不要照到硅光电池上)。
如果你做好了这个电路,还可以灵活地改变它的用途。例如,将它变为一个亮光控制电路,当光线较亮时,让小电动机转动等。这就需要你自己开动脑筋,动手制做了。(周海)

