一、实验所用器材
1.长15cm、宽10cm、厚1.5~2mm的胶木板(也可用塑料板、有机玻璃板、三合板等)一块。
2. 2.5V小灯泡两只。
3. 5号干电池两节,两节电池夹一个。
4.M3×12螺钉15个;M3×10平头螺钉2个;M3×30螺钉2个;M3×6螺钉一个;配套的M3螺母33个(以上螺钉螺母应选用表面发亮或电镀的,不要用黑色的,因本实验是利用螺钉、螺母接通电路的);M6×35螺钉2个,M6螺母2个。
5.长10cm、宽1cm、厚0.5mm的薄金属片2条;长9.5cm、宽7.5cm、厚1.5~2mm铁皮一块。
6. 0.5mm漆包线若干;连接用导线(单股铜芯塑料线,线芯直径0.3~0.5mm)约1m。
7.橡皮筋一个(或细拉簧一个)。
二、继电器部件制作方法
1.制作电磁铁
制作电磁铁包括铁芯的制作、线圈架的制作和线圈的绕制。具体内容与本刊1999年第8期介绍的制作直流小电铃的方法一样,本文不重复介绍。
2.制作继电器衔铁

按图1所示用1.5~2mm的铁片制作继电器衔铁。在铁片上钻3个3mm的圆孔,其中1、2两孔打好后用小圆锉锉大一点(使小孔能在M3螺钉上灵活滑动),在孔3中拧上一个M3×6的螺钉,在螺钉下压上一根4cm左右的细引线(用多股塑料线中的3~4根细铜丝拧成)。
3.制作衔铁支架

按图2锯一块铁片并按图示位置打4个直径3mm的小孔,注意孔3、4的距离应和衔铁1、2两孔的距离相等,孔5、6为固定支架孔,距离不严格。打好孔后按虚线位置弯成直角。
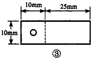
4.输出接触片制作

按图3剪两片0.5mm厚的薄铁片,在薄铁片上打一个直径3mm的圆孔,然后按虚线位置弯成直角。
5.制作小灯泡固定片

(1)按图4剪两片0.5mm厚的薄铁片,并在薄铁片上按图示位置钻两个直径3mm的孔。

(2)按图5剪两片0.5mm厚的薄铁片,在薄铁片上按图示位置钻一个直径3mm的孔,并按虚线位置弯成直角。
三、继电器的安装和调试
1.按图6把两节电池夹用平头(也叫沉头)螺钉拧好,并把电池夹正、负极引线拧在D1、D2两个螺钉上。

2.按图6所示位置把电磁铁拧好。
3.按图7把衔铁和支架组装好。

4.安装衔铁支架,让衔铁在距电磁铁铁芯2~3mm处,把衔铁支架拧在实验板上,如图6所示。
5.确定衔铁位置
(1)先在衔铁上套上一根橡皮筋(如用小拉簧,制作出的继电器会更美观),并在衔铁支架上的橡皮筋固定孔上系扣固定好。注意系好扣后对橡皮筋多余部分先不要剪断,待调试好整个继电器后再剪。
(2)给电磁铁线圈通上3V电源,衔铁应能可靠地被电磁铁吸引过去,否则应放松橡皮筋;断开电源,街铁应能可靠地回到T3限位螺母处。
6.安装输出接触片
按图6安装常闭与常开两块输出接触片,要求常闭接触片在电磁铁未通电时能与衔铁的接触点接触良好;常开接触片应在磁铁通电后与衔铁上的接触点接触良好。
7.安装小灯泡固定片
按图6把两只小灯泡固定在实验板上,固定时先安装图5所示的固定片,然后再安装图4所示的固定片,拧紧螺丝时应用手推着小灯泡使小灯泡后边的焊锡点与固定片接触良好。
8.按图6把整个电路连接好。注意电磁铁的一根线圈引出线(图中画箭头的)先不要拧在电池引出螺丝D1上。
调试方法:装好电池,小灯泡EL1应发光,否则应检查EL1引出焊片与灯泡后端的焊锡点(灯丝的一个引出头)接触是否良好。再查看街铁接触点与常闭引出焊片是否接触良好,否则可调整常闭接触片并拉紧橡皮筋。
这时,可把图6中带箭头的电磁铁线圈引出线和D1螺钉接触,EL2应发光,EL1应熄灭。若EL2不亮,应把常开接触片与衔铁触点靠紧一些(不需要拧动固定接触片的螺丝,用手湾一下铁片即可),还应检查一下衔铁支架上的T1和T2限位螺母位置是否合适。
如果EL2发光后EL1也不熄灭,则应调整小常闭接点与衔铁接触点的压力。直到断开电磁铁线圈电源时EL1亮,接通电磁铁线圈电源时EL2亮、EL1熄灭为止。这时一个简易的电磁继电器就做好了。为了增加灯泡的美观,可在小灯泡玻璃上涂上红、绿颜色(油漆、水彩等),不断地接通、断开电磁铁线圈的电源,红、绿灯便会交替发光。
本实验收获:
(1)通过制作简易继电器加深了对“通电线圈产生磁场”的认识。
(2)红灯、绿灯交替发光,是我们经常要用到的电路切换原理。(沈长生)