在栽培果树时,人们常将两株不同种类的苗木结合在一起、使新的植株具有更加优良的品质,这种方法就是“嫁接”。在制作功放电路时,人们也可以把电子管(胆)与晶体管(石)两类有源器件应用在同一电路中,柔胆劲石,二者优势互补,相得益彰,这类功放被称为胆石混合式功放电路。首创胆石混合式功放的人,是很有胆识的。依据电子管与晶体管在电路中所起的作用不同,胆石混合式功放可分为前胆后石和前石后胆两种类型,在实际电路中,多数混合式功放采用前胆后石型,即电压推动级采用电子管,而功率输出级由晶体管担任。这样搭配的优点是:充分发挥电子管动态范围大,线性好、失真小的特点,电压放大电子管本身耗电较小,不会明显增加电源变压器的负担;功率输出级采用晶体管OTL或OCL电路,输出级通过电容器或直接与扬声器耦合,频响宽阔,且可省去体大笨重、难绕且价高的输出变压器;功放输出级采用公0dB无负反馈形式,使整机具有良好的瞬态特性。影响音质的瞬态互调失真TIM降至最低。
现在,胆石混合式功放已成为一种很流行的功放,不仅受到众多音响烧友的青睐,也得到一些专业生产厂家的重视,相继推出了性能和工艺都很不错的混合机,如声雅、高士、至高等名牌。笔者对混合机也有很浓厚的兴趣,潜心研究,多次实践,找出以下几款胆石混合式功放电路,具有电路简单,元器件节省,性能优越,成本低廉,很适宜音响烧友制作,现介绍如下:
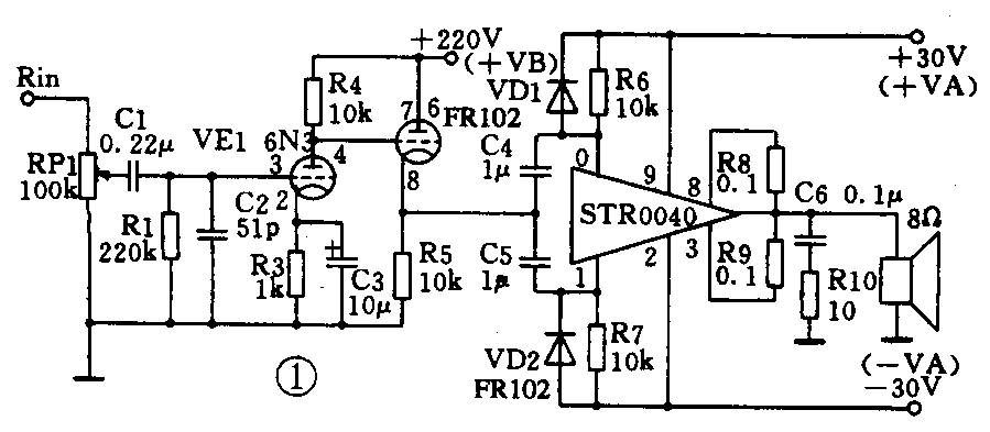
一、简洁至上的胆石混合机

电路见图1所示。本机的R、L声道均由一只电子管和一块厚膜功放电路组成,其外围元件用得很少,本机无疑是很符合“简洁至上”原则的。电子管采用了高频双三极管6N3,6N3的一半担任电压放大,它提供整机所需要的电压增益,6N3的另一半接成阴极输出器形式,它虽然没有电压增益,但它的输出阻抗极低,具有很强的带负载能力,用来推动由双极晶体管组成的厚膜功放电路是很合适的。两个三极管直接耦合,以获得良好的频率响应。功率输出级采用三洋公司的厚膜功放电路STK0040,这是一种优良的功放模块。图2是它的内部电路,模块由一个恒压源偏置电路和两对互补达林顿复合管构成,其应用参数为:供电电压±30V;输出功率40W;非线性失真小于0.02%。由于模块内部的偏置电路稳定,两对互补达林顿复合管对称性良好,模块无需调整即可正常工作。前级电子管的屏极供电电压高达200V,其输出信号电压的动态范围很大。为保护功放模块不因输入信号幅度过大而损坏,电路加入了保护二极管VD1、VD2。当前级电子管的输出信号幅度低于30V时,保护二极管截止,信号完全加到功放模块输入端,功率放大后输出。当前级电子管的输出信号幅度高于30V时,保护二极管导通,信号幅度被箝位在30V上,功放模块不会损坏。这两只保护二极管采用普通快恢复二极管,如FR102即可。

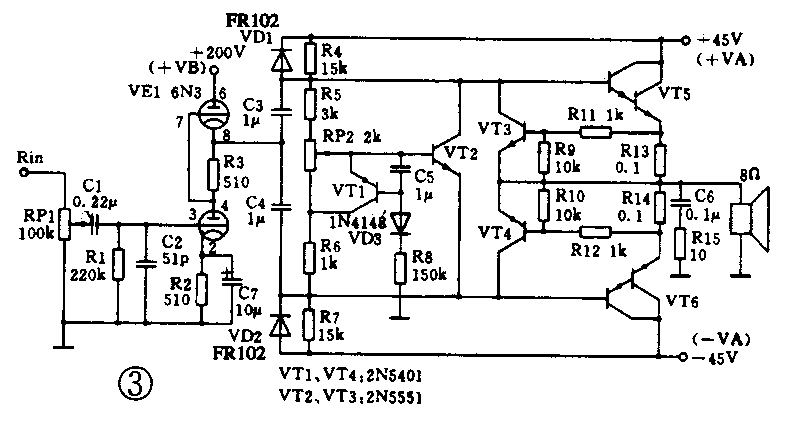
二、超甲类胆石混合机

超甲类胆石混合机电路如图3所示。与图1电路相比,图3电路要复杂一些,但它具有更为优良的电声性能。输入级同样采用一只6N3电子管,但它接成了SRPP电路,即所谓的并联推挽电路,具有失真小、频响好、输出阻抗低的优点。特别是它的非线性失真系数随着频率的升高而降低,这使得它们高频特性极为优良。SRPP电路的应用日益广泛,现在已成为胆机和胆石混合机中的优选电路。SRPP电路的电压增益与共阴接法的单级三极管相近,虽多用了一只三极管,但换取更优越的性能,花点代价是值得的。功放后级采用OCL电路,由一对大功率互补达林顿复合管构成。管子的型号为MJ11032和MJ11033,是美国MOTROLA公司生产的音响名管。音色温暖,颇具胆机韵味。最高电压120V,最大输出电流50A,耗散功率300W,特征频率为30MHz,可见其各项参数是很高的,这也是这对管子在音响界经久不衰的原因。用这对管子装制50W的Hi-Fi功放机是非常适宜的。本电路的另一特点是采用了超甲类偏置电路,功放管的偏置电压是可变的,它随着输入信号的增大而升高,从而使功放管总是处于导通状态,使电路既有甲类功放无交越失真和开关失真的优点,又克服了甲类功放静态电流大效率低的缺点。本机超甲类偏置由小功率PNP管VT1构成。在各种超甲类偏置电路中,这是应用最早、电路简单而效果较好的一种。小功率NPN管VT2组成功放管的恒压源电路,VT1的ce结等效一只可变电阻并联在VT2的下偏置电阻上。当输入信号电压增大时,VT1的be间电压增大,VT1的c极电流增大,VT1的内阻减小,VT2的并联后的下偏置电阻减小,使得VT2的ce间电压增大。反之,当输入信号电压减小时,VT2的ce间电压也减小,从而完成超甲类偏置功能。三极管VT3、VT4组成末级功放管的过流保护电路,当功放管VT5、VT6的射极电流增大时,射极电阻R13、R14上的压降也增大,R13、R14上的电压大于0.7V,VT3、VT4导通,使功放管VT5、VT6的输入端接地,从而保护VT5、VT6不被损坏。本机的供电电压为±45V,最大不失真功率可达50W以上。需要指出的是:MJ11032和MJ110313应选用美国原厂产品,而市场上出售的印有“MFXICO”字样的管子,使用效果较差。
三、采用UHC-MOS 管的胆石混合机
高级功放电路的输出级,有很多采用了V-MOS管来担任。与双极型晶体管相比,V-MOS管的优点是:输入阻抗高、线性好和负温度系数,然而V-MOS管也有跨导小,输出电流不够大的缺点,在大功率输出时,往往要采用多只V-MOS管并联,这样既增加了成本,也给选管带来了一定的难度。如果在输出级采用UHC-MOS管,则可以解决上述问题。
UHC-MOS管是一种新型功率器件,是超大电流场效管的英文缩写,它有很高的跨导和很大的输出电流,额定输出电流可达数十安,而瞬时峰值电流在100A以上,用这样的一对管就能组成高功率的功放输出级,而性能远优于双极型晶体管和V-MOS管功放。
UHG-MOS管最早应用在日本项级的天龙功放中,现在应用日益广泛,但由于该管起步较晚,目前仍存在以下问题:管子的输入电容较大,一般为数千pF,前级应能输出较大的电流,作低阻推动,不然则会影响整机的高频响应;和常用的V-MOS管不同,UHG-MOS管是一种正温度系数器件,漏极电流随温度的升高而增大,这对它的偏置电路提出了更高的要求,偏置电路必须有良好的温度稳定性;大部分UHC-MOS管产品是N沟道的,与之相配对P沟道互补管还很少,难以组成全互补输出电路。

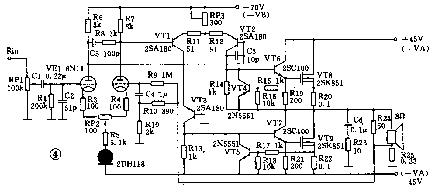
笔者设计的采用UHG-MOS管的胆石混合机,电路如图4所示,为一全对称OCL功放电路。电子管6N11担任差分例相级,6N11是当前深得好评的音响靓管,它的高频特性优于6N3。为提高差分倒相级输出的对称性,用恒流管2DH118代替阴极电路里的公共电阻。晶体管VT1、VT2担任第二级差分式电压放大器。由于这两只管子的集电极分别是对地和-45V负电压输出,在VT1的集电器回路里串接了一只晶体管VT3,以使两只差分管的直流电位平衡。晶体管VT6、VT7为推动级,UHG-CMOS管VT8、VT9为输出级,晶体管VT4、VT5为功放级的过流保护管,整个电路上下对称,采用的器件完全一致,这种全对称OCL功放电路具有对称性好、失真小、选管容易的特点。本机还采用了恒流驱动方式和无源零点校正新技术,改善了整机的性能。电位器RP1用来调节整机的对称性,RP2调节功放管的静态电流,本机功放管的静态电流为200mA。UHC-MOS管采用了东芝的2SK851,这是比较常见的UHC-MOS管,它的最高电压为200V,漏极电流30A,峰值电流可达120A,漏源导通电阻为0.07Ω,性能的确不同凡响。需要注意的是,这种管子的离散性较大,UGS值相差较大,在使用时应严格挑选。

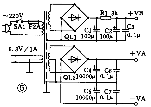
这三款功放的电源电路均如图5所示。电源变压器采用E型、C型或环型不限,但电源变压器应有足够的容量。对图1电路、容量应不低于300W;对图3、图4电路,容量应不低于500W。变压器的初级为220V绕组,次级分为电子管灯丝、电子管高压,功放级对称电压三个绕组。灯丝绕组,三款功放均为6.3V/1A,高压绕组,第一与第二个电路均为200V,第三个电路为70V,电流均为20mA。功放供电绕组,第一个电路供电电压为±30V/4.5A,第二与第三个电路为±45V/5A。各绕组的圈数和线径,读者可参阅有关书刊自行设计,这里不再赘述。(刘喜甫 刘铁军)