本门铃主要部件摄像头是采用CCD全天候黑白摄像头,分辨率大于380线,图像信噪比大于45dB,功耗小于0.5W。它具有电子防盗功能,只要门体有轻微碰撞、敲击都可以报警,还可以和家中的彩电、录像机连接,主人可使用彩电遥控器将其小监视器的画面切换到大彩电观看,更清楚地监看来访人面孔,决定是否接待。主人不在家时可以切换到录像机上,录制来访人和盗情画面。
此门铃可分有线、无线两类:有线类是用电缆连接控制接线端子和被控制接线端子而构成;无线类是加装无线发射组件和无线接收组件而构成。
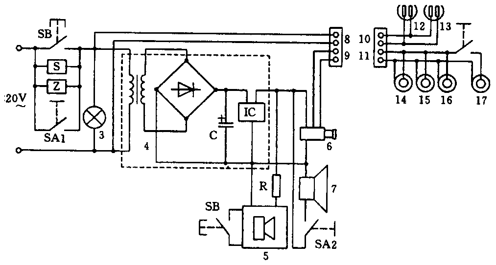
电视监控门铃状态的实现 家中有人时将附图中的SA1、SA2、SB都设置成开路状态,整个装置无电压。如有人来访时,来访人按动SB(SB为两路按钮开关),延时模块1启动,监控门铃系统开始通电工作,门铃响三声后停止工作,摄像头6和照明灯3继续工作。延时模块1工作1~2分钟后,整个系统停止工作。

电子防盗装置的实现 家中无人需要防盗时,将电路图中的SA2闭合,SA1开路。如有人碰击门体,微动传感器启动,摄像头6、录像机电源插座13通电,监控系统工作,警笛7发音,录像机录像,延时模块1工作1~2分钟后,整个系统停止工作。当有人来访按动SB,门铃、警笛响,摄像头、录像机也同样工作,来访人便知家中无人。
电视监控状态的实现 当门外异常情况需要监看时,将电路图的SA1闭合,照明灯3、摄像头1、监视器电源插座12通电运行,监控系统工作。
需要此门铃者请参阅本期封二广告。(任中涛)