如果您家的电扇不带遥控功能,不妨按本文提供的电路自己动手制作一个电扇遥控插座,即可方便地实现遥控操作。而且,电扇本身不必作任何拆动和改制,只需将电扇原有的电源插头插在本插座上,而将本插座的电源插头插在市电的插座中,电扇便具有以下功能:1.电源的通和断;2.普通风弱、中、强3挡的选择;3.阵风弱、中、强3挡的选择。另外,它采用单按钮操作,避免了多按钮遥控操作中需要一边向前看着遥控对象(负载)的运行和变化情况,一边还要低头看着发射器的面板以便寻找欲控按钮位置的麻烦。
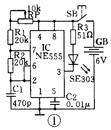
图1是单按钮遥控发射器,它的主体是由NE555构成的振荡电路,其③脚接红外发光二极管SE303,只要按压按钮SB,SE303便向外发射红外光,送给接收器。
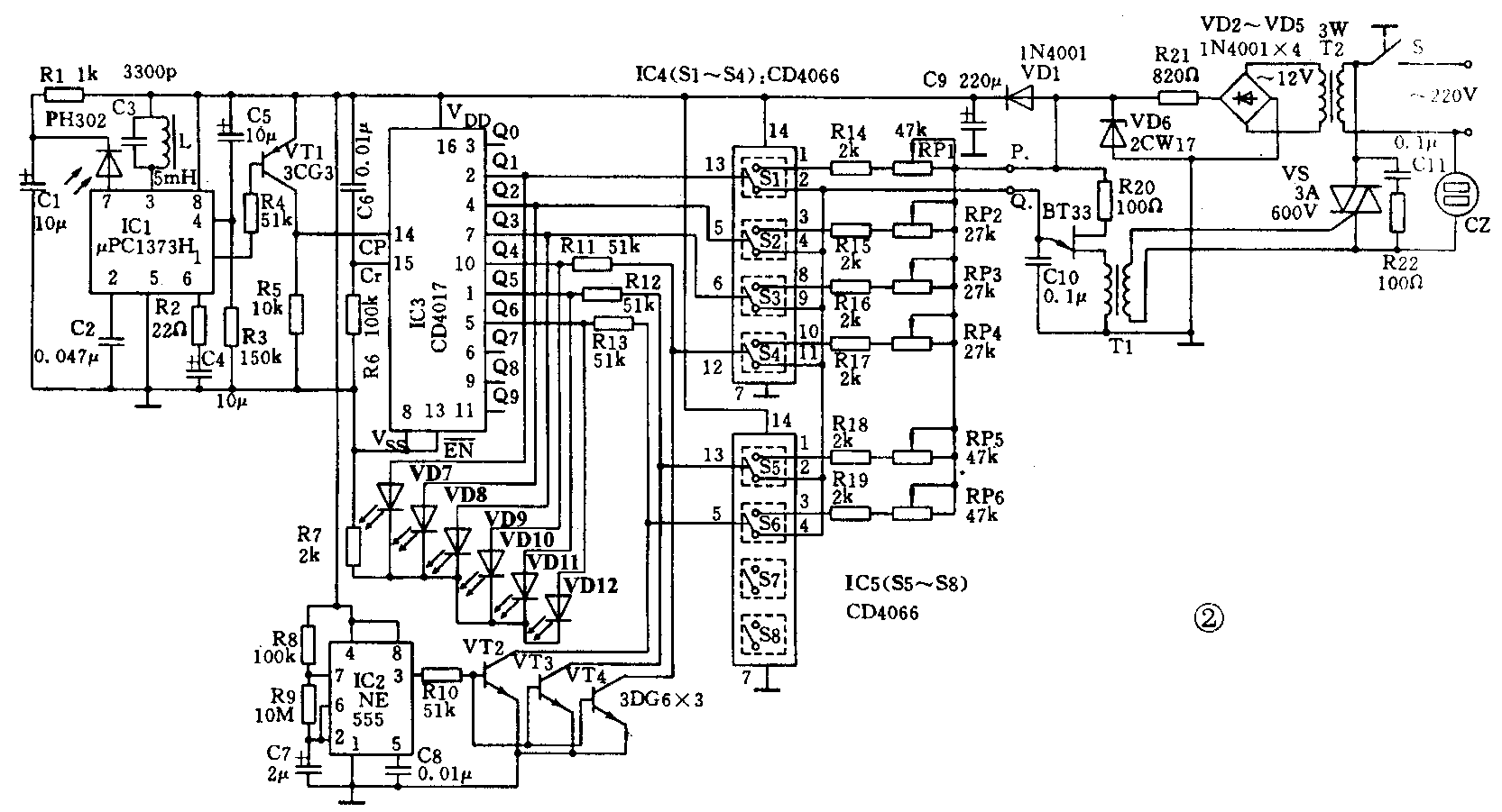
图2是接收器,电路中的IC1是μPC1373H,它是专为红外前置放大和信号处理而设计的集成电路。IC1的功能是:当它的⑦脚上外接的红外接收二极管PH302收到与谐振回路(L、C3)频率相符的红外光信号时,①脚输出即由高电位变成低电位。显然,按动一次图1中按钮SB,图2中IC1的1脚便出现一个负脉冲,使晶体管VT1的集电极出现一个正脉冲,即IC3(十进计数器/脉冲分配器CD4017)的计数触发端得到一个触发脉冲。另外,因为图2电路接通电源时,由C6、R6组成的微分电路已使IC3清零复位。所以可以根据对图1中SB被按压的次数选定IC3的某一输出端为高电平,例如,按压3次,则IC3的Q3端为高电平,而其它输出端均为低电平。Q3端的这个高电平使IC4(模拟开关电路CD4066)内的开关S3控制端加上高电位,故S3闭合,于是将电阻R16和电位器RP3串联的阻值接到由单结晶体管BT33构成的振荡器的P、Q二点之间,电源经过R16和RP3向电容C10充电,当C10上的电压达到BT33峰点电压时,BT33突然导通,C10通过BT33和脉冲变压器T1的初级放电,在T1的次级输出一个脉冲,触发双向晶闸管VS导通,使插座C2上的电扇得电运转。其运转速度由VS的导通角决定,P、Q二点间的电阻越小,导通角越大,运转速度越大。制作调试时,可使RP1~RP3的阻值依次减小,这样,当依次选择图2中Q1、Q2、Q3为高电平时,就会使IC4中的S1、S2、S3依次闭合,从而使电扇运行速度依次增强,它们分别对应普通风的弱、中、强3挡。Q4、Q5、Q6则分别与阵风弱、中、强3挡对应,阵风控制电压来自IC2(NE555),IC2接成超低频振荡器,阵风控制电压从IC2的3脚输出,经过限流电阻R10加到晶体管VT2、VT3、VT4的基极上,因此,当Q4、Q5、Q6中某一端,例如Q6,为高电平时,在IC2的控制下,VT3一会儿截止,一会儿导通,使加在对应的模拟开关S5控制端上的电压一会儿为高电位,一会儿为低电位,因此S5处在一会儿闭合,一会儿断开的状态,从而使电扇或运转或停转,产生了模拟阵风的效果。这3挡阵风的强弱是由电位器RP4~RP6的阻值大小决定的,制作调试时,使RP4~RP6的阻值依次变小,使Q4~Q6依次与阵风弱、中、强3挡对应。IC3的Q0和Q7~Q9输出高电平时,由于这几个端子空着未用,而S1~S6均因无控制电压而断开,故BT33触发电路无脉冲输出,VS关断,电扇停转,利用这几挡可实现关机。
VD7~VD12是普通风和阵风的选挡指示灯,由于任何时刻这些指示灯只能有一只被点亮,所以它们共用一只限流电阻R7。S为电源开关。
图2中VS触发电路的电源是由220V市电经电源变压器T2降压、VD2~VD5整流、稳压二极管VD6削波后得到的隔180°过零一次的与市电同步的电压,其波形近似为梯形。前级电路的直流工作电压由电容C9将梯形波同步电压滤波后获得,为了不影响BT33触发电路与主回路的同步,用二极管VD1保证前级电压与同步电压隔离。
两块模拟开关电路(IC4、IC5)CD4066只用其中的6个开关。脉冲变压器T1为市售成品。所有元器件的型号、规格和参数都已标注在图中。
调试工作有两条:第一、使红外发射和接收频率一致,调试方法是:调图1中的电位器RP,使得依次按压SB时,图2中的VD7~VD12能依次点亮即可;第二、风扇调速:分别对RP1、RP2、RP3的阻值进行调节,以改变电扇普通风各挡风速。不必测量电扇转速,根据个人主观感觉,使Q1、Q2、Q3 3挡分别达到自己满意的风速即可。用同样办法,调节RP4、RP5、RP6,使Q4、Q5、Q6依次为弱、中、强3挡阵风。
将接收器固定在电扇立柱上。红外接收管及VD7~VD12要露在机壳外面,面向使用者方向。长时间不使用插座时,应关断电源开关S。发射器不用时不耗电,接收器用的都是CMOS电路,静态耗电很小,是一种节能型装置。(迟健男)

